Streamlined Locomotives of the Swing Era
Streamlined Locomotives of the Swing Era
Hi Lindy Hoppers!!!
Sophisticated Elegance Swinging Down the Line
streamlined locomotives facebook signup graphic
Join Us on Facebook

Welcome, Search Engine Folks!

The following links will direct you to topics discussed on this page. Make sure that you check out the large collection of Design Patent Drawings that we have found for most of the locomotives -- we don't think that you'll see them anywhere else on the internet!

No matter what you are looking for, we suggest that you download a free copy of "Clear Track Ahead", a marvelous color insert to the December, 1939 issue of Popular Mechanics. This lovely article has fantastic color pictures of all the streamlined trains that we have come to know and love.

Article on streamlined trains from the December 1939 issue of Popular Mechanics

Clear Track Ahead!
Click here to download the full text of the "Clear Track Ahead" article
From the December, 1939 issue of Popular Mechanics
Click to enlarge the photo


After you have looked at that glorious article, here are the remainder of your options:

In addition to railroad stuff, we have a Calendar of Swing Dancing in DC, a Directory of Vintage Clothing Stores and a Guide to 1940s Collectibles. Thanks for tuning in! Feel free to Contact Me if you have questions or want to share photographs and railroad stories with the rest of the readers.



STREAMLINING
Effects of Streamlining
Streamlining
...making a shape smoother and more sleek

This page is devoted to the magic and romance of the fabulous Streamlined Trains of the 1930s. During the 1920s, the advent of aviation and the graceful shapes of airplanes spread into every aspect of life. A whole new industry devoted to enhancing the exterior appearances of machines grew up. It was called Industrial Design and its practioners were called "Beauty Engineers."

Article on the rise of industrial design from the October 1932 issue of Popular Mechanics

The Beauty Engineers
Click here to download the full text of the "Beauty Engineers" article
From the October,1932 issue of Popular Mechanics
Click to enlarge the photo


Fast or slow, all kinds of things were streamlined, even objects that remained stationary such as toasters, ice crushers, mimeograph machines, pencil shrpeners, cream separators, and the like -- up to and including buildings!


SLOW MOVING VEHICLES

Streamlined Tricycles from the 1936 Sears Catalogue    Streamlined Tricycles Bert Anderson design Patent D-92,446    Streamlined Tricycles ad from the 1936 Sears Catalogue    Streamlined Tricycles Bert Anderson design Patent D-d100406

Streamlined Tricycles
We do NOT think that a Tricycle Could Attain Speeds That Require Streamlining
BUT-- Check out the "speed clock" in the left picture
Ads from the 1936 Sears Catalogue
Design Patent D-92,446 and D-100,406


STATIONARY OBJECT #1: The Pencil Sharpener

Raymond Loewy Pencil Sharpener   Raymond Loewy Pencil Sharpener Patent D-91,676
Just in Case Your Pencil Was Doing 200 mph

Raymond Loewy Pencil Sharpener Design Patent D91,676


STATIONARY OBJECT #2: The Cream Separator

McCormick-Deering Cream Separator Unstreamlined Version    Loewy design patent D-122,277 McCormick-Deering Cream Separator    McCormick-Deering Cream Separator after streamlining    Ad for the McCormick-Deering Cream Separator

Streamlining the McCormick-Deering Cream Separator
Albert Saratt and Raymond Loewy Cream Separator Design Patent D-122,277
Click to Enlarge


STATIONARY OBJECT(s) #3: Dentist Chairs, Parking Meters, Typewriter Stands

Henry Dreyfuss Dental Chair Design Patent D-132,542    Raymond Loewy Parking Meter Design Patent D-107,531    Otto Kuhler Typewriter Stand Design Patent D-103,549

More Stationary Objects about which the rationale for streamlining is doubtful...
Henry Dreyfuss Dental Chair Design Patent D-132,542
Raymond Loewy Parking Meter Design Patent D-107,531
Otto Kuhler Typewriter Stand Design Patent D-103,549
Click to Enlarge



ULTRA-STATIONARY OBJECT: Metal Building by the Bowman Brothers

Bowman Brothers Proposal for an all-metal building

Bowman Brothers Proposal for an all-metal building
From the March, 1932 issue of Popular Mechanics
Click to Enlarge


The owners of railroads were not oblivious to this fact and a period of widespread innovation in the design of trains began. It should be noted that the experimentation never went beyond luxury passenger trains. There is a small technical rationale for this-- the bulky form of the traditional steam locomotive creates a lot of "parasitic drag" (upper left in our examples above.) The end of the train also can create turbulence that affects speed and handling (upper right.)

Speed sets style

Speed Sets Style
From the September, 1935 issue of Popular Mechanics
Click to Enlarge


These scientific considerations aside, there is a deeper reason that the railroads began to experiment with streamlining: the diesel engine. Most railroads had extensive investment in coal - mines, long term contracts, etc, etc. Diesel powered trains would hit them two ways: (1)they would have to invest massive amounts of money to replace steam engines; and (2) the value of their coal properties would drop considerably. So, you will find that most of these experiments in streamlining were devoted to making steam trains faster - and most important -- attractive to upscale passengers. Here is a website that shows the major streamlined trains of the era in appropriate colors. (The drawings are a bit small)

Romance of the Locomotive    Grooming the Iron Horse

Romance of the Locomotive
..and Grooming the Iron Horse
Click to Enlarge

Popular Mechanics ran two articles that are of general interest. "The Romance of the Locomotive" (October, 1938) traces the history of steam propulsion while "Grooming the Iron Horse" (March, 1939) gives considerable insight into the problems associated with maintaining steam locomotives.

  • Click here to download "The Romance of the Locomotive"
  • Click here to download "Grooming the Iron Horse"

We begin this page with the Pullman Railplane, the Burlington Zephyr and The Union Pacific M-10000, the diesel powered trains that started the competition. The Zephyr was cheap, fast, and never failed to dazzle crowds wherever it went. It was even the star of a movie. The M-10000 was the inspiration for science fiction writers the world over.

We'll next move to the experiments in shrouding in which aerodynamic covers were placed over an existing steam engine. The early ones (the Hiawatha look like an inverted bathtub has been placed over the engine. Later versions (The 20th Century Limited and the C&O #490 are exampes of modified shrouding, both applied to the workhorse Hudson locomotive.

As time progressed, strealined locomotives were designed from the ground up, including the Pennsylvania Railroads S-1, GG-1, and T-1 as well as the C&O's M-1. (The GG-1 is an electric locomotive that served for more than 40 years -- the others were beautiful but dismal failures).

Diesel powered trains like The Super Chief became the norm until the end of the passenger train era. Don't look for any of this outside museums -- today's AMTRAK trains are just transportation, not travel.

This Website shows all the streamlined trains of the 1930s and gives more details.

streamlined locomotives facebook signup graphic
Join Us on Facebook



Zippy Little Non-Steam Streamliners

The Race to Bring the Streamliners to the Public



At the turn of the Century, the McKeen Motor Car Company of Omaha, Nebraska built self-powered railcars for use on routes with low density of trafic. They were advertised as "A Whole Train in One Car".

These cars have some aerodynamic features, but were constructed of heavy metal as opposed to the aluminum cladding of the true streamliners.


The McKeen Motor Car

Advertisement for the McKeen Motor Car
Click on to Enlarge it

These cars have some aerodynamic features, but were constructed of heavy metal as opposed to the aluminum cladding of the true streamliners. While later trains took their inspiration from airplanes, these cars were influenced by the Upscale transportation mode of 1900 - the Ocean Liner. Recently, this type of design has become trendy in a movement called "Steampunk." The definititive McKeen Car Website is run by Madison and Woody Kirkman. You should visit it to learn a whole lot more.


The Mckeen Motor Car showing the windsplitter    The Mckeen Motor Car showing the windsplitter    Interior of the McKeen Car

McKeen Car
Left: Closeup of the "Windsplitter"
Middle: William McKeen's Patent No 39,032 for the Car Body
Right: Interior of the McKeen Car showing the nautical theme "portholes"
Click on to Enlarge it

They were designed by William McKeen, an employee of the Union Pacific Railroad, the company was essentially an offshoot of the Union Pacific and the first cars were constructed by the UP before McKeen leased shop spacein Omaha, Nebraska. The UP had asked him to develop a way of running small passenger trains more economically, and McKeen produced a design that was ahead of its time. Unfortunately, internal combustion engine technology was not, and the McKeen cars never found a truly reliable powerplant. Most, although not all, McKeen cars had the distinctive "wind-splitter" pointed aerodynamic front end and rounded tail. The porthole windows were also a McKeen trademark, adopted allegedly for strength . A dropped central door, as pictured, was also present on the majority of the cars.


The McKeen Motor Ca and Trailerr

The McKeen Car and Trailer
Click on to Enlarge it

Two lengths, 55 and 70 feet, were offered; either could be fitted out with a large mail and express area ahead of the center doors, a smaller mail/express area, or the car could be all seats for a maximum capacity of 64 or 105 respectively. For routes in which it was advantageous to haul both freight and passengers, the McKeen Car could be equipped with a "Trailer". The Nevada State Railway operates one of the very last of the McKeen Cars.



The age of aircraft-style streamlining begins with an experimental gasoline-powered unit called the Pullman Railplane,

The Railplane caught the attention of the public and was soon found on magazine covers.


The Pullman Railplane    Railplane on the cover of Popular Mechanics February 1934

The Pullman Railplane
Cover of Popular Mechanics February, 1934
Click on to Enlarge it

The Railplane was designed by Stout Engineering Laboratories, Inc. Dearborn, Michigan and built by Pullman-Standard in 1933.


William Stout Railplane Original Design, Patent No. 2,093,579    Pullman-Standard Railplane Refinement, Patent D-100,002   Pullman-Standard Railplane Refinement, Patent No. 2,056,224   Pullman-Standard Railplane refinement, Patent No. 2,037,765

Design of the Railplane
William Stout Original Design, Patent No.2,093,579
Pullman-Standard Refinements on Railplane Design, Patents D-100,002, 2,056,224, and 2,037,765
Click on Either Photo to Enlarge it
Click here if you want to learn how to get Free Patent Drawings

William Stout was a prolific writer and had initially made his name by applying airplane construction techniques to automobiles; (click here to download his 1932 article on this subject.) In 1934, Stout wrote an article about bringing aerodynamic principles to railroading; click here to download a free copy of this article. In addition, you may also download a copy of the directions for making a model railplane.


William Stout on Design of the Automobile Popular Mechanics September 1932    William Stout onaerodynamics and railroading Popular Mechanics February 1934    Plans for a Model RailplanePopular Mechanics September 1932

William Stout on Applying Aerodynamics to Autos and Railroading
Click on to Enlarge

The self-propelled car had an aluminum body, 60' in length, and was powered by two Wankesha 160 h.p. gasoline engines, reaching speeds of 90 m.p.h. It was exhibited at the Chicago World's fair 1934 and then leased to the Gulf, Mobile & Northern in 1935 for service between Tylertown and Jackson, Mississippi. The railplane is principally known as a test vehicle although it saw some small commercial service.

Moving on...

Feeling the effects of the Depression and declining business, America's railroads (in the 1930s) were looking for ways to reinvigorate passenger travel. As Ralph Budd, president of the Chicago Burlington & Quincy, later explained, railroads had to continue running trains on short routes to handle mail and baggage "whether or not anyone rides the trains." After seeing GM's powerful diesel engines, Budd concluded that what the railroads needed was a new kind of train that was fast, convenient, ultramodern and luxurious enough to fire the public imagination. The Union Pacific Railroad also saw the two exhibits and came to similar conclusions. A race was on to see which of the two railroads would be the first to develop an ultramodern diesel passenger train.

With the engine technology of the day, the new trains had to be lightweight. To get the most out of the available power, the trains were streamlined. The Union Pacific selected the University of Michigan to find the best aerodynamic shape while CB&Q turned to M.I.T.. The new designs looked like nothing else that had ridden the rails. They looked more like Buck Rogers's space ship than a train. People were tired of living in the Depression and they were ready for a change. These radical new designs, no doubt, capitalized on it.

Both companies turned to General Motors to supply the power plant, but, they selected different car builders. Union Pacific used to the established Pullman Company to build their cars. Like the Railplane, the UP train was constructed out of aluminum. In the other corner, CB&Q looked to a new comer on the railcar scene, Edward G. Budd Manufacturing Company (no relationship to Ralph Budd). Budd had been producing auto-bodies before the Great Depression; however, with business down, they decided to diversify and construct a light weight, stainless steel railcar. They finished their first coach in 1932.

When the Zephyr rolled out, it was an immediate media hit, as shown in a 1934 article in Popular Mechanics entitled "Wings for the Iron Horse". Within a few weeks, "Zephyr" and "Diesel" became synonomous, especially in advertisements.

Article Wings of the Iron Horse Popular mechanics August 1934    Ad featuring the Zephyr as icon for Diesel

Media reaction to the Zephyr
"Wings of the Iron Horse" from the August, 1934 issue of Popular Mechanics
Ad for Diesel training, Popular Mechanics May, 1935 Click to Enlarge

You may download the complete version of these materials:

  • Click here to download "Wings of the Iron Horse
  • Click here to download a compendium of ads featuring the Zephyr

The stainless steel coach was made possible because the Budd Manufacturing Co. had developed the first successful method of welding stainless steel only a few years earlier. Prior to Budd's innovation, stainless steel was used only for cutlery and surgical instruments. Here is an article from Popular Science that illustrates the technology for building stainless steel cars and how it had evolved from 1932 to 1947.


Popular Science February 1947 cover   Popular Science article on building streamlined railcars
Building the Streamliners With Advanced Technology
From the February 1947 Issue of Popular Science
Read the whole article
Click on Either Photo to Enlarge it

While Pullman was able to accelerate the construction of the UP train, General Motors was unable to deliver a diesel power plant on time. So, to win the race against the CB&Q, the Union Pacific decided to use a distillate (gasoline) engine instead. The M10000 was delivered to the UP on February 25, 1934. General Motors was able to complete a diesel electric power plant for CB&Q's later delivery date. CB&Q received the Zephyr in April, 1934. Both trains were actually three car articulated motorcars, but that hardly mattered to the public. The new trains were immensely popular.




The Burlington Zephyr

The Burlington Zephyr

My Model of the Zephyr



The Flying Yankee



The Boston and Maine Railroad bought a trainset that was very similar to the CB&Q Zephyr called The Flying Yankee and operated it into the 1950s.

The Flying Yankee from the May, 1935 issue of Popular mechanics

The Flying Yankee
From the May, 1935 issue of Popular Mechanics
Click to Enlarge

The train still exists and is being restored! You should take a look at the Flying Yankee Website to learn more about the train and make a donation to get this beautiful streamliner back on the rails!

The New Haven Comet from the May, 1937 issue of Popular mechanics    The New Haven Comet from the July, 1935 issue of Popular mechanics

The New Haven Comet
Click to Enlarge

The New York, New Haven and Hartford Railroad operated a similar train called The Comet



The Union Pacific M-100000



On our way home from the Reading Air Show, I was very fortunate to find this little lithographed tin train:

Marx M-10003 Lithographed Tin Train Model
The M-10003 Mail Train, "City of Salinas" [or "Little Zip"]
by the Louis H. Marx Toy Company c. 1934-1935


This is a wind-up model of one of the the first "streamliners" to be placed in regular service, the Union Pacific M-10000 "City of Salinas." This is a very lovely and historic toy that is the brainchild of Louis H. Marx, the man who kept kids happy for generations. This is a nice toy for a child between 6 and 10 because it is virtually indestructible. For a lithographed tin toy, it has a surprising amount of detail and is in approximately the correct proportions as the original. Here is a photo of Mr. Marx and some ads from the 1937 Sears Catalogue that show models of the M10000

Louis H. Marx, Time Magazine Cover, Dec 12, 1955    Toy Train Page from the 1937 Sears catalogue    Closeup of ad for the M10000 in the 1937 sears catalogue

Louis Marx and Toys based on the M10000
Marx and Santa Claus on the cover of TIME Magazine, December 12, 1955
Click to Enlarge

However, as little boys get older than 10, they start to notice that the toy does not have the amount of versimilitude that they would expect, especially if they could go down to the railyard and see the thing "in the flesh" as it were.

Our reader Roger was kind enough to send us some photos of his Lionel version of the M-10000. He also offers this very interesting tidbit:

"... Lionel made two versions of the M-10000 in 1935 and 1936. In 1935 they misspelled "gauge" on the name plate. This is a 1936 version. ..."

Rogers 1936 Lionel M-10000      Rogers 1936 Lionel M-10000

Roger's 1936 Lionel M-10000

Click to Enlarge


Details enough to please the "big boys" from ages 10-75 may be found in a precision die cast "O-Scale" model offered by a German Company (for only $1,000 US), as shown below:

Model of the M-10000, head end

Model of the M-10000, car diaphragm   Model of the M-10000, beavertail

"O" Scale Model of the Union Pacific M-10000 from Sunset Models
Is This Enough Detail For You Older Boys?


Formally known as "The City of Salinas", this train quickly became known as "Little Zip" because it could be seen whizzing along at over 100 mph powered by a 600 hp spark ignition power plant (similar to an auto engine, but much bigger...) It represented the pinnacle of aerodynamic design for 1934. As shown in the Marx toy model, this was originally a 3 car train.

While on display at the Chicago Century of Progress Exposition in 1934 a sleeper Overland Trail was added. All the cars werre permanently attached to each other and gap between the cars was covered by an insulated leather and rubber "diaphragm" -- from inside the train, it appeared to be one long room from the Head Car to the streamlined "Beavertail" -- all of the cars had motors, so there was no "locomotive" -- only a front car where the engineer steered the train. Here is the Patent Diagram for the M-10000


Patent Diagram for the M-10000   Adams M10000 Patent 2056228   Adams M10000 Patent 2039535

Patent Diagrams for the M-10000, No. 2,056,228 and 2,093,535
Click to Enlarge the Diagram
Click here if you want to learn how to get Free Patent Drawings

Both railroads embarked on a massive publicity campaign, sending their trains to newsworthy sites. Here is the M-10000 at the site of Boulder Dam, using the temporary construction railway and not the regular commercial right of way. VIPs were carried directly to the site of the dam construction and even into the gigantic penstock tunnels. This was posssible because the train was small and light. Much of the right-of-way covered in this boulder Dam visit is now underwater. The CB&Q Zephyr also traversed this route as it starred in the 1930s film "Silver Streak."

UP M-10000 Streamliner at Boulder Dam

The M-10000 "City of Salinas" at Boulder Dam
c. 1934-1935


Both railroads were unsure of what the new trains could do or how reliable they were. After the initial fanfare died down, the high speed trains were put into service on relatively flat, lightly traveled, short distance runs that could easily be completed in a single day. In such a fashion the trains were given the opportunity to prove themselves, but if they were to fail, it would not be a catastrophic disaster. The streamlined trains instantly became a symbol of Progress.


Comet on the Rails from Popular Mechanics November 1935    Advance of Diesels from Popular Mechanics June 1938

Advertisement featuring the M-10000 May 1934 issue of Popular Mechanics    M-10000 in an Illustration of Progress from a 1936 Textbook

The Iconic M-100000
(Top left) "Comet on Rails" article from Popular Mechanics November, 1935
(Top right)"The Advance of Diesels" from Popular Mechanics June, 193 (Bottom left) The M-10000 featured in advertising
(Bottom Right)The M-10000 as a symbol of Progress in a 1936 California Textbook
Click to Enlarge


The M-10000 was permanently enshrined in a ceramic tile plaque on the walls of the Industrial Arts Building of the Long Beach Polytechnic High School. The mural features the Greek god Mercury blazing a trail from night to day. In addition to the M-10000, a DC-2 is also shown. The motto is "Speed is the Greatest Factor in Modern Life", which was certainly appropriate to the aircraft and railroad industry of 1936 California. The plaque was created by Ivan Bartlet and Jean Swiggett with support from the Federal Arts project.


M-10000 in a mural in the Long Beach Polytechnic High School

The M-100000 Goes to School
The M-10000 as a symbol of Progress in a 1936 California High School
Click to Enlarge


The M-10000 was featured in an article in the November, 1935 issue of Popular Mechanics entitled "Comet on Rails." Click here to download a copy of this 1935 article. A later article called "The Advance of Diesels" provided a look into the technology and construction methods for these trains;Click here to download a copy of the 1938 article. Many advertisers wanted to link their product to speed, modernity and beauty and featured the M-10000 in advertising. Click here to download a compendium of ads featuring the M-10000.

The illustration on the right was taken from a 1936 Califonia Social Studies textbook entitled America's Progress in Civilization (Freeland & Adams, Scribner's 1936) that is dedicated to "... create a rich and many-sided personality equipped with practical knowledge, and inspired by ideals so that they can make their way and fulfill their mission in a changing society ...". You will note that the M-10000 is their choice to represent Progress in rail transport. The notion that the dirigible represented Progress is only one of the small errors in the book. You should see how they deal with slavery...

Illustration of M10000 from the Fisher Body Guild Magazine    Illustration of M10000 from the Fisher Body Guild Magazine

M10000 on the Cover of The Guildsman
The ultimate "Boys" Magazine -- the official organ of the Fisher Body Craftsmans Guild
Click to Enlarge

Here is an illustration that was part of a cover story on the advent of Diesel trains as published in The Guildsman, the official magazine of the Fisher Body Craftsmans Guild, an organization of Real Boys from the 1930s that was set up by General Motors. Click Here to read the whole article. At the time, GM was the largest supplier of industrial diesel engines and had a big stake in the switch away from coal/steam.

On balance, the M10000 was a mild economic success, but the Zephyr was a huge success. Before the end of 1934, eight major railroads had ordered high speed diesel powered trains.



Experiments in Shrouding

Concept Development

As the 1930s progressed, more and more designers began experimenting with shrouds for steam locomotives.


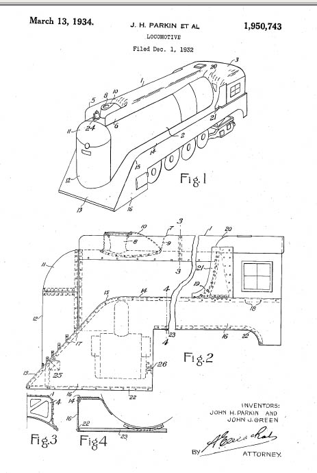
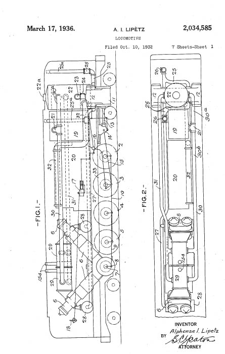
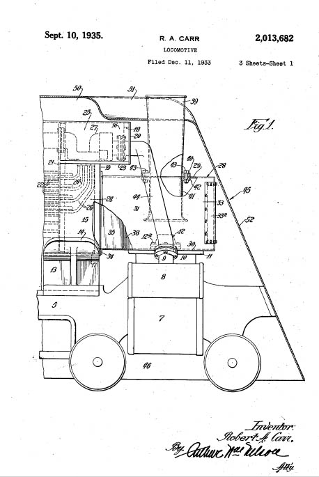
Parkin Locomotive Patent 1950743   Carr Locomotive Patent 2013682   Lipetz Locomotive Patent 2034585   Blunt Locomotive Patent 2177590


Evolution of Streamlined Design During the 1930s




The NYC Commodore Vanderbilt


Commodore Vanderbilt from the issue of  Popular Mechanics

Patent Diagram for the Commodore Vanderbilt 2108203   Patent Diagram for the Commodore Vanderbilt 2148078

Lentz and Kantola Patent Diagram for the Commodore Vanderbilt Shrouding No. 2,108,203 and No.2,148,078
Click to Enlarge the Diagram

Click here if you want to learn how to get Free Patent Drawings

The Commodore Vanderbilt was a very popular image. Here are some images from the 1937 Sears Catalogue of toy representations of this locomotive.

Toy Train Page from the 1937 Sears catalogue    1937 Ad for the Mickey mouse Circus Train    The Mickey Mouse Circus Train on the PBS program Antiques Roadshow

Toys based on the Commodore Vanderbilt
The Mickey Train was on Antiques Roadshow
Click to Enlarge

Of special note is the Mickey Mouse Circus Train that was recently valued at $10-$12,000 on the PBS Antiques Roadshow program. This is also part of our Magic Day page that discusses the enormous impact of spending about $10 in the Sears Catalog in 1937.




The New York Central's Mercury





New York Central Mercury

New York Central Mercury    New York Central Mercury

The New Your Central Mercury
Click to Enlarge

In the mid-1930s, the New York Central launched a new streamlined service focusing on speed and innovation. "Mercury," the name of the Roman god of messengers, was chosen for its connotations of speed. NYC selected Henry Dreyfuss as the designer, due to his affiliation with the Commodore Vanderbilt locomotive. Dreyfuss was best known for his work on consumer products like telephones, fountain pens and vacuum cleaners, and added stylistic details to the Commodore Vanderbilit, although [above] the actual design for the locomotive was done at Case-Western University by Lentz and Kontola. Dreyfuss was asked to coordinate the Mercury project in 1935 although his use of shrouding retains the aerodynamic shape of the Commodore Vanderbilt.

Here is how Dreyfuss described the development of his design:

"...The final designs were approved ... but when they were put out for bid prices were so out of line that the project was canceled. It was a heavy blow when I received the bad news, for the trains had been a major effort for our office. I decided to take the rest of the day off, and I boarded a train for the country. En route, traveling the railroad yards of Mott Haven, I saw the answer. I got off the train, returned to New York and suggested [to the Central president] that some of the used cars in the yards might be converted. Out of them the successful Mercurys were built at one quarter of the original figure. The Mercurys have been called a turning point in railroad design. They were the first streamliners done as a unit, inside and out, integrating everything from locomotives to dinner china.."[Dreyfuss, Henry. Designing for People. New York. 1955, pp. 111-113]

More details about the interiors and train consists for the Mercury may be found here.




The Otto Kuhler Hiawatha

Otto Kuhler Patent D-148,308    The Otto Kuhler Hiawatha Observation Car-outside

Otto Kuhler Patent 2,595,858    The Otto Kuhler Hiawatha Observation Car-inside
Kuhler's Patents for Cars Like the Observation Car of the Hiawatha
Click any Photo to Enlarge
Our Patent Page will tell you how to get patent drawings for free

During his lifetime, Kuhler was awarded a large number of patents. Here is his patent D-148,308 that looks a whole lot like the outside of the observation car on the Hiawatha during the 1940s, and his Patent 2,595,858 looks a lot like the inside.

Hiawatha in the December 1935 issue of Popular Mechanics    Hiawatha in the December 1938 issue of Popular Mechanics    Hiawatha in the October 1935 issue of Popular Mechanics    Hiawatha in the July 1935 issue of Popular Mechanics

The Hiawatha in Print
Cover of Popular Mechanics in December, 1935
Click to Enlarge

The Hiawatha was a very photogenic and popular train. It made the cover of Popular Mechanics in December of 1935. It was hoped that this system would enable steam engines to compete with diesel.


Hiawatha at the MTA Train Exhibit    Hiawatha at the MTA Train Exhibit

Running in Good Company
(left) My model of the Hiawatha
(right)The Same Model at the 2008 NYC Metropolitan Transit Authority Model Train Display
Click Photo to Enlarge It




The Reading Crusader

Patent Diagram for the Reading Crusader    Patent Diagram for the Reading Crusader

Reading Crusader on the cover of Popular Mechanics
March, 1938 issue
Click to Enlarge


The Crusader even made the cover of Popular Mechanics in 1938. The design of the train was patented by Paul Cret, a World-famous Architect and Designer.


Patent Diagram for the Reading Crusader

Patent Diagram for the Reading Crusader
Click to Enlarge
Click here if you want to learn how to get Free Patent Drawings

My Model of the Reading Crusader
My Model of the Reading Crusader



The Union Pacific Forty-Niner

The Union Pacific enjoyed some success and recognition with the M-10000 (above). Between 1936 and 1941, the railroad responded as public acceptance of the Streamliners increased. More powerful locomotives were introduced, and larger additional cars were built. Added equipment allowed an increase in frequency from every sixth day to every third day. Because most passengers chose sleeping accommodations over regular-fare coach service, more sleeper and Pullman cars were added. Here are some patent diagrams that illustrate new trends in passenger equipment that are related to the development of lightweight, streamlined cars. Among the innovations are room-based sleeping cars (doubles and "roomettes") as opposed to the older "sections" where chairs were transformed into berths. Also, experiments in two-level cars and dome observation cars were conducted, all made possible by new lightweight materials.


Drawing Room Patent 2309665   Roomette Patent 2323069   Otto Kuhler Double Decker Patent 2564909   Domeliner Patent 2589997


(From Left) Streamlined Drawing Room, Roomette, Double Decker, Dome Car
Click to Enlarge

Drawing Room Patent 2,309,665 Roomette Patent 2,323,069
Otto Kuhler Double Decker Patent 2,564,909 Domeliner Patent 2,589,997



As the trains got heavier and the cars became larger, the concept of permanently connected cars and locomotives fell by the wayside since the one-piece articulated train was not feasable for the long-haul routes. The more powerful locomotives were separate from each other, and from the now-separated larger cars. All equipment used standard railroad couplers. The City of San Francisco and the City of Los Angeles each grew to 14 cars and three locomotive units.

Popular Mechanics was totally thrilled with the new Union Pacific trains and devoted a two-part series to their operation.


New Era in Railroading Part 1 Popular Mechanics Oct 1936    New Era in Railroading Part 1 Popular Mechanics Nov 1936

A New Era in Railroading
(left)From the October, 1936 Issue of Popular Mechanics
(right)From the November, 1936 Issue of Popular Mechanics
Click Photo Enlarge

You may download these articles at no cost

In view of the upcoming 1938-40 Golden Gate Exposition in San Francisco, UP decided in 1937 to add an extra eight-car all-Pullman extra-fare train on the Chicago-San Francisco route. The cars were painted Harbor Mist gray with black roofs and trucks. Car sides had gold stripes edged in black. This train, named the Forty-Niner, would provide alternate five-times-a month service to the five-times-monthly City of San Francisco.


luggage tag for the Forty Niner   The Forty Niner Brochure


Forty Niner Ephemera: Luggage Tag and Brochure keyed to The Exposition

For power, UP chose, for a portion of the route on this train only, two coal-fired streamlined steam locomotives, an Alco-built (1922) 4-8-2 and a Baldwin-built (1920) 4-6-2, both finished in the familiar UP Armour yellow and golden brown color scheme, introduced with their modernized heavyweight cars as the Forty-Niner in July, 1937. (The streamlined shrouding had been added at Union Pacific’s Omaha shops in April, 1937.)


The Unshrouded Forty Niner   The Forty Niner

The Forty Niner


(top left) The Forty Niner (before) (top right, bottom) The Shrouded Version
Click to Enlarge


Equipped with roller bearings and lightweight piston rods in 1936, these outstanding locomotives pulled the Forty-Niner at speeds of over 90 miles per hour en route (50 hours Chicago-Oakland) (2260 miles). The streamlined Baldwin 4-6-2 heavy Pacific No. 2906 led the Forty-Niner between Omaha and Cheyenne, where similarly shrouded 4-8-2 Mountain No. 7002 took over on the grades of Sherman Hill before handing the train to the Southern Pacific at Ogden, Utah. With the end of the Exposition, however, UP decided to retire the Forty-Niner in 1941, after a glamorous but brief career.


Forty Niner Shrouding patent 2183193   Forty Niner Shrouding patent 2183193


Design patent for the Forty Niner No 2,183,193 Click to Enlarge
Click here to learn how to get Free Patent Drawings

My Model of the Union Pacific Forty Niner
My Model of the Union Pacific Forty Niner

The streamlined bulb-nosed shrouding was designed by UP mechanical officer Wayne Owens, although Otto Jabelman, head of the UP R&D unit has credit on the patent (below). The shrouding was removed from both in 1942, after the Forty-Niner was retired.




History of C+O Streamlined Hudson

Here are more photos of the C & O Hudson No. 490 that can be enlarged, carefully adorned with photos of ladies from the DC Swing Dance community.


C n 0 Locomotive 490 photo taken in 1998   C n 0 Locomotive 490 photo taken in 1998

C n 0 Locomotive 490 photo taken in 1998   C n 0 Locomotive 490 photo taken in 1998

More Photos of C & O Locomotive No. 490
Click to Enlarge




Brief History of 20th Century Limited Train

The Dreyfuss K-4 Hudson Locomotive
My Model of the Amazing Dreyfuss Hudson

Dreyfus patent D116180 for the NYC Hudson   Dreyfus patent D116180 for the NYC Hudson   Davies patent 2223482 for the NYC Hudson   Knowlton patent 2204137 for the NYC Hudson


Henry Dreyfus Patent D116,180 for the NYC Hudson, Engineering patents 2,223,482 and 2,204,137
Click to Enlarge the Diagram
Click here to learn how to get Free Patent Drawings

The Dreyfuss design captured the imagination of the public and is often used as an icon of the fabulous streamlined era. Below is a photo of a mural in the lobby of the Edison Hotel in New York that pays homage to "Transportation". The Dreyfuss Hudson is in the foreground; note also that the Commodore Vanderbilt is also in the mural.

Transportation Mural in the Hotel Edison, NYC showing the Dreyfuss Hudson and the Commodore Vanderbilt

Transportation Mural in the Hotel Edison
The Dreyfuss Hudson and the Commodore Vanderbilt are shown
Click to Enlarge


Dreyfuss not only designed the locomotives, but also did the interiors for the cars. He was apparently so enthusiastic about his work for the New York Central that it spilled over into his vacuum cleaner design work for the Hoover Company.

20th Centutry Limited Passenger Car: Dreyfuss Patent No. 2,263,123   20th Centutry Limited Dining Car: Dreyfuss Patent No. 2,080,960   20th Centutry Limited 1st Class Compartment: Dreyfuss Patent No. 2,153,242   Dreyfuss Hoover Vacuum Cleaner Design Patent D-115,286

Total Design: Outside, Inside, and Points Between
20th Centutry Limited Passenger Car: Dreyfuss Patent No. 2,263,123
20th Centutry Limited Dining Car: Dreyfuss Patent No. 2,080,960
20th Centutry Limited 1st Class Compartment: Dreyfuss Patent No. 2,153,242
Dreyfuss Hoover Vacuum Cleaner Design Patent D-115,286
Click to Enlarge
Click here to learn how to get Free Patent Drawings

Henry sure covered all the bases...

We were fortunate to find a detailed article called "At the Throttle of the Century" that gives many of the details of operations.

Article called At the Throttle of the Century which appeared in the May, 1939 issue of Popular Mechanics

At The Throttle of The Century
From the May, 1939 issue of Popular Mechanics
Click to Enlarge


Click here to download a ".pdf" of the whole article.



The Pennsylvania Railroad K-4



Raymond Loewy was an influential designer of the 1920s through the 1970s. He may have coined the term "Industrial Design" -- he certainly was successful, because his mark is all over our society today. He even got his picture on the cover of TIME Magazine, surrounded by images of all the wonderful things that he created. Actually, Loewy created the oustide of most of these wonderful things; the inside was created by more plebeian engineers.


Raymond Loewy on the cover of TIME Magazine    Banner for the Loewy Gallery

Loewy was THE Industrial Designer

The Roanoke Visitors Center is located in the old N&W passenger station that was re-styled by Raymond Loewy in 1949. Here are some photos:

N&W Passenger Station, Roanoke - Styled by Raymond Loewy

N&W Passenger Station, Roanoke - Styled by Raymond Loewy

Entrance to the Loewy Gallery, Roanoke   Exhibit of Designs

Entrance to the Loewy Gallery
Click to Enlarge

Mr. Loewy had a vision of a widespread integrated public transit system involving both Busses and Trains filling short and long haul needs. To this end, he designed four landmark Motor Coaches for the Greyhound Corporation.

Raymond Loewy Greyhound Bus Design patent D113009   Raymond Loewy Greyhound Bus Design patent D129411   Raymond Loewy Greyhound Bus, February 1949 HOLIDAY Magazine Ad   Raymond Loewy Greyhound Bus Design patent D127174   Raymond Loewy Greyhound Bus Design patent 2,563,917

Raymond Loewy's Bus Designs for Greyhound to Complement Train Service
(left to right) D113,009, D129411, D127114, and 2,563,917
Click to Enlarge the Diagram
Click here if you want to learn how to get Free Patent Drawings


Loewy must have been a great talker as well -- he began his relationship with the Pennsylvania Railroad designing trash containers for Penn Station. He eventually wound up designing multi-million dollar locomotives. His first foray into streamlining engines came with the K-4. This is strictly a cover put on an existing steam engine. Loewy was awrded patent D106,143 for his effort.


Loewy Patent D106,143 K4 Locomotive
Mr. Loewy's Patent D 106,143

Model of the K-4 Locomotive
My Model of the K-4 Locomotive

In general, efforts at shrouding produced memorable images, but went nowhere. A steam locomotive is a complicated mass of valves, rods, gears and wheels, all of which tend to break down or need adjustment regularly. The steam engine also emits a LOT of smoke. The shroud interfered with maintenance and that nice smooth laminar flow (top figure, bottom right) kept the smoke hugging the exterior of the train.

K4 Headlight the July, 1938 issue of Popular Mechanics    K-4 Bell the December, 1936 issue of Popular Mechanics    K-4 Brakes the July, 1937 issue of Popular Mechanics

The K-4 Was Photogenic
From Popular Mechanics
(left) July, 1938 (middle) December, 1936 (right) July 1937
Click to Enlarge


Most shrouded locomotives ran with the sheet metal for photo ops but the same glorious exterior was slowly dismantled by the maintenance staff. They never really solved the smoke problem.



Streamlined from the Ground Up


The Pennsylvania Railroad S-1



Raymond Loewy leads off this section because he was the only "designer" to be involved in ground-up streamlining. Other efforts were done by the engineering staff of the various railroads. First up is the S-1, a beautiful but flawed lady. The PRR S1 class steam locomotive (nicknamed "The Big Engine") was an experimental locomotive that was the largest rigid frame passenger locomotive ever built. In 1937, Pennsylvania Railroad officials decided to build a new passenger locomotive to replace its aging K4 locomotives. In a collaborative effort, the Pennsylvania Railroad, Baldwin Locomotive Works, the Lima Locomotive Works and the American Locomotive Company contributed to the experimental S1 design. The streamlined Art Deco styled shell of the locomotive was designed by Raymond Loewy.


Loewy Patent 2,128,490 S-1 Locomotive
Mr. Loewy's Patent 2,128,490 for the S-1 Locomotive

The S1 was displayed at the New York World's Fair of 1939, after which it was assigned to passenger service on the main line between Chicago, Illinois and Crestline, Ohio. The S1 was used by the PRR for publicity purposes as well.

Raymond Loewy with the S1 at the 1939 New York World's Fair    The S1 on the cover of Popular mechanics June, 1939    Other Streamlined Locomotives at the World's fair

The Photogenic S-1
(left)Raymond Loewy with the S1 at the 1939 New York World's Fair
(middle) The S1 on the cover of Popular Mechanics June, 1939
(right) Other Streamlined Locomotives at the World's Fair
Click to Enlarge


Click here to download a free copy of the June, 1939 Popular Mechanics article on the S-1.

The American Bank Note Company issued a series of posters to demonstrate their engraving skill. They were published by the Eaton paper company as part of an advertising campaign. The engravings are quite lovely. One of the posters depicts the S-1 hauling the Broadway Limited indicating that the locomotive had been identified with New York City even before it was put into actual service. here is a picture of the S-1 stamp. The series of other posters is son nice that we have included them as well, a brief digression from streamlined trains.

American Bank Note Poster -- S1 Locomotive

The S-1 Pulling the Broadway Limited
American Bank Note Poster --  Liner Manhattan    American Bank Note Poster -- Manhattan, aerial view

Manhattan -- the Steamship and the Island

American Bank Note Poster -- Central Park    American Bank Note Poster -- Brooklyn Bridge

Central Park and the Brooklyn Bridge American Bank Note Company for Eaton Paper, c. 1939
Click to Enlarge


The image of the S-1 continued to be featured in calendars and brochures, and was featured in advertisements. The original intent was to have the S-1 haul the Broadway Limited, the Pennsylvania Railroad's crack New York to Chicago train. Mr. Loewy even designed railcars for the Broadway. The dining car was especially elegant, and made its way into an advertisement in LIFE Magazine


S1 Locomotive in a Bayer Aspirin Ad    Broadway Limited in a Webster Cigars ad
The Lady Seems Fascinated that the Man is Smoking a Stinky Cheap Cigar...
...while the Engineer has a headache...
Both ads from the April 14, 1947 Issue
Click Photo Enlarge
Read a Brochure Given to Passengers on the Broadway Limited


Episode Two, Season Three of the popular sitcom "Mad Men" (set in 1963) has lead character Don Draper telling his brother-in-law to go home on the New York Central's Broadway Limited, leaving from Pennsylvania Station. Usually, this program gets its history dead-on, but this is a major gaffe. In 1968, the Pennsylvania Railroad merged with the New York Central (to become the ill-fated Penn Central), so it is conceivable that five years after the speech was given, the New York Central might have had something to do with the "Broadway" -- but not much!

It was hoped that the locomotive could haul 1,000 tons at 100 miles per hour, but this goal was not reached. There are apocryphal stories of the S1 reaching or exceeding 140 miles per hour, but there is no documentation of this and it is considered unlikely by experts. The locomotive's extreme length (140 feet 2 1/2 inches) limited its usefulness as it was incapable of negotiating curves on most of the PRR track system. Wheel slippage was another problem. No further S1 models were built and the last run for the S1 was in December 1945; the engine was scrapped in 1949.


Model of the S-1
My Model of the S-1 -- also the largest locomotive that Lionel Ever Built



The Pennsylvania Railroad T-1



The Pennsylvania Railroad's 52 T1 class duplex-drive 4-4-4-4 steam locomotives, introduced in 1942 (2 prototypes) and 1946 (50 production) were their last-built steam locomotives, and their most controversial. They were ambitious, technologically sophisticated, powerful, fast, and uniquely streamlined by Raymond Loewy.


Mr. Loewy's Patent D 134,260 for the T-1
Mr. Loewy's Patent D 134,260 for the T-1

However, they were also prone to violent wheelslip both when starting and at speed, complicated to maintain, and expensive to run. In 1948, the PRR reluctantly made a commitment to place diesel locomotives on all express passenger trains, leaving unanswered whether the T1's flaws were solvable.


The T-1 Locomotive as it rolled out of the yard
The T-1 Locomotive as it rolled out of the yard

My Model of the T-1 Locomotive
My Model of the T-1 Locomotive




Writeup of the C and O M-1

Stearns patent 2413119 for the M1

C.K. Stearns Patent for the M-1 No. 2,413,119

My Model of the M-1 Locomotive
My Model of the M-1 Locomotive




Writeup of the SP Daylight Train

Daylight Engines from Popular Mechanics May 1937    Daylight Postcard    Daylight Model observation car

More photos of the Daylight
Daylight Engines (Popular Mechanics, May, 1937)
Daylight on a vintage postcard
My model of the Daylight's observation car
Click to enlarge





Writeup of the N and W Locomotive 611

Builder's Plate for the NW 611

The Builder's Plate for the N&W Locomotive 611

Side view of NW 611 Model   Front view of NW 611 Model
My Model of the N&W Locomotive 611

I had such a fun time at the Virginia Museum of Transportation crawling all over the 611. Click Here for a slideshow of my photographs of the lovely Number 611



The Ones That Lasted


The Pennsylvania Railroad GG-1



The Pennsylvania Railroad's GG1 class of electric locomotives were built between 1934 to 1943 at the PRR shops in Altoona, Pennsylvania, with a total of 139 units constructed. here is an article about the GG-1 that appeared in 1935.


GG1 from February 9 issue of Popular mechanics    GG1 from February 9 issue of Popular mechanics

The GG-1 Enters the Scene From the February 2, 1935 issue of Popular Mechanics
Click to Enlarge


They remained in service with the PRR's successors until the early 1980s. The GG1 became one of the most recognized and famous classes of locomotive worldwide.


The GG-1
The GG-1 in Tuscan Red, ready to haul the Congressional Limited

The GG1s were large locomotives, 79 ft 6 in (24.23 m) long and weighing 477,000 lb. The double-ended main body was a single unit formed as a bridge-truss framework and clad in welded steel plate. The cabs were set up high about a third of the way along the locomotive from each end for greater crew safety in the event of an accident. A narrower section of nose in front of the cab windows was lowered to improve the view forward, although the central part of the nose remained full height to carry the current-collection pantographs. The bodywork as a whole was smoothly rounded, with an appearance that suggested immense power and speed.

This was mounted upon two great cast steel locomotive frames linked by a hinge at the locomotive's middle which allowed side-to-side movement. Six driving wheels (three axles) were fitted towards the center of the locomotive on each truck (twelve in total) and a four-wheeled, unpowered guiding truck was mounted toward each end. In the Whyte notation for steam locomotives, each frame comprised a 4-6-0 locomotive; in the PRR's classification system, 4-6-0s were class "G". The GG1 consisted of two such locomotive frames mounted back to back, so it was classified GG—4-6-0+0-6-4. This arrangement is called 2-C+C-2 in AAR wheel arrangement notation. Each driven axle was powered by two 385 hp (305 kW) GEA-627-A1 traction motors mounted above and to either side of the axle. Drive was through a reduction gear and a quill drive assembly.

While the famous industrial designer Raymond Loewy did not design the shape of the GG1 electric locomotives, he did improve their looks by recommending the use of a smooth, welded construction instead of riveted assembly, along with a pinstriped paint scheme to highlight their smoothly rounded forms; the "streamline" style, evoking speedy travel, was popular at the time. The real design behind the GG1 came from the New Haven Railroad EP3 electric. The New Haven allowed the PRR to borrow a pair of EP3s for testing, and the PRR was quite impressed with their performance and decided to base the design of its electric locomotive on the EP3.


Patent Diagram for the GG1 2128072

Winston Brecht Engineering patent for the GG1 No. 2,128,072
Click to Enlarge the Diagram

Click here if you want to learn how to get Free Patent Drawings

A yet-to-be-restored GG-1 may be seen at close range at the Virginia Museum of Transportation in Roanoke, Virginia.

GG1 Locomotive at the VMT front quarter view    GG1 Locomotive at the VMT head on

The Unrestored GG1 at the Virginia Museum of Transportation
Dressed up in Mr. Loewy's "Five-Stripe" Design

Click to Enlarge

My Model of the GG1 Locomotive
My Model of the GG1 Locomotive

A GG-1 was involved in the very famous 1953 trainwreck at Washington DC's Union Station. A Pennsylvania Railroad GG-1 hauling the Federal Express [sic] went completely out of control and crashed through the barrier at the end of the track, and then went through the floor of the station.


LIFE magazine report on the 1953 Uninon Station Crash    LIFE magazine report on the 1953 Uninon Station Crash

LIFE magazine report on the 1953 Uninon Station Crash
Click Here to read the entire article
Click to Enlarge the pictures


There were surprisingly few injuries and no fatalities. The GG1 was restored and back in service within months.




Writeup of the Super Chief

Electromotive Diesel patent 2317849   Electromotive Diesel patent 2453483

Early Design Patents for Electro-Mechanical Diesel Locomotives No. 2,317,849 and 2,453,483

Boxcab unit for Super Chief 1 side   Boxcab unit for Super Chief 1 Front
The "Boxcab" Units for Super Chief 1 - Great Colors!

Below is a great article titled "Manicuring the Diesels" that has some great photographs of the Super Cief "Warbonnet" Engine. We have also included another article on the operation of high speed diesel locomotives. here is an article on the Twin Cities Rocket, the fastest train in the world (in 1951), as reported by Popular Science.


Manicuring the Diesels    Highballing the Twin Cities Rocket

Diesels 1938-1951
"Manicuring" from the September 1938 issue of Popular Mechanics
"Highballing" From the August, 1951 Issue of Popular ScienceClick to Enlarge



The "California Zephyr"




Brochure for the California Zephyr

Brochure for the California Zephyr
Click to Enlarge

Before Amtrak operated a train with this name, the California Zephyr was operated by the Chicago, Burlington and Quincy Railroad from Chicago to Denver, Colorado, the Denver and Rio Grande Western Railroad between Denver and Salt Lake City, Utah, and the Western Pacific Railroad from Salt Lake City to Oakland, California. Originally, the train was hauled by a streamlined. In 1937, the Chicago to Denver haul was taken over by a streamlined steam engine.


Denver Zephyr shrouded steam engine

1930s Version of the Denver Zephyr
Click to Enlarge

After World War II, the train was completely redesigned. For the inaugural run in 1949, every female passenger on the train was given a corsage of "silver" and orange orchids that were specially flown in from Hilo, Hawaii. The women who worked as car hostesses on this train were known as "Zephyrettes." The train traversed the route's 2,525 miles (4,064 km) in 2˝ days.


N-Scale Model of the California Zephyr

My "N" Scale Model of the Californi Zephyr
Click to Enlarge

As shown above in my model, the passenger cars used when the train was inaugurated in 1949 were as follows:
  • Baggage
  • Vista-Dome chair car
  • Vista-Dome chair car (Conductor's Car)
  • Vista-Dome chair car
  • Vista-Dome dormitory-buffet-lounge car
  • Sleeper (10 roomettes, 6 double bedrooms)
  • Sleeper (10 roomettes, 6 double bedrooms)
  • Diner (48 seats)
  • Sleeper (16 sections)
  • Sleeper (10 roomettes, 6 double bedrooms) — this was a run-through car to New York City
  • Vista-Dome dormitory-buffet-lounge-observation (1 drawing room, 3 double bedrooms)

The forward section of the first Vista-Dome car was partitioned off and reserved for women and children only. There was a door in the corridor under the dome just behind the women's restroom that provided access to the reserved section. Early on however, this reserved section was opened up to all passengers and the door and partitions were removed. Like the train's operation, ownership of the cars was split between the three railroads almost evenly across all car types. Each car was owned by a single railroad, but the ownership of the cars on any specific day's run of the train depended more on what equipment was available at the terminals than whose railroad the train was operating over at the time.

Generally positioned as the second Vista Dome coach was the car referred to as the "Conductor's Car". This car was like the other Vista Dome coaches, except in the B end, was a small booth with a bench seat and desk for the Conductor's use.

In 1952 an additional Pullman sleeper (6 double bedrooms - 5 compartments) was added to regular service on this train. With the new cars delivered that year, cars arriving in Chicago on the California Zephyr were made available for use on the Ak-Sar-Ben Zephyr for an overnight round trip to Lincoln, Nebraska. When the cars returned from Lincoln the next day, they were placed back in the westbound California Zephyr's consist for the next train out of Chicago that afternoon.

"Zephyrettes"

The California Zephyr was marketed (especially to families) as "...a vacation unto itself." Train hostesses, while not new to the industry in the late 1940s, were nevertheless elevated to a new level on the CZ in the form of the "Zephyrette" who functioned as social directors, tour guides, babysitters, nurses— filling just about any role required to ensure that the passengers had a memorable trip. A pool of approximately twelve women was assigned at any given time to the CZ in this capacity. In 1983 Amtrak revived the California Zephyr and invited one of the original "Zephyrettes" to host the first trip.


Zephyrette in Winter Uniform    Idealized Zephryette from brochure    Zephyrettes in Summer Uniform

The Zephyrettes
Click to Enlarge

As ridership fell during the 1960s, the Western Pacific repeatedly petitioned the ICC to drop its section of the train west of Salt Lake City without success. On February 13, 1970, the ICC released an order stating that "operation of the train [on the Western Pacific] was no longer required". The train's final operation was made on March 22, 1970, with a westbound train terminating at Oakland, California. The California Zephyr had operated for 21 years and 2 days. East of Salt Lake City, the train was reduced from a daily to a tri-weekly schedule, operating as California Service on the Burlington and as the Rio Grande Zephyr on the Rio Grande. The Rio Grande portion of the train was extended beyond Salt Lake to Ogden, Utah, allowing Nevada and California passengers to connect to the Southern Pacific Railroad's City of San Francisco passenger train. This arrangement existed until the creation of Amtrak on May 1, 1971. With the establishment of Amtrak in 1971, the new system began operating its San Francisco Zephyr over the Chicago, Burlington and Quincy route to Denver, and Union Pacific's "Overland Route" through Wyoming instead of Colorado, then over the Southern Pacific tracks west of Ogden, Utah.

Here'a Where I Come In...


Rio Grande Locomotive for the Rio Grande Zephyr    1981 Timetable for the Rio Grande Zephyr    Observation Car for the Rio Grande Zephyr

Front, Back and Timetable for the Rio Grande Zephyr
Click to Enlarge

The Rio Grande railroad initially opted out of Amtrak and continued to operate its section of the former California Zephyr as the Rio Grande Zephyr. I was privileged to ride this train in the Spring of 1981. The ride was spectacular and the food was nothing short of fantastic. Here are the menus from that particular run:


1981 Breakfast Menu for the Rio Grande Zephyr    1981 Lunch Menu for the Rio Grande Zephyr    1981 Dinner Menu for the Rio Grande Zephyr

1981 Breakfast, Lunch and Dinner Menus for the Rio Grande Zephyr
Click to Enlarge

I have scanned the photos that I took in 1981 and made up a Special Slide Show to show the cars, staff, stations, and scenery from that trip.

In 1983 the Rio Grande Railroad reversed its decision and joined Amtrak. In July 1983, Amtrak ceased operation of the San Francisco Zephyr and launched operation of a new California Zephyr over the CB&Q and Rio Grande legs of the original train route. West of Salt Lake City, the route operates on the Western Pacific track (now part of the Union Pacific Railroad) to Wells, Nevada. From Wells to Winnemucca the CZ can operate on either the Western Pacific track or the Southern Pacific as directed by the modern owner of both tracks, the Union Pacific Railroad. West of Winnemucca the modern California Zephyr follows the route of the former City of San Francisco on SP track



Railroad Standard Time and Streamlining




1935 Catalogue for the W.C. Ball Company

1935 Catalogue for the W.C. Ball Company
Webb C. Ball was a pioneer of Railroad Standard Time
Click to Enlarge


What is Railroad Standard Time?

America's commerce depends on the safe operation of the railroad system. Until the advent of mobile communications, railroad safety depended on accurate timekeeping to assure that two trains do not try to occupy the same space at the same time. The use of watches on American railroads goes back almost to the beginning. As soon as there were two trains moving in opposite directions on a single-track line, there arose a need to control their movements. That is, one train had to pull off into a siding to allow the other to pass. Since there were no telphones, radios or telegraphs, the engineers could not see each other untill it was too late. The graceful ballet of moving on the main line versus waiting on the side was done on the basis of printed schedules that had to be adhered to with great care. This required that everyone know exactly what time it was according to a single standard. Accordingly, special portable clocks (i.e. the Railroad Watch) were needed. In 1850, the Boston and Providence Railroad ordered 45 English watches, from Bond & Son, Boston, for justthis use.use At about the same time, the Pennsylvania Railroad began to provide accurate watches to trainmen and published this rule:

"Each engineer will be furnished with a watch which shall be regulated by the Station Agent at the commencement of each trip and must be deposited with him when the engine returns. If not returned in as good order as it was received, the Engineer must pay the expense of repairs."
P.R.R. 1849

.

In 1887 the American Railway Association defined the basic standard for watches. It took a disaster however, to create widespread acceptance of stringent accuracy and durability standards for the timepieces used to regulate the daily operation of American railroads. The biggest impetus was a horrific collision on the Lake Shore and Michigan Southern Railroad between a government fast mail train and an private charter train. The engineers and firemen of both engines and nine United States Postal Clerks lost their lives. The cause of the accident was that one of the engineers watches had stopped for 4 minutes.

What is a Standard Railroad Watch?

By 1893 stringent standards for railroad watches had been adopted by almost all railroads. These standards read, in part:

"An approved watch.."must be...open faced, size 16 or 18, have a minimum of 17 jewels, adjusted to at least five positions, keep time accurately to within 30 seconds a week, adjusted to temps of 34 °F (1 °C) to 100 °F (38 °C), have a double roller, steel escape wheel, lever set, regulator, winding stem at 12 o'clock, and have bold black Arabic numerals on a white dial, with black hands."

Maybe you could use some help with this:

  • Open-Faced: In order that the employee could read it at any time, the watch could not be inside a case .
  • Size: Size 16-18 watches are about 2.5 inches in diameter, easy to hold in the palm.
  • 17 Jewels: Each of the little gear wheels inside turned on a bearing. The use of jewels (rubies) reduced friction and improved accuracy
  • Positions: Physical orientation of the watch --- should run reasonably constant in two to three positions (for a pocket watch: dial up, pendant up, pendant left/right) as these are the most common positions the watch would encounter either in the pocket, or on a table (Check this out for more detail)
  • Temperature: The watch must be tested to keep accurate time within the range stated
  • Double Roller: The roller or "impulse table" is the connection between the watch mechanism and the balance staff or the shaft that holds the escapement (the thing that makes it "tick") ; it is a thin disc of metal with the balance staff in the middle. A double roller is very advantageous in that better adjustments of time can be made, owing to the fact that the roller-jewel can be located at the maximum distance from the axis of the balance-staff
  • Steel Escape Wheel: as the spring unwinds, it applies force to a wheel with ratchets, causing a small wheel to advance one notch. The escapement has 30 notches, and two times around equals one minute. The escape wheel has the most friction and must be made of a hard material. Steel is preferred to brass.
  • Lever Set The watch can only be set by unscrewing the crystal and turning a small lever. This prvents the watch from accidentaly reset by rubbing against clothing, etc.
  • Winding Stem at 12: This provides for instantaneous recongnition of the orientation of the watch. (Watches with the stem at "3" and "6" were popular)
  • White Dial, Black Arabic Numerals, Black hands:All for maximum readability.

Here are some patent diagrams that illustrate these concepts:

Watch Double Roller Patent No. 740,179    Watch Roller Remover Patent No. 624,242    Apparatus for Testing Multiple Watches No. 451,181

Watch Movement Concepts
Double Roller Patent No. 740,179
Roller Remover Patent No. 624,242
Apparatus for Testing Multiple Watches No. 451,181
Click to Enlarge

Click here to learn how to get Free Patent Drawings

The standards were raised from time to time as watchmaking technology improved and the need arose.

Streamlining brought a specific problem. When Diesel-Electric locomotives were introduced, it was found that the tempered spring steel spring would become magnetized and "stick" to the frame, stopping the watch. An anti-magnetic alloy called Elinvar was developed and introduced into railroad watches. In order to assure that watches were immune to electromagnetic fields, railroads began to specify minimum serial numbers of the different watch grades for acceptance. (The serial number is directly correlated to the precise date of manufacture.)

How Does Webb C. Ball Figure in All of This?

Mr. Ball has devoted practically his entire life to watch mechanisms and, specifically, adapting them to improve railroad service. He a number of patents for both movements and the methods of manufacturing them. At the time the 1935 catalogue (above) was published, Mr. Ball had a thriving wholesale jewelry business located in Chicago with outlets all acroos the United States, Canada and Mexico.

During the investigation of the Lake Shore and Michigan disaster, Mr. Ball gave expert testimony. After determining that the accident was caused by defective watches used by trainmen in the charter train. As a recognized expert on watch construction, Mr. Ball was authorized to prepare a plan of inspection and investigate conditions on the Lake Shore lines. His research determined that no uniformity existed in trainmen's watches. In addition, the clocks in roundhouses and dispatcher's offices were seldom regulated to any uniform schedule.

After this careful study, Mr. Ball evolved a plan of inspection and time comparison for the watches used by railway employees and for the standard clocks as well. This plan provided strict standards for watches of standard grades to be carried by men in charge of trains. Timepieces could come from any manufacturer so long as standards were met. Eventually, seven companies were able to make watches that would be accepted under the uniform standard inspection rule.

Mr. Ball established first watch inspection service on the Lake Shore and Michigan Southern Railway in 1891, and eventually the service was extended to the New York Central, the Illinois Central, the Rock Island and Frisco systems, the Union Pacific, Southern Pacific Oregon Short Line, the Nashville, Chattanooga and St. Louis, Missouri, Kansas City and Texas, El Paso and Southwestern, Sun Set Central lines, Western Pacific Railway, Lehigh Valley Railway, Boston and Albany, New York, New Haven and Hartford Railroad. Seventy-five per cent of the railroads throughout the country employ the Railroad Time Service, Mr. Ball's company formed to implement his standards.

The main office of this inspection service was located at Cleveland. Local inspectors were appointed at division points along the various railway lines. Trainmen reported to these inspectors every two weeks for time comparison. They were furnished with a clearance card certificate that recorded any variation in their watches, the limit being thirty seconds per week. If anything did not meet the standards, the trainman had to get a standard loaner watch and leave his own for adjustment (at his own expense...)

By the 1920s the name "Ball" was a synonym for accuracy in construction of railroad watches throughout the entire country. Mr. Ball was known as "the man who holds a watch on one hundred seventy-five thousand miles of railroad"



Homage to the Streamliners

On August 26, 1999: The United States Postal Service issued 33-cent All Aboard! 20th Century American Trains commemorative stamps featuring five celebrated American passenger trains from the 1930s and 1940s. I am thrilled to have models of the five locomotives pictured on the stamps.


All Aboard Stamps (plate front)

All Aboard Stamps (plate back)
The USPS "All Aboard!" Commemorative Stamps




The "A-Train" - not Streamlined but Swinging!

R-1 Subway cars

The New York Metropolitan Transit Authority (MTA) puts up a Holiday model train display in Grand Central terminal. This year, I was thrilled to see R-1 Subway cars in the display that are of the same Lionel vintage as my own. The kids loved the display as much as the adults.

MTA xmas 2008 train display   MTA xmas 2008 train display   MTA xmas 2008 train display  
Click any Photo to Enlarge It

Take the A-Train was the theme song for Duke Ellington's Band from 1940 onward (here is a video based on an old Soundie.) The song was written by the legendary Billy Strayhorn and almost discarded until the Duke himself saved it. The song had no lyrics until 1944 until Joya Sherrill, a teenager from Detroit, badgered Ellington for an audition. For my money, the best recording of the song with lyrics is by the Delta Rhythm Boys which (thanks to the miracle of YouTube) can be heard here.

Sheet Music cover for Take the A Train   Portrait of the Duke Ellington band
Click Either Photo to Enlarge It

On December 28, 2008, I had the privilege of riding in a train made up of original R-1 cars, including Number 100, the very first of this genre to enter service. This "nostalgia train" could not be used to replace the real "A Train" (The 8th Avenue Express), so it was run on the lesser used "V" line between 2nd Avenue and Queens Plaza. You will note that its Head Sign bears the letter "S" for "Special Train". These cars have been thoroughly restored by the MTA down to the original advertising cards. The train was operated by volunteer MTA employees who gave their Sunday so that folks could experience the Subway as their parents and grandparents did.

I have made up a Special Slide Show to illustrate Nostalgia Train day on the MTA



..and while we are still in the New York Subway System, we really have to mention "Miss Subways."

Miss Subways Advertising Card-Linda Heilbronn
Miss Subways
The Lovely Ms. Linda Heilbronn
Click to Enlarge

from the 1940s into the 1960s, New York rapid transit featured advertising cards for the "Miss Subways" beauty contests, a publicity gimmick of the John Robert Powers Modeling Agency. (This was ssuch a New York icon that both the musical and film versions of On The Town have a "Miss Turnstiles" as part of the plot.) The story behind this is amusing:

"... Once there was a young woman - Ruth Ericsson was her name - who worked at the Waldorf-Astoria Hotel filing the nails and pushing back the cuticles of people she imagined were on their way to glamorous nightclubs, expensive restaurants and elegant society affairs. One day, John Robert Powers, of the famous modeling agency, was passing through the hotel and spotted Miss Ericsson. "You are the most beautiful girl I've ever seen," he said to her. "You must be my Miss Subways." She was perplexed, but he placed her photograph in every subway car in New York. She received 258 proposals of marriage, an orchid a day for six months from one smitten rider and, from an adoring bakery truck driver, a lemon meringue pie three feet in diameter. This may sound like a fairy tale, but it's true. ..." (from Ellen Hart's website, link below)

Ellen Hart was "Miss Subway" in 1959 -- she owns a place called Ellen's Stardust Diner on Broadway that is the only place near Times Square to get a good meal at reasonable prices. In addition, the waitstaff are singers looking to break into The Theater and they entertain constantly with songs that are done much better than in some of the plays. She also has a gigantic collection of "Miss Subways" advertising cards. If you ever wondered whether women have improved their lot, look at the slide show in the gallery for a few minutes.




Streamlining and High Tech in the United Kingdom

We don't want to give the impression that streamlining was limited to the United States -- it was very much alive in the United Kingdom, Europe and the rest of the World. Over there,the principal "Gee Whiz" future-tech magazine was known as Modern Wonder. Here's an informative little video that shows all the covers from Modern Wonder during the 1930s. You can get the idea -- lots of high-testosterone Technology helping Man (and Boy) conquer Nature.






The Russian Streamliners
DeSakhnoffsky and DeSeversky

Alex DeSakhnoffsky   Alex DeSakhnoffsky

Introducing Alexis DeSakhnoffsky
Click to enlarge

Count Alexis de Sakhnoffsky (1901-1964) was a Russian-American industrial designer, known principally for his Streamline-style automotive designs. Born in Moscow in 1901, Sakhnoffsky emigrated to Switzerland in 1919 and by the 1920s had become a well-known designer of European sports cars. He relocated to North America in the late 1920s and designed vehicles for Auburn Automobile, the White Motor Company, and others.

Sakhnoffsky also completed numerous other design projects, including bicycles, kitchen items, and furniture. He served as a technical editor for Esquire magazine from 1934 until the 1960s. His characteristic drawing style shows a carefully calculated veneer of chic while retaining the basics of information. The background is usually coloured and favouring the dark, with highlights smeared on in a lighter chalk or pastel. Streamlining is evoked but the objects are often static. The mechanical bulk dissolves in shimmer. The drawings shown here were a regular feature in ESQUIRE magazine of the 1930's, adding sophistication to the publication's cheerful blend of snappy stories and girlie cartoons. By 1963, De Sakhnoffsky was old hat and was reduced to commenting on new car designs for Popular Mechanics. Here are some of his patent drawings


DeSakhnoffsky Fuel Truck Design D-105899   DeSakhnoffsky Tractor Patent D-108827   DeSakhnoffsky Trailer Patent D-110857

Vehicle Design Patents by Alexis DeSakhnoffsky
(left to right) Fuel Truck D-105,899, Tractor D-108,827, Trailer D-110,857
Click to Enlarge the Diagrams
Click here if you want to learn how to get Free Patent Drawings

Alex DeSakhnoffsky

Introducing De Seversky
Click to enlarge

Alexander Nikolaievich Prokofiev de Seversky was a Russian-American aviation pioneer, inventor, and influential advocate of strategic air power. Of noble Russian parentage, Seversky was born in Tiflis. He served as a Russian naval aviator in World War I, lost a leg in combat, and continued to fly, shooting down six German aircraft. In 1917 he was in the U.S. as a member of the naval aviation mission and decided to stay rather than return to a Russia torn apart by the Revolution. He worked as a test pilot and became an assistant to air power advocate General Billy Mitchell, aiding him in his push to prove airpower's ability to sink battleships. Seversky married New Orleans socialite and pilot Evelyn Oliphant in 1923; the two settled in New York City. In 1927, he became a naturalized citizen of the United States. He was the first to patent midair refueling and developed the P-35 fighter, the antecedent of most modern single wing fighters. He founded the Seversky Aircraft Corporation in 1931 but, despite landing several government contracts (such as the P-35), the company was never able to turn a profit under his management. The Board of Directors voted him out and reorganized as the Republic Aviation Company, which was successful and produced many planes, including the famous Republic P-47 Thunderbolt. Republic was acquired by Fairchild in 1965. Often described as "flamboyant" and a "showman," Seversky was always good at capturing the public eye, and was considered a newsworthy celebrity. His book Victory Through Air Power was well received and even made into a film by Walt Disney


Air to Air Refueling Patent No. 1728449   DeSeversky Design of the P-35 Patent D111040   The P-35

Alexander De Seversky Designs
Air to Air Refueling Patent No. 1,728,449
Design of the P-35 D-111,040
Click to Enlarge the Diagrams
Click here if you want to learn how to get Free Patent Drawings



Not Streamlined But Nostalgic

Writeup of the Blue Comet
My Model of the Blue Comet   My Model of the Blue Comet
My Model of the Blue Comet with Original Boxes...



Lakehurst, New Jersey was a major stop for dirigible passengers (The Graf Zeppelin and the ill-fated Hindenburg) as well as the sailors who operated the military "Air Ships" such as the Shenandoah, Macon and Akron, all designed by Ralph Upson. Later, the Navy used nonrigid airships for patrols. Today, the Goodyear Blimp is the direct descendant of these early craft.

The Board Game Monopoly was based on the fervor of land speculation in Atlantic City during the period that the Blue Comet ran. It was invented by Charles Darrow in 1934 and is the largest selling board game in history.

Dirigible Patent 1,762,845   Goodyear Blimp Patent 1,455,424   Monopoly Board Game Design patent 2,026,080

Attractions along the way between New York and Atlantic City
(left to right) Dirigible 1,762,845, Goodyear Blimp 1,455,424, Monopoly 2,026,080
Click to Enlarge the Diagram
Click here if you want to learn how to get Free Patent Drawings


FREE DOWNLOADS

We recently uncovered a treasure trove of brochures printed in the 1950s by the Association of American Railroads, a trade association (or lobby). These pamphlets have some very nice photos of trains, some humor and a strong message that Big Government was ruining the railroads. To a very large extent, it was short-sightedness and Wall Street manipulators that looted the rails. That tiny bit that we have today is the result of Uncle Sam stepping in to save the jobs of thousands. Belatedly, we have come to recognize what we are missing as freeways are choked with gigantic belching SUVs. We spend zillions to replace passenger rail systems that were abandoned for no good cause. We fight unending wars in the Middle East to satisfy our thirst for oil that wouldn't be there if we hadn't ripped up our rail and streetcars systems. That sermon aside, here are the books that are available today:

American Association of Railroads, Railroads at Work   American Association of Railroads, The Railroad Story   American Association of Railroads, Highlights of Railroad History  

American Association of Railroads, Railroads Deliver the Goods   American Association of Railroads, The Railroads of Ohio   American Association of Railroads, Rail Oddities  

Brochures from the American Association of Railroads

Click to Enlarge the Pictures

Our review of Popular Mechanics from 1932-1939 also turned up a large number of pictures and stories about streamlined trains all around the world as well as photos of "non-train" streamlining such as cars, boats and buildings.

Miscellaneous streamlined trains   Miscellaneous streamlined trains   non-train streamlining  

Photos from our review of Popular Mechanics from 1932-1939
These are available for free download below
Click to Enlarge the Pictures

We have created small files on the order of 8 KB to speed your download experience. Select your downloads from the following list:

streamlined locomotives facebook signup graphic
Join Us on Facebook

Counter for JUST THIS PAGE

website counter
Counter for the ENTIRE WEBSITE


Home | About Lindy | 1940s Collectibles | Upcoming Events | Vintage Clothes
The Guide - Establishments - Travel - 1940s Artifacts
Music | Links | Photo Gallery | Extras | Contact