The Westinghouse Roaster
The Famous Westinghouse Roaster
Hi Lindy Hoppers!!!
Our most popular Collectibles item
Westinghouse Roaster locomotives facebook signup graphic
Join Us on Facebook

Welcome, Search Engine Folks!

This page is part of a website devoted to swing dancing and retro culture from the 1930s through the 1950s. You may be asking yourself, "Why do they have a special page about Westinghouse Roasters?" The answer is purely statistical --- we get more mail about the Roasters than any other collectible. Further, we keep finding pictures of the Roasters and their associated support devices -- they were beginning to swamp their former category, Kitchen Appliances. So, to aid you with your special requests, here are some navigational tools

In addition to roasters, we have a Calendar of Swing Dancing in DC, a Directory of Vintage Clothing Stores and a Guide to 1940s Collectibles. Thanks for tuning in! Feel free to Contact Me if you have questions or want to share photographs and appliance stories with the rest of the readers.




This page is part of a website devoted to swing dancing and retro culture from the 1930s through the 1950s. You may be asking yourself, "Why do they have a special page about Westinghouse Roasters?" The answer is purely statistical --- we get more mail about the Roasters than any other collectible. Further, we keep finding pictures of the Roasters and their associated support devices -- they were beginning to swamp their former category, Kitchen Appliances.

We suspect the reason that we get so much mail is that the Westinghouse Roaster is a supremely durable product. There are effectively no moving parts. The things were outrageously expensive in the 1950s and were built to last. They are so blindingly simple that it is very easy to keep them running indefinitely. The downside is that they also appear to be stunningly inefficient. My version uses 1320 watts --- use this for three hours at Thanksgiving and your utility company can also have Turkey (including Istanbul) ... [that's a joke... we get lots of letters from electrical engineers on that subject. Let's just say that the Westinghouse Roaster doesn't get an "Energy Star"...]

The Wheel of Appliances
Wheel of Fortune/Appliances
Click to Enlarge

The Westinghouse Roaster is always included in period ads about the "ideal kitchen" -- as shown in the above photo. We have information about most of the other appliances on the "Wheel of Fortune" on out Kitchen Appliances Page, including the Pressure Cooker, the Fryryte, the C30 CoffeeMaster and the like.

 Westinghouse Roaster Ad -- 1946     Westinghouse Roaster Ad -- 1947     Westinghouse Roaster Ad -- 1950     Westinghouse Roaster Ad -- 1954

Westinghouse Roaster Advertisements
(l. to r.) 1946, 1947, 1950, 1954
Click to Enlarge


Above are a few more ads for the Roaster from 1946-1954

Click here if you are looking for parts.

If you are seeking to get a valuation for your roaster, Check this source

If you have broken the glass in the lid: Only tempered glass will work. Go to a shop that specializes in glass and have a piece made to the specific size for the roaster; after the glass has been cut to size, the glass shop will temper it so that it may withstand the heat of cooking... this will be expensive...

With all its faults, I still love my Westinghouse Roaster. It occupies a proud place in my kitchen!



The Famous Westinghouse Roaster
Westinghouse Roaster
The Famous Westinghouse Roaster

June, 1999: This is a Westinghouse Roaster Oven (Model RO-541W) and its associated Forgee (4G) stand/cart. This has a special memory for me. Early in the 1950s, my Mom and her sisters chipped in to buy one of these for my grandmother. As I recall, this must have been quite an expense because I can remember the comments my Dad made when he heard the amount. My guess is that this was more expensive than a TV set. I certainly remember Betty Furness touting the virtues of this appliance on TV. (I always wondered why my Mom didn't parade through the kitchen in an evening gown...)

Most families used this as an auxiliary oven, especially during the holidays. My personal memory is that the thing was used to make lasange for Sunday dinners (like about 25 people...). Also, on Christmas eve, the oven was used to keep Zeppole (sort of like doughnuts, but better) warm.

Thus, it was with a wave of nostalgia that I seized upon the opportunity to buy one of these remarkable devices. The fact that both pieces were only $5 (at a rescue mission in Winchester) served only to reinforce my decision.



Roaster Identification Chart



Westinghouse made kitchen roasters from 1936 through the 1960s. Thanks to Roberta, our Consulting Roaster Guru, we have been able to prepare this chart of the various models and the approximate time that they were in the marketplace.

 Westinghouse Roaster Identification chart

Westinghouse Roaster Identification Chart
Click to Enlarge

Since most of the records of the Westinghouse Company have long vanished (see below...), these dates are indeed "approximate" based largely on manuals and print ads. Don't bank on our assignment of dates...

Roberta (AKA "Adriana Monk") points out the differences in the lid-holders on the various models:

 Westinghouse Roaster Model Jubbilee (no)Lid Holder     Westinghouse Roaster Model Automeal Lid Holder     Westinghouse Roaster Model RO-29 Lid Holder

Evolution of the Lid Holder (Part 1)

 Westinghouse Roaster Model RRA-94 Lid Holder     Westinghouse Roaster Model RO-91 Lid Holder     Westinghouse Roaster Model RO0541 Lid Holder

Evolution of the Lid Holder (Part 2)

Click to Enlarge

Basically, the earliest model (the "Jubilee") did not have a lid holder. If you have used a roaster, there is always a problem of where to put the lid while you are basting -- there is a good deal of condensation and it will create a puddle if you set it down right side up. If you can manage to put it upside down on a table without burning yourself, the lid is unstable. Thus, the engineers of Westinghouse came to the rescue with the "Lid Holder". In the Automeal, theis took the form of a wire bail. In the RO-29, the lid holders are metal pieces, separate from the handles. Following this, from the RRA-94 through the RO-91, the handle plus two lid holders were molded into one piece. The RO-541 series went back to the metal pices, reverting to the RO-29 design.



Roasting the Turkey



At thanksgiving time, many of you may be wondering if you can cook a turkey in the Westinghous Roaster. The answer is DEFINITELY YES!

Turkey Recipe from the Westinghouse manual
Roasting the Turkey
From the Westinghouse Roaster Manual

In Case, you can't read this, here is the text:

Clean and stuff turkey using favorite dressing recipe. Place turkey on rack in large inset pan. If an especially large turkey is to be roasted, it may be placed in the well of the roaster-oven on a flat shallow pan and the inset pan inverted over the well to form the cover. The small pin on either side of the well will hold the inset pan in place. To clean well after roasting, wipe with a damp cloth. Do not immerse oven-roaster in Water.

Roasting Time table:
Oven Weight = weight of a stuffed, dressed turkey
(weight, temperature, cooking time)
Oven weight 8-10 LB, temp 325 , 3.0-3.5 hours
Oven weight 10-14 LB, temp 325 , 3.5 -4.0 hours
Oven weight 14-18 LB, temp 300 , 4.0-4.5 hours



This marvelous gadget was designed in 1938 and changed very little. Knockoffs of this appliance (made in China, of course) are still being sold today in a form almost unchanged from 1938. From the beginning, Westinghouse envisioned a Roaster with a Griddle and Rotisserie attachment, as shown below.

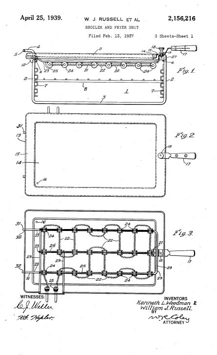
Westinghouse Roaster Exterior Design Patent D115,168    Westinghouse Roaster Heating Mechanism and Controls Patent No. 2,156,215    Westinghouse Roaster Griddle Patent No. 2,156,216    Westinghouse Roaster Rotisserie Patent No. 2,795,183

Westinghouse Roaster Patents
Exterior Design Patent D115,168
Heating Mechanism and Controls Patent No. 2,156,215
Broiler-Griddle Patent No. 2,156,216
Rotisserie Patent No. 2,795,183
Click to enlarge


My initial wonder was somewhat tempered by the fact that the thing was coated with rust. When I took it apart, I was also dismayed. This vaunted "Luxury Item" proved to have clay feet underneath its spectacular 40s moderne design. Briefly, the thing is nothing but a pressed steel pan that has been wrapped with nichrome wire (like the kind in a toaster). This is illustrated in the second patent from the left above. The inner pan is covered with fiberglass insulation (like in your walls...) and is set inside the glorious exterior. The oven draws a full 1320 watts - if you use it to cook a turkey (4 hr) you will use about 5.3 Kilowatt-Hours (KWHr) Nationally, electricity costs about 12 cents per KWHr, so it will cost you all of about six bits to prepare Thanksgiving Dinner today. It is of some interest to note that electricity prices have been among the very few commodities to actually fall from levels in the 1930s. There was no national grid and most localities were served by monopolistic companies operating small, inefficient plants. The actual sticker price of electricity for many metropolitan areas was about $0.15/KWHr in 1930s dollars. That would be about $4.50/KWhr in today's dollars! It would have cost about $0.79 (in round figures) to roast that turkey in 1939 ($24 today) -- probably about 44% of what the bird itself cost! (Turkey was ten cents per pound and an 18 pound bird is the biggest that you can fit in the Roaster.) Electricity and the Roaster were the province of the very wealthy! [A tip of our hat to reader Steve of Banning, California for helping us with our electrical calculations, and another tip to the Energy Information Agency for historical data on electricity price and inflation factors.]

We had to go to a hot rod specialty store to find a special epoxy high heat gloss white paint to refinish the rusted exterior. However, the visit paid a bonus in that we were also able to find a matching grey color to refinish the bottom. The paint took five days to cure between coats. (NOTE: this is an insulated exterior wall -- see the note at the bottom about "High Heat" Paint, particularly if you are thinking about using this trick on a Stove Top)

We were successful in restoring the roaster to its original glory. We celebrated with Lasagne --- as I watched the electricity meter speed up into overdrive.

For those with interest in the technical details, here is the a photo of the manufacturer's nameplate:

Manufacturer's data
Manufacturer's Data, Typr RO-541W
Courtesy of Jamie and Alan Myers

Here is the Text

Roaster Oven
PC 541 115 Volts 1320 Watts
Westinghouse
Mansfield, Ohio
Made in USA
Alternating Current Only
3222940

Westinghouse Roaster
Roaster with the Indicator Light "ON"
Westinghouse Roaster
The "Time Cooking Chart"
Courtesy of our friend Betty in Charlottesville, Va



The Timer
opening for the timer    opening for the timer

We were forunate to find The Timer
(left) Knockout Panel for the Timer
(right) The Timer
Click to enlarge


6-14-2000: The knockout panel in the Forgee stand bothered me for about a year --- I knew that a timer was supposed to go in there, but who ever expected to find the Timer. Then, I was at an antique mall in Manassas, just minding my own business. There, sitting on the back of a shelf was something labeled "Westinghouse Electric Clock" --- and then lightning struck! This was the missing timer! Sure enough, when I rushed home, popped out the panel and slid the timer into its proper place. It fits like a glove and works like a charm! Ain't that amazing??

One small note: the knobs that set the time are threaded and when they are turned to their maximum, they come loose. It is very rare to find a timer with all the knobs.

Thanks to Darwin, one of our reader, we now have a copy of the Timer Manual. He writes:

"... I like your site so much I thought I’d send you something to share with others: the Westinghouse Roaster timer clock manual for the model TC-81 timer clock. My sister loaned her vintage roaster to me for the Thanksgiving turkey and I became curious about it. Eventually, I came across your website for the Westinghouse Roasters and learned that her roaster and stand, model R0-541 was manufactured around 1950. And you know what? After 59 years, it will still roast a turkey with the best of them. ...

Here are the pages (out of order) for you to enlarge and print directly -- or you can Click Here to download a copy as a ".pdf".

Westinghouse Roaster Clock-Timer manual     Westinghouse Roaster Clock-Timer manual     Westinghouse Roaster Clock-Timer manual     Westinghouse Roaster Clock-Timer manual

The Clock Timer Manual
Pages are out of order...
Click to Enlarge





The Glassware
Manufacturer's data
Equipment Inside the Roaster
Courtesy of Jamie and Alan Myers

Hall Baking Dishes for the Westinghouse Roaster

Hall Baking Dishes for the Westinghouse Roaster
Click to enlarge

8-11-2000: Thanks to one of my WONDERFUL readers, I was able to obtain a copy of the Instruction Manual for the Roaster. The manual showed pictures of the original baking dishes that came with the roaster. While I was strolling throught an antique mall in Frederick, what should appear but the very same dishes with their very distinctive arch and letter "W" on the top. I was thrilled to add yet another touch to the restoration of the Roaster! They are shown in the last photo above.

Here are some more references about the Baking Dishes

The Baking dishes are the rarest components of the Westinghouse Roaster, and hence the most valuable.




The Griddle Attachment

Here is a lovely 1958 Roaster sent in by Cassie. This is in especially good condition AND Cassie has the very rare griddle attachment -- and it looks like the griddle is in its original packaging. It also looks like Cassie has all the baking dishes.

She has "posed" her Roaster to show how the Lid Support works. When the roaster is in use, moisture condenses on the inside of the lid. If you need to stir the contents or add things, you would make a big puddle if you set the lid down. The lid support allows you to rest the lid (upside down) while you deal with the food.

Cassie's Roaster
Cathy's Roaster and Griddle

The Rare Griddle
The Rare Griddle

The Griddle, Mounted
The Griddle, Mounted on a RO-91 for Use

Front
Front, Original packaging for The Griddle

obverse
Obverse, Original packaging for The Griddle




The Rotisserie Attachment

During the 1940s and 1950s, manufacturers sold expensive appliances on the basis that they were a Good Investment --- that is, they could perform many functions and would last forever. The Westinghouse corporation was no exception -- over the years, they modified the roaster so that it was practically a stand-alone stove. Here is a wonderful example of one of these attachments, a Rotisserie. There are more radiant heating wires inside the hood; a bird or roast would rotate below these wires and cook, dripping fat into the pan below. This adds about another 800 watts to the power draw. This appliance was not designed for a society with an energy shortage...

Rotisserie Attachment for the Westinghouse Roaster    Advertisement for Rotisserie Attachment -- Westinghouse Roaster    Cart for the Rotisserie Attachment -- Westinghouse Roaster    Manuals for the Rotisserie Attachment -- Westinghouse Roaster

The Rotisserie Attachment Shown on a RO-541W
(left to right)
Advertisement for the Rotisserie Attachment
Cart for the Rotisserie Attachment
Manuals for the Rotisserie and the Roaster
Click to enlarge

It could be used with the Roaster (left) or with a "Dummy" Well Pan (right)




The Ultra-Deco Roaster

More precisely, this is the Automeal roaster that was probably made sometime between 1938 and 1940

We got this note from Scott Schaut, Curator of the Mansfield Memorial Museum (Mansfield was the site of the Westinghouse factory where the Roaster was made) Scott writes:

"... I commend you on your web site and the information that is available. One you your bolggers said that they lived close to Mansfield and was going to see what was at the library on Westinghouse. Unfortunately they hardly have anything. I have been collecting Mansfield factory items for the past 13 years. Between the Museum and my personal collections we have amassed a great deal of material on Tappan, Dominion Electric and of course Westinghouse.

"...I also have the original Westinghouse Robot "ELEKTRO", that was made here in Mansfield for the 1939-40 New York World's Fair. I just purchased that last remaining archive files of Westinghouse which date from the 1930's through the 1960's.

"...I also bought with the file collection a Westinghouse Roaster. It is high deco with a black and silver stripped exterior and a beautiful silhouette of a woman. (I have never seen a woman and turkey on a platter on any other roaster) It also included the original cords and the broiler griddle and instruction manuals. It is called the Deluxe Adjust-O-Matic Roaster Grill. If you and your readers would be interested in photos and other material I can over time copy them and send them to you. I hope that you enjoy them. . ..."

Deco Roaster    Deco Roaster    Deco Roaster

Deco Roaster    Deco Roaster

Deco Roaster    Deco Roaster

Deco Roaster    Deco Roaster

The Ultra-Deco Roaster (aka "Automeal")
(Click to enlarge


THANK YOU, SCOTT!!!

Our devoted Consulting Roaster Guru, Roberta has these observations about the Automeal model.

"... In the 1939 Automeal manual, the testimonials are "Actual statements by women users who have owned Westinghouse Electric Roasters for one year or more." Since some of them specifically use the word "Automeal" and there is no mention of that name in the 1936 manual, it seems a safe bet that this model was around at least since 1938....there were two options for the dish set: either colored or clear glass. ..."

Roberta has been kind enough to scan the manual for the Automeal roaster, and you may find it in the Free Downloads section.




Roasters from Our Readers
Westinghouse Roaster locomotives facebook signup graphic
Join Us on Facebook

RO-81 model Westinghouse Roaster

RO-81 Model Westinghouse Roaster (ca 1942-1948)
Click to enlarge

November 9, 2001: Here is a postwar RO-81 model roaster (1942-1948. It is the same thing inside, but it has some color and three lights which show whether the thing is on and whether it has reached the desired temperature.



Here are some photos of an early 1950s Roaster (RO-91) and Forgee Stand that were sent to us by Randy, one of our readers from Oregon. Here's what he has to say:

Hi!
Just bought this westinghouse roaster at a garage sale near Portland Oregon. It was an end of the day special....$10.00 for the works! It seems to be in perfect shape, works like a dream (although the electric meter did whiz 'round at the speed of sound...
Anyway...just thought you might liketa see it. If you have any leads on an original manual, cookbooks, any accessories....I would love to hear from you!
Thanks and here's to roaster cookin'!

The RO-91 Model
Model RO-91 Roaster and Stand

The RO-91 Model
Model RO-91 Knockout for Timer

The RO-91 Model
Model RO-91 Top

The RO-91 Model
RO-91 Model Interior
RO-91 distinguished by the square faceplate


Here is a VERY nice RO-81 Roaster and Stand, dating (I believe) to the mid 1940s, sent in by Beth. Note the distinctive three square buttons on the control panel. Beth writes:

"A few years ago I inherited a roaster from an elderly aunt who passed away. While seaching the web, I found your site and am taking you up on your request to send pictures of roasters! Do you have any idea what year this model is? It has the glass insert in the top of the lid. "

Beth's Roaster
Beth's Roaster and Stand

Greg and Barb's Roaster

Here are some photos of a roaster sent in by our readers Greg and Barb. They write:

We came across your site doing some research on Westinghouse roasters.  We purchased our roaster on July 21, 2006 at a garage sale for $25.00!  I am sending along several pictures of the roaster.  It came complete cabinet with a clock timer, the dishes (with the arched tops), the booklet with recipes, and the small booklet for the timer!  The timer is only missing one of the small knobs.  It is in immaculate condition!

...The lady who was selling it said that she used it for Thanksgiving turkeys just a few times and it worked wonderfully.

...Incidentally, Mansfield, Ohio is about a 25 minute drive from where we live in Bucyrus.  We are in Mansfield at least 2-3 times a week.  My husband was saying that there used to be a Westinghouse plant in the town.  It would be cool to go over and check at their library in the local history section to see just where it was located!

Thanks for all the great information on the roasters!

Indeed, Greg and Barb got a FANTASTIC DEAL on this complete Model RO-91! This roaster, dating from the early 1950s is really in good condition.

Greg and Barb's Roaster  Greg and Barb's Roaster
Simply Beautiful!

Greg and Barb's Roaster
The Timer

Greg and Barb's Roaster
The Glassware

There is areason that the timer knob is missing --when you set the time back, you unscrew the knob. After a while, the knob becomes loose and falls off.

Jacki's Roaster

Our reader Jacki sent in this photo of her Model RO-541W roaster and Forgee stand, and writes:

"... Still in use at least once a week ..."

Jacki s RO-541W Westinghouse Roaster and stand

Jacki's Model RO-541W Roaster and Stand
Click to Enlarge

Raul's Rotisserie

Our reader, Raul sent us these great pictures of his rotisserie set:

Raul's Rotisserie Front
Front View

Raul's Rotisserie Left
Left Side (Motor) View

Raul's Rotisserie Right
Right Side View

Raul's Rotisserie Skewer and Cord
Skewer and Cord

Johns Rotisserie

Our reader, John sent us these great pictures of his Model RO-541W rotisserie set:

John s Westinghouse Roaster Rotisserie attachment    John s Westinghouse Roaster Rotisserie attachment    John s Westinghouse Roaster Rotisserie attachment

John s Westinghouse Roaster Rotisserie attachment     John s Westinghouse Roaster Rotisserie attachment

John's Model RO-541W Rotisserie Set
Click to Enlarge

John writes:

"... I’ve enjoyed your site for years now and have admired the devoting to the Westinghouse Roaster. I’m a long time fan of the device and have two stunning examples that see regular use. I’ve attached several pictures of the uber rare Rotisserie attachment I recently acquired. I hope they make it to posting on your site. Little is seen about them anywhere. I plan on using it Sunday. The pictures were taken yesterday evening after a complete dismantling and thorough cleaning, tweaking and lubing ..."

John was the first "fan" on our new Facebook Raoaster page




Roasters in Color
Phil's Roaster
The "Frosting Pink" (RO-541P) Roaster

A reader sent us a picture of a Pink roaster from the 1950s. They were offered in a variety of colors -- Frosting Pink, Mint Aqua, and Lemon Yellow. I got this from Melinda:

"We were just looking for information about my grandfather's Westinghouse Roaster Oven and came upon your site. We knew the roaster has been in the family for years, but were wondering how old it was. The roasters were indeed Pink. My grandfather's has a broken handle, but it is still pink and gray, and otherwise looks great. Thanks for your site. "

Here's the cover page of the sales brochure for the colored roasters:

Roasters in Color
The Versatile Roaster in Designer Colors

Our reader Cynthia (from California) sent us these lovely photos of her yellow roaster. She says: "... I intend to fully use the roaster and all its accessories, not just look at them as vintage decorations ...."

Yellow Westinghouse Roaster on Stand    Yellow Westinghouse Roaster Interior

Cynthia's Yellow Model RO-541Y Roaster
(click to enlarge)

Our reader John (with the great rotisserie shown above) sent us these photos of his 1950s Roaster in Aqua. (In "mint" condition). He writes:

"... I thought you might enjoy pictures of this stunning example of the Roaster in one of the 'designer' colors. Thanks for publishing the previous rotisserie photos I’ve sent in ..."

Aqua Westinghouse Roaster    Aqua Westinghouse Roaster    Aqua Westinghouse Roaster

John's Aqua (Model RO-541A) Roaster
Aqua Westinghouse Roaster    Aqua Westinghouse Roaster

He has all the requisite glassware...
(click to enlarge)

Recently, John acquired a PINK roaster in marvelous condition. He sent us these wonderful phoptos and writes:

"... There’s a date noted on the manual of “July 10th, 1959” in a woman’s writing style. Sadly, someone cooked something in it without the inset pan in so the inside of the Roaster has been scrubbed. Not an uncommon fate as for in the earlier Roasters cookbooks, they actually spoke of how to do that for large birds. The inset pan would then be inverted and used as the top cover. It would rest on pins that stuck out of the roasters base. I had two of the three dishes that match what it originally came with, none were with it at auction. It’d be really sharp were it not for that and the grey inset pan itself having many chips. This one runs about 25 degrees over (hotter) than what it’s set at. I’m going to tinker with my scrap (parts) oven for some sort of calibration ability. I had to hand paint back in the “Time-Temp” stencil on the pull out drawer ..."

Pink Westinghouse Roaster    Pink Westinghouse Roaster    Pink Westinghouse Roaster    Pink Westinghouse Roaster

John's Pink (Model RO-541P) Roaster
Pink Westinghouse Roaster    Pink Westinghouse Roaster    Pink Westinghouse Roaster

We love the Table and the art in the background...
(click to enlarge)

Here is a lovely 1936-1938 "Jubilee" Roaster sent in by the newest addition to our "Roaster Roster", the celebrated 40s Phil of Indiana. This is the earliest roaster that I have seen and those red handles are just awesome! Roaster fans all over the world are drooling, Phil!

Phil's Roaster
Phil's 1938 Roaster

In March, 2011, Roberta found a Model RRA-4, which is the downscale version of the "Jubilee".

Westinghouse Roaster RRA-4    Westinghouse Roaster RRA-4

Roberta's Model RRA-4 Roaster
Click to Enlarge

She writes:

"... Thought you might like to see this interesting little piece I came across...I think it's basically the same as the one with red handles that 40's Phil has, except that the handles aren't red. (And it's a bit battered...) The Model Number is RRA-4, and it's only 1150 watts. Also a little smaller than the later Roasters, possibly 16 quart like the Westinghouse "Standard" Electric Roaster. What's that? You say you didn't know there was a 16-quart Standard model? Neither did I, but I've founds some interesting documentation (See below). Another antiquated feature on this oldie is that the feet and handles are wood. You can see, stamped right into the sheet metal on the front, that this particular one was a "Demonstrator" and was not intended for sale, so I'm not sure if the "real" ones had wood or plastic (bakelite?) handles. (Phil's red-handled beauty certainly looks to have plastic handles and feet, though I suppose that could just be a fancy paint job.) Sadly, this one doesn't seem to power up; I didn't leave it plugged in long, but I didn't detect any heat. Could be that, as a Demonstrator, it doesn't have all the internal workings. Or some of those workings aren't. Working, that is. Or the cord is bad, and, since the pin spacing is closer than on the other Roasters, I haven't got another cord to try it with. I may have to do an autopsy to find out what's going on. Regardless, I'm happy with it - makes a great showpiece, and I certainly have enough working Roasters for all my Roasting needs. ..."

Westinghouse Appliance Brochure    Westinghouse Appliance Brochure    Westinghouse Appliance Brochure    Westinghouse Appliance Brochure

The Westinghouse Appliance Brochure
...and Price List!
Click to Enlarge


Roberta was kind enough to scan the appliance brochure that came with the roaster and we now make it available for free download. You will LOVE the Price List!

Here is a photo from one of our readers who has THREE roasters!

Three Roasters at once
This home really appreciates the Roaster!

Here is a Roaster owned by reader Russell. Here is the information on the base Plate:

Cat. No. RO-81 115 Volts 1320 Watts
Mansfield, Ohio
Made in the USA
Alternating Only
H154878

Russ wants some help in dating this Roaster. This is a Model RO-81, distinguished by the row of three square buttons. They were sold during the period 1945-1948. Since appliances were not made during WWII, it is conceivable that this could have been designed in the 1930s.

Russells 1940s Roaster    Russells 1940s Roaster    Russells 1940s Roaster

Russell's 1940s Roaster
(click to enlarge)

Here is a nice letter from one of our readers who didn't realize what he had. He was about to throw away a fairly rare 1940s roaster that may even be older than the one Russ has.

He writes:

"... was really looking for the glass that was broken on thanksgiving day...Did not realize it was so old!We did do a 20 pound turkey in it , and was cleaning up when the glass fell out and broke into 1000 pieces.... Is it worth anything to anybody,or do I put it out for the trash ..."

 1940s Roaster     1940s Roaster     1940s Roaster

A Rarer RRA-94 Prewar 1940s Roaster
Click to Enlarge

All he has to do is buy a less rare 1950s roaster and switch out the lid.

We got these photos from our reader Lisa. She'd like some help in placing a date on the Roaster.

 Lisa s Roaster     Lisa s Roaster

A Rarer 1940s Roaster
Click to Enlarge

Here are my observations:

This is a 1940 RO-29.You are lucky to have the timer!!

We received this note from our reader Andi, out in Montana. She writes:

"... Howdy! I am so excited to show off my fabulous roaster/stand....this was purchased today for $15 at a local yard sale, and it I think it will be one of my favorite treasures yet. I can't believe the shape it's in...virtually no wear at all. The man who sold it to me said he remembers every year of his childhood waking up to a turkey on baking in it on Christmas morning. It is in working order and I can't wait to try it out. ..."

 Andi s Roaster     Andi s Roaster

Andi's RO-91 Roaster
Sold between 1949 and 1953
Click to Enlarge





The Roaster and the Atomic Bomb

Parts for a Roaster were an integral part of the detonator mechanism for Fat Boy, the Nagasaki bomb.

Of course, that is not true... However, a reader sent us this photograph of an actual kitchen in the Luxury (?) apartments (Sundt Block) of the Los Alamos project (Site Y) in about 1944. We are told that the Army furnished the scientists with wood stoves. Note that the family has augmented its cooking capacity by adding a Roaster.

Los Alamos Roaster
The Roaster at Site Y

If you would like to see more photos of day-to-day life of real people who worked on the Manhattan Project, check out the website of the Manhattan Project Heritage Preservation Association.




FREE Downloads of Roaster Manuals

I am very greatly indebted to my reader Roberta, who painstakingly scanned several manuals and brochures. I am very pleased to make these available to my other readers, free of charge.

 Roaster Manual 1936    Automeal Roaster Manual 1938    RRA-94 Roaster Manual    RO-29 Roaster Manual    1952 Roaster Manual     Roaster Manual

Free Manuals Available to you!
(l.to r.) 1936 Manual,"Automeal" Manual, RR-94 Manual, RO-29 Manual, 1952 Manual, 1956 Manual
See below for download instructions
THANK YOU, ROBERTA!
Click to Enlarge


We have arranged these manuals in easy-to-download 8MB pieces. I'm sure that you will have a fun time looking at the pictures and trying the recipes.

In addition to the Roaster manuals, Roberta (THANK YOU!) has privided a rather lengthy WWII Era book on the care and use of electrical appliances that is (of course) a thinly veiled advertisement for other Westinghouse products. Note that on the cover, the stylish young lady is portrayed as a homemaker, volunteer, worker (in a defense plant) and Mother.

 Care of Appliances Brochure

The Care and Use of Electrical Appliances in the Home
"There's a LIFT to Living Electrically"
See below for download instructions
THANK YOU, ROBERTA!
Click to Enlarge


We have divide this rather lengthy brochure into four 8MB segments for easy download:

Please feel free to send us scans of any Roaster Manuals or brochures that you may have.




Other Roaster Manufacturers


GE Roaster
The General Electric Oven Roaster

Westinghouse wasn't the only company making roasters. Here's the cover of the instruction manual for the General Electric version.



The EverHot Roaster


We are indebted to our reader Andrea for sending us these lovely oictures of an EverHot Roaster made by the Swartzbaugh Manufacturing Company of Toledo, Ohio. Andrea has this to say about her EverHot Roaser:

"... I think my Everhot roaster may be older than the oldest one on the Westinghouse Roaster page.It has the distinctive 'Art Deco' styling. It is a series A/B - the A has been overstruck with a B. It was received as a wedding present in August 1937 and was never used. The interior is pristine. I have the original box which is a bit fragile.And I have the original instruction and recipe book. ..."

 Everhot Roaster     Everhot Roaster     Everhot Roaster

The Everhot Roaster Exterior

 Everhot Roaster     Everhot Roaster     Everhot Roaster

Details of the Everhot Roaster

Click to Enlarge

The EverHot Roaster was designed as a competitor to the Westinghouse Roaster -- it even had its own Timer and Stand -- which closely resemble the Westinghouse products.

 Everhot Timer Switch     Everhot Roaster Stand, Design Patent D-146,326

Accessories for the Everhot Roaster

Everhot Roaster Stand, Design Patent D-146,326
Click to Enlarge


The Swartzbaugh folks were pretty smart. Here is an article about how the Swartzbaugh brothers planned to deal with the priority allocation of metals during World War II

 Everhot Roaster        Everhot Roaster

Details of the Swartzbaugh Company

Click to Enlarge

Alas, after the War, the Swartzbaugh folks fell victim to McGraw Edison and ultimately to the depredations of the Bersted Company, known for cheap, cheesy Drug Store Appliances. And, the lovely Art Deco styling of the roaster slowly vanished. Andrea not only sent us photos but also the Manua for the Everhot Roaster.

 Everhot Roaster     Everhot Roaster     Everhot Roaster

Everhot Roaster Ad and Pages from the Manual

Click to Enlarge

We have scanned the manual into three easy-to-download parts:

  • Click to Download Part 1
  • Click to Download Part 2
  • Click to Download Part 3

THANKS, ANDREA!




Parts for the Roaster

Roaster Specifications
Only "You Guys" would be interested in technical details...

In general, it is not possible to find parts for the Westinghouse Roaster, per se. On the other hand, you might try the Factory services Catalog for some items like cords and light bulbs. I have even seen replaccement cords that will work with the Roaster in Home Depot and Lowes stores. The T-43 indicator bulb may be found at Radio Shack. You might also want to check out Nelson Appliance Cords




Why Are Parts Hard To Find?

Westinghouse was one of America's industrial powerhouses -- literally and figuratively. The company made thousands of useful products and employed many, many people in good, solid, stable jobs. Here is a photo of a gigantic monument to George Westinghouse that still stands in Schenley Park on the East Side of Pittsburgh. The monument shows "youth" (in the foreground) gazing across a large reflecting pool ("history") remembering the achievements of Mr. Westinghouse, listed in detail on the various panels. Indeed, these achievements are significant and worthy of admiration - the Air Brake, the Dynamo, Broadcast Radio, in short all the precursors of our modern society.

The Westinghouse Monument
The Westinghouse Monument in Schenley Park, Pittsburgh, Pennsylvania
There really was a time when Americans made something besides Hamburgers and Lawsuits

During the 1980's and 1990's, Westinghouse Electric Corporation sold all of its industrial assets and focused on its media businesses. In 1997, Westinghouse was renamed CBS Corporation and in 2000 merged with Viacom Inc. (a media company). Westinghouse is a subsidiary of Viacom Inc. and licensor of the Westinghouse name for consumer products. In 1972, the historical Westinghouse small appliance business was sold to Scoville Manufacturing. Scoville went out of business in the 1980's. Today's Westinghouse appliances are made by Salton (phone 800-947-3745, e-mail salton@saltonusa.com). Needless to say, they are manufactured in far-off dictatorships where "Unions", "Benefits" and "Decent Life Style" are not words in the language. You provide the money while smirking MBAs conspire with foreign tyrants to reap the rewards. If the monument (above) were to be constructed today, "youth" would be shown burdened with debt and insecurity while being forced to gaze across a vast ocean to watch the antics of sybaritic foreign potentates as they are served by a cadre of shameless Americans who are willing to sell out the future for a BMW today.

Principally due to a large tax deduction, most of the Westinghouse corporate historical records were given to the George Westinghouse Museum, 325 Commerce Street, Wilmerding, PA 15148; phone: 412-823-5000; e-mail museum@georgewestinghouse.com; website http://www.georgewestinghouse.com/museum.html; or the Senator John Heinz Pittsburgh Regional History Center, 1212 Small Street, Pittsburgh, PA 15222; phone 412-454-6000; e-mail hswp@hswp.org.




Note About "High Heat" Paint

The paint which I used on the insulated sides of my roaster may be found at auto specialty stores Click Here for one source of the paint. This is gloss white auto engine paint which is good up to 500 degrees Fahrenheit. It's about $6 a can plus about $4 in shipping. For a roaster, buy two cans "just in case". You must be VERY VERY careful in applying the paint. The surface must be cleaned several times with a high quality degreaser. Then it must be "etched" with an acid product. (Paint will NOT stick to a smooth porcelanized surface). Finally, the paint must be evenly sprayed on the surface in many small coats. Allow plenty of time for each coat to harden thoroughly before applying the next.

HOWEVER!

Do NOT use this technique for a Stove Top!! The sides of a roaster are a whole lot different than an actual stove top. An electric range can have temps that may exceed the 500 degree mark. Further, on a stove the finish is actually exposed to the radiant heat from either the electric element or the gas flame. Even muffler or header paint which goes up to 1500 degrees might yellow under these circumstances (besides, gloss paints can't be made for these temperature ranges).

If you want to refinish a Stove Top, look in your yellow pages for auto repair paint shops. What you want is something called a "powder coat" which is used for all kinds of high heat or high corrosion situations. Hot rodders want their exhaust systems to be glossy colors, and many restorationists want the actual frame of the car to be totally impervious to rust. In this process, a powder is affixed to the metal and then baked on under high heat. This is almost the same thing as firing a clay pot with enamel, or the process used to make your stove top. This is STRICTLY NOT a do-it-yourself project and can be expensive because the materials are useless shortly after the can has been opened. You might find a fellow who is going to do a gloss white batch and maybe he will include your stovetop in the lot.

Restored stoves often sell for for $1,500 - $3,000 because it is SOO difficult to refinish the porcelain.

Send us pictures of YOUR Westinghouse Roaster!

Westinghouse Roaster locomotives facebook signup graphic
Join Us on Facebook

Counter for the Entire Website - not just this page


website counter



Home | About Lindy | 1940s Collectibles | Upcoming Events | Vintage Clothing
The Guide - Establishments - Travel - Accessories
Music | Links | Photo Gallery | Extras | Contact