Visit to a 1930s appliance show
A Visit to a 1930s Appliance Show
Hi Lindy Hoppers!!!
You Could Almost Wear Formal
Westinghouse Refrigerator Ad - Spring Show
In the 1930s Appliances Were Sold like Haute Couture
...much more expensive than you'll believe

Thanks to our friend "Acme Ron" in Phoenix, we are going to take you back to an Appliance Show held sometime in the late 1920s or early 1930s. From your perspective, the refrigerators, ranges, washers, etc. are pretty mundane -- everyone has these things. However, eighty years ago, things were very different -- those noisy and small General Electric (GE) "Monitor Top" refrigerators were the cutting edge of technology. They sold for $215 when $1/day was a good wage for workingmen (The Average Joe of the time would have had to work almost 7 months to earn enough to pay for this. $215 then is equivalent to about $10,000 today.)

The Appliance Show was just a little bit more upscale than the Appliance Store. Here is a photo of a typical appliance store of the late 1920s

Schneider Appliance Store 1929

Schneider's Appliance Store
circa 1929... Click to Enlarge

So, as you look through these photos, put yourself in the mindset of going to a fabulous home design expo to see all the marvelous (and expensive) things that the rich and famous have today. Also, make a note that these items, overpriced in 1932, were to become commonplace. So, if some movie star, drug dealer, or environmental lawyer has an exotic gadget today, you'll be able to afford one tomorrow.

For those of you who came in from a search engine with a specific interest, here is a quick way to navigate the page:

Others should just scroll along and pretend that they are walking around the show.



The GE Booth(s)

Here is the booth of the Pacific Tire Company, one of two purveyors of General Electric appliances at the show. At the time, many stores that dealt with auto products diversified into home appliances. Examples are the Western Auto chain and Firestone stores.


The GE Booth
The Pacific Tire Company Booth
Click Photo to Enlarge It

Here is the booth of the L.H. Bennett Company that seems to be offering the same products as Pacific Tire. The only difference seems to be that the Bennett Company has taken great pains (and 24 inch letters) to advertise its "4 Year Service Plan."


The GE Booth
The L.H. Bennett Company Booth
Click Photo to Enlarge It

GE was popular at the show: the L.E. Kinkaid Company offered GE appliances as well. This booth features a display that shows clearly how the "Direct Drive" dishwasher (see below) works.


The L.E. Kinkaid Booth
The L.E. Kinkaid Company Booth
Click Photo to Enlarge It


The Refrigerators

Household refrigerators, of a sort, had been on the market for about 20 years before this photo was taken. GE was the first, marketing in 1911 a wooden model invented in France by a French monk, Abbé Marcel Audiffren. Called the Audiffren, it sold for $1000, twice the cost of a car, and was produced in France. Spurred by World War I, the first successful US-made refrigerator to enter full scale production in the US was the Kelvinator after Lord Kelvin the father of Thermodynamics. Introduced in 1918, it was made of wood, and looked pretty much like a small bedroom night stand, with a single door. (See the Westinghouse page below).

Frigidaire, purchased by General Motors in 1919, introduced its first home refrigerator in 1921, when there were only about 5000 refrigerators in the US. Also in wood, it was larger, about the size of a bedroom armoire, or wardrobe, with three doors. By 1923, there were 56 companies making refrigerators, using dangerously toxic fluids as the compressant, such as sulfur dioxide, methyl chloride, or ammonia. In 1927, GE invented the first Monitor Top refrigerator, a hermetically sealed unit with the GE-invented all-steel cabinet, which at the time, only came in white. It was known as the Monitor-Top because the condenser was on top of the refrigerator in a separate enclosure that looked like the turret from the U.S.S. Monitor, the famous ironclad ship from the Civil War.


Ad for the GE Monitor Top    Ad for the GE Monitor Top

Advertisements for the Monitor Top
(left) Suggests that the Monitor-Top Would Last Longer Than Time
(right) Dollars and Sense argument
Click Photo to Enlarge


This one-of-a-kind iconic unit was one of the first "affordable" refrigerators for the "average" American family, costing about $215 at the time for a basic model. (i.e. an 80% reduction from the "boutique" price, but still a very serious expenditure) They were produced from 1927-1937 and became a universally recognized icon. Note that a lot of the appliances have Queen Anne style "legs". This made it easy to clean under the device.


Ad for the 2-door GE Monitor Top   Ad for the GE Monitor Top
(L.) The Two-Door Model (R.) Good for the Whole Family
Click Photo to Enlarge

Freon was discovered in 1930 by Delco chemist Thomas Midgely. Non-toxic, Freon was adopted by all manufacturers, and refrigerators became safe for use in the home, until it was found to be creating a hole in the Ozone layer. Now, other environmentally safe (but much more expensive...) chemicals are used.

Apparently, the Queen Anne legs were not compatible with the Streamlined Era -- In 1929, just two years after the "Monitor-Top," the Kelvinator Four refrigerator debuted with a flat top. Its cabinet and compressor were cleanly encased in a simple white metal box. It set the design type form for home refrigerators for the rest of the century.


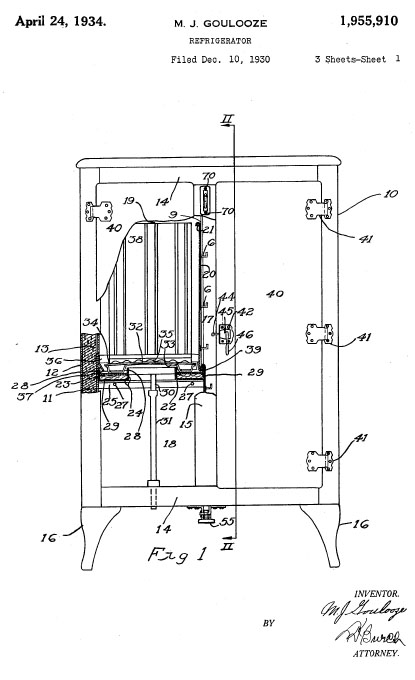
GE Monitor Top Patent No.2,059,016    GE Monitor Top Patent No. 2,002,444    Kelvinator Four Patent No. 1,955,910

Patent Diagrams for the Monitor Top and Its Major Competitor
GE Monitor Top Patent Nos. 2,059,016 and 2,002,444
Kelvinator Four Patent No. 1,955,910
Click to Enlarge

Click here if you want to learn how to get Patent Drawings

From then on, it was a battle of the Industrial Designers...

General Electric, noticing the success of the Kelvinator Four, engaged Henry Dreyfuss to re-design its Monitor-Top, who designed a flat top version, placing the compressor beneath the cabinet to achieve the simple white box shape. The design was introduced under both the GE and Hotpoint brand names in 1933. Norman Bel Geddes designed an Electrolux refrigerator for Servel in 1934, who had introduced their first model in 1926, using a gas-heat absorption system invented in Sweden. In 1935, Sears, Roebuck & Company wanted to join the fray, and asked Henry Dreyfuss to design a refrigerator for them. He was too busy, so recommended Raymond Loewy. Subsequently, Loewy did the Coldspot Super Six for Sears, making it a leader in the industry, and, not incidentally, providing Loewy with his first major career boost. (We'll see more of Loewy further on down this page...)


Dreyfuss-designed GE Flat-Top Patent No.2,114,880    Norman Bel Geddes Servel Refrigerator, Patent D-95,817    Raymond Loey Sears Refrigerator, Patent D-103,823

Industrial Design Enters the Kitchen!
Dreyfuss-designed GE Flat-Top Patent No.2,114,880
Norman Bel Geddes Servel Refrigerator, Patent D-95,817
Raymond Loey Sears Refrigerator, Patent D-103,823
Click to Enlarge

Click here if you want to learn how to get Patent Drawings

Although the photos shown below come from the 1940s, they will give you some idea of what conditions on a refrigerator assembly line were like

Life on the Refrigerator Assembly Line   Painting on the Refrigerator Assembly Line
The Refrigerator Assembly Line c. 1946
Click Either Photo to Enlarge It



The Dishwasher

1909 the Walker brothers, hardware merchants in Syracuse, applied for and received a patent for a new dishwashing machine. As a marketing dvice (to see if anyone would be interested in buying their machines),they sent out postcards showing a rather small lady operating the machine prospective customers . The response was so good that they decided to manufacture the machines in the rear of their store. The 1911 model shown below included a pulley and a belt so the machine could be operated "automatically" by means of a gasoline engine. Of course like the earlier dishwashers the machine still need to filled with water and emptied by hand.


The 1911 Walker Dishwasher  The 1918 Walker Dishwasher
Early Walker Dishwashers (l.) 1911 (r.) 1918
Not Exactly the Stuff that Dreams Are Made Of

In 1913 when the Walker Brothers hardware store was wired for electricity they produced thier first electric dishwasher. It sold for $120 as compared to the $20.00 hand crank model. Following World War I, the Walker dishwasher took on a new look. The tub was smoothed out and painted and the legs were shaped to harmonize with the age of short skirts. The building boom of the early 1920's stimulated the design of a Dishwasher-Sink combo which drew the attention of the builders of the day. These early machines were driven by an external motor through gear

s or pulleys. In 1927 the Walkers introduced their first direct drive model, in which the shaft of the motor provided the power to move the basket directly without any gears.

The 1924 Walker Dishwasher  The 1927 Walker Dishwasher
In-Sink Dishwashers (l.) 1924 (r.) 1927
These Models Convinced GE

In 1930 GE acquired the Walker Brothers Company and moved the dishwasher production to the Hotpoint factory in Chicago. The first General Electric branded dishwasher was produced in 1932. It had a square tub, a single control handle, rubber coated steel dish racks and the first automatic water level measuring valve. The free standing unit (shown in the Pacific Tire photo) had a front panel which served as a shelf when raised.

Insink Dishwasher Patent No. 1,583,710   Loading the Insink Dishwasher   Insink Dishwasher with garbage disposal
Operating the Insink Dishwasher
Dishwasher Patent No. 1,583,710
Click Either Photo to Enlarge It

Click here if you want to learn how to get Patent Drawings


General Electric still uses "Direct Drive" in is advertising.

Those of you with need for even more detail about the history of dishwashers should consult this website.



The Hotpoint Range

So, why were all the GE appliances named Hotpoint?

Earl H. Richardson was a meter reader for the Ontario Power Company in the early 1900’s. (This is Ontario, the suburb of Los Angeles, not the place in Canada...) In his spare time, he experimented with electrifying flat irons. Designing a small, lighter weight model (flatirons could weigh 5-10 pounds each), he convinced his company to generate power all day every Tuesday (ironing day) so power customers could use his new iron. He reasoned that if enough electric irons were in use, customers would demand more power and the high rates would be reduced. It worked. By 1904, he left the power company and started up the Pacific Electric Heating Company on Euclid Avenue just below the railroad tracks to manufacture electric irons.

A major problem was soon identified: the iron got too hot in the center of the ironing plate. Richardson asked his wife Mary for advice. She suggested that he make an iron with more heat at the point for easier pressing around buttonholes, ruffles and pleats. He fabricated this new improved version and gave several to local laundresses to try for one week. When he returned, they refused to part with "the iron with the hot point". In 1905, he made and sold more electric irons under the"Hotpoint" name than any other company in America.

I love this part!

Between 1911 and 1917, Richardson found other innovative ways to marry electricity with household appliances. Thus was born the "El" line (El meaning "electric"): El Perco (an electric coffeepot), El Chafo (chafing dish), El Tosto (electric toaster), El Stovo (an early hotplate), El Eggo, El Teballo (electric teapot),El Boilo (an Immersion Heater) and El Warmo (electric heating pad). An early crockpot, (the "jug cooker) came out in 1929.


El Perco Ad
Saturday Evening Post Ad for the El Perco, y mucho mas

Here are some of the patents that Earl Richardson and his employees at the Pacific Electric Heating Company obtained:

Patent for the Calrod Electric Stove Heating Element, No. 780,226   Patent for the Iron with the Hot Point, No. 792,792    Patent for Submerged Heating in a Percolator, No. 1,092,523   Patent for an Electric Curling Iron, No. 900,292

"El-Patents" de Hotpoint
Patent for the Calrod Electric Stove Heating Element, No. 780,226
Patent for the Iron with the "Hot Point", No. 792,792
Patent for Submerged Heating in a Percolator, No. 1,092,523 [viva El Perco]
Patent for an Electric Curling Iron, No. 900,292 [possibly the "El Curlo"]
Click to Enlarge

Click here if you want to learn how to get Patent Drawings


The Curling Iron may take some explanation: at the time, ladies heated their curling iron by using an alcohol burner. The hot iron would be wound around the hair to permanently alter the fibers of the hair, creating curls. The "El Curlo" model would have screwed into a lamp socket! When it was hot enough,, milady would use the wood handles to unscrew it and proceed with heat treating her hair.

We were thrilled and delighted when our reader Kevin actually found an "El Perco". He devoted a lot of time and energy in taking (and sending) these excellent photos.

Kevin's El Perco    Kevin's El Perco    Kevin's El Perco

Exterior of the "El Perco"

Kevin's El Perco    Kevin's El Perco    Kevin's El Perco

Details of the Handle and the Manufacturer's Plate
Click to Enlarge

We were even further overjoyed when our reader Terri sent us pictures of her El Boilo, an immersion heater:

Terri s El Boilo

The El Boilo
Thank You, Terri!!
Click to Enlarge


During our extensive resarch, we found a highly copyrighted photo of a sign in the Arizona Power Company and Prescott Gas and Electric, (dated March 28, 1916) lists the costs of operating various electric appliances, such as"El Grillo, Toast and Eggs 12 cents";"El Tosto, 8 slices toast 12 cents";"El Perco, 7 cups coffee 11 cents";"El Chafo, Welch Rarebit 11 cents"; El Boilo, Heat Your Shaving Water 6 cents";"El Stovo, 12 cents"; El Comfo, 1 cent";"Curling Tong Heater 6 cents";"El Teballo, "El Teballo, 11 cents"; "Iron with a Hotpoint Iron 11 cents". If you visit the above link, you'll see that on display are several types of light fixtures and light bulbs, a hot water heater, a gas stove and a vacuum cleaner. Small appliances such as toasters ("EL Tosto") and a waffle iron appear to be for sale as well as several lamps, including an Arts and Crafts style table lamp in the foreground. There is only one light fixture which is not for display high above the work area - not very good lighting for a power company. Multiply by about 30 to find equivalents in 2008 dollars - the El perco would have cost you about $3.30 in electricity alone to brew 7 cups of coffee (close to 50 cents per cup!)

I think that if I could have any one of these, it would be the "El Perco", although the "El Stovo" would be a close second. These certainly are "non-PC".

With World War I raging in Europe, a merger was proposed with Richardson’s Hotpoint Electric Heating Company, George Hughes (owner/inventor of the electric range) and the heating device section of the General Electric Company. The new company, formed in 1918, was known as the Edison Electric Appliance Company. In 1952, Hotpoint became a division of the General Electric Company. The Ontario plant continued to manufacture electric irons until it closed in 1982.

It gets better:

Several milestones marked the Ontario plant’s history: the 20 millionth iron (gold-plated) was presented to Una Winter, Earl Richardson’s sister in 1941; the 50 millionth produced in 1956 with President Eisenhower looking on; the 100 millionth in 1969 and the 150 millionth in 1980. Legend has it that in 1982, the last iron was buried in the grounds of the Ontario plant.

"Hotpoint" became the generic name for all of GE's resistance heat devices. As far as stoves are concerned, GE acquired the patents for a removable burner element called a "calrod". The metallurgical properties of this gadget enebled the burner to reach cooking temperature in a very short time. It also made it easy to change burner elements. This was a major advertising gimmick. here is an ad from the Montreal Jewish News from August of 1927:


Ad for the Hotpoint Range
The Calrod was the Key to the Hotpoint Range

Ad for the Hotpoint Range
Here's a lady cooking on the mirror image of the range at the trade show

Although these photos come from the 1940s, they will give you some idea of what conditions on a Hotpoint assembly line were like

Life on the Hotpoint Assembly Line   The Hotpoint Assembly Line
The Hotpoint Assembly Line c. 1946
Click Either Photo to Enlarge It

The Magic Maid Mixer

In the background, you will see a "Magic Maid" fold-away mixer, designed by Patrick J. Fitzgerald of Torrington, Connecticut. The mixer dates from the early-1930s. The photos were sent to us by our friend "Acme Ron" from Phoenix.


 The Magic Maid Mixer     The Magic Maid Manufacturer's plate      Magic Maid Patent No. 89,565(folded)

The Magic Maid Mixer
Manufacturers Plate
Magic Maid Patent No. 89,565(folded)
Click to Enlarge

Mr. Fitzgerald provided a very ingenious mixer with a handle and locking device that allowed it to supply power in both a vertical mode (mixing) and a horizontal mode (juicing), cutting, etc.

 Magic Maid Patent No. 89,565 (Vertical)     Magic Maid Patent No. 89,565 (Horizontal)     Magic Maid Patent No. 1,898,945 (Internal)     Magic Maid Patent No. 1,898,945 (Juicer)

The Versatile Magic Maid Mixer
Patent No. 89,565 (Vertical)
Patent No. 89,565 (Horizontal)
Patent No. 1,898,945 (Internal)
Patent No. 1,898,945 (Juicer)
Click to Enlarge
Click here if you want to learn how to get Patent Drawings

So, with that, we bid farewell to the Pacific Tire Booth.



The Chanslor and Lyon Booth
(Leonard Appliances)

Chanslor and Lyon were the dealership for Leonard appliances. You'll note their clever use of cutout figures of housewives using the product.


the Chanslor and Lyons Booth Leonard Appliances
The Chanslor and Lyons Booth
Click Photo to Enlarge

Those cardboard cutouts are serving a purpose -- they are illustrating the New Feature for 1932, the "Len-a-Dor" foot controlled door latch (red arrow) that was specifically designed to aid "The Juggler" -- the busy housewife with both hands full of dishes.


1932 Leonard Appliances ad
The 1932 Leonard Refrigerator
..with the Len-a-Dor

The Leonard Company was founded in 1881 by Charles H. Leonard in Grand Rapids, Michigan. The famous Leonard "Cleanable" Refrigerator came about after a mishap in the Leonard home: a pail of hot cooling lard was left inside an ice box on top of a cake of ice, resulting in melted ice, a spilled pail and cooled lard spilled all over. Charles created his refrigerator with removable liners and flues. In 1885, Leonard introduced metal shelves and improved the door-locking mechanisms. 1907 saw the introduction of porcelain lined interiors, which further enhanced the cleanability and sanitation of refrigerators. The refrigerator cabinets were made of highly varnished carved-oak, brass fixtures, and enhanced with mirrors. Electrical refrigerators were introduced in 1918, and by 1925, Leonard was building one out of every five refrigerators produced in the United States, which amounted to 1000 refrigerators per day. Leonard merged with Kelvinator in 1926. The Leonard brand of appliances continued to be sold exclusively through Leonard dealers (such as Chanslor and Lyons), as well as through Canadian and English dealers.



The Norge Booth

This photo shows an owlish salesman surrounded by Norge refrigerators and vacuum cleaners. Note the interesting art deco rug in the foreground.


the Norge Booth
The Norge Booth
Click Photo to Enlarge

The Norge refrigerator line was headed by a brilliant engineer named Howard Blood who dabbled in both technical and aesthetic aspects of refrigeration. Of some note, the early Norge refrigerators were among the first to offer "features" in addition to a cold box. The following patents illustrate adjustable shelves, and a "water reservoir" the fore-runner of today's Ice and Cold Water dispensers. Of note, Mr. Blood also designed the distinctive base that the refrigerator cabinet sat upon.


Howard Blood Design for the Norge Base, D-92,158   Norge Adjustable Shelves, patent No. 2,080,907   Howard Blood Design for a Cold Water Reservoir for the Norge Refrigerator, Patent No. 1,867,135

Norge Refrigerator Features
Howard Blood Design for the Norge Base, D-92,158
Norge Adjustable Shelves, patent No. 2,080,907
Howard Blood Design for a Cold Water Reservoir for the Norge Refrigerator, Patent No. 1,867,135
Click to Enlarge


This year's big technical advance was the "rollator" that was promoted very heavily. The company sponsored $25,000 Crossword Puzzle Contest (a VAST sum in the middle of the Depression) to make people aware of the vast benefits and advantages offered by this marvelous scientific breakthrough. In fact, the gadget was invented in the 16th century! This device is basically the rotary pump with an eccentric piston first described by Ramelli in 1588, although in that instance the rotary drum was located above the center of the cylinder, such that the weight of the blades was to effect closure. This mechanism has had application as a water pump amoung other uses. Eventually, the general principle found common usage in household refrigerators of which the Norge "Rollator" compressor was an example in the 1950's. This turned out to be a lot more efficient than other forms of compression and formed the basis for Norge's claims that (1) vast amounts of money could be saved and (2) the machine was ideally suited to the tropics where cooling loads would be high.


1932 Norge Rollator ad   Ramelli Crank Mechanism
The 1932 Norge Refrigerator
..with the the Rollator

The Norge company history is a sad tale of corporate mergers. Norge was bought by Magic Chef which in turn was absorbed by Maytag which is now a division of Samsung. Today, the Norge refrigerator is mainly remembered for Dan Ackroyd's portrayal of a Norge repairman on Saturday Night Live.

It also appears that the salesman is offering the Premier Duplex vacuum cleaner:


Premier Duplex ad   Premier Duplex ad

Advertisements for the Premier Duplex Vacuum
Click Either Photo to Enlarge

The Premier Duplex vacuum "system" offered the lady of the house the opportunity to vaccum and scrub floors. (The vaccum configuration is on the table, the scrubber is on the floor). This was a fairly expensive "multi-function" appliance. In general, the appeals were based on savings of time, so a larger up-front outlay meant more leisure time in the future. These appliances were manufactured in Cleveland, Ohio. Through the miracle of YouTube, here is a video of the Premier Duplex in action



The Maytag Booth

Right next to the Pacific Tire Company was the booth of the "Maytag West Company" featuring a big display of marvelous washing machines and two wide-awake salesmen.


the Maytag West Company Booth
The Maytag West Company Booth
Click Photo to Enlarge

Howard Snyder, a former mechanic whose inventive genius had led him to eventually head Maytag's development department came up with one of the most significant inventions in laundry appliance history. Its revolutionary washing principle was to force water through clothes with a vaned agitator mounted in the bottom of the tub.

Maytag first introduced this type washer in 1922, and it was a great success. The new washer design put Maytag exclusively into the washer business, prompted the end of farm equipment manufacturing and propelled the company to a dominant position in the young laundry appliance industry.


Trainloads of Maytags
Shipping Washers Five Trainloads at a Time

Trainloads of the Maytag "Gyrafoam" washers went out from Newton plant, and by 1927 the company had produced its first million. It has now produced more than 40 million laundry and kitchen appliances.

In 1925 the company went public with a listing on the New York Stock Exchange. The company did not, however, turn its back on its rural base. It soon began providing butter churn and meat grinder attachments for its washers and adapted it Multi-Motor for use with a cream separator and, in the 1930's to function as a light generator. The power take-off for these appliances is shown in the picture. In 1924 an iron had been introduced as a companion appliance to the Maytag washer. From 1926 to 1940 the company was headed by E. H. Maytag, another son of the founder.

Although these photos come from the 1940s, they will give you some idea of what conditions on a Maytag assembly line were like

Maytag Assembly Line
The Maytag Assembly Line c. 1946
Click Photo to Enlarge It

Maytag continued with a reputation for excellence, as typified by its iconic trademark -- the repairman who has nothing but time on his hands. Alas, Maytag was sold to Whirlpool in 2006, the Newton factory was shut down and all work outsourced to China. Consumer Reports indicates that Maytag is now right at the bottom of the quality scale... Apparently, the Chinese don't do washers any better than they do Human Rights.

Looking to the left, there is also another photo of the Magic-Maid Mixer in the Pacific Tire Booth.



The Westinghouse Booth

With the Girls Scouts as their neighbor, the Colvin-Templeton Company presented a display of refrigerators


Girl Scout BoothCompany Booth   Colvin-Templeton Company Booth

The Colvin-Templeton Company Booth
Click Photo to Enlarge

For 1932, the slogan was "Dual Automatic." Logically, this referred to two "miracle" features:

  • The Built-In Watchman, an internal device that kept the compressor from overheating. The Westinghouse propaganda literature says that this is "..an invention worthmore than a million dollars...
  • The 7-point adjustable-automatic Temperature Selector with constant freezing point, which seems to be a thermostat just like on modern machines. The freezing point remains constant at 32 degrees (F) whether or not you own a Westinghouse appliance...

Westinghouse Refrigerator Ad - Built-in-Watchman

The Built-In-Watchman Ad

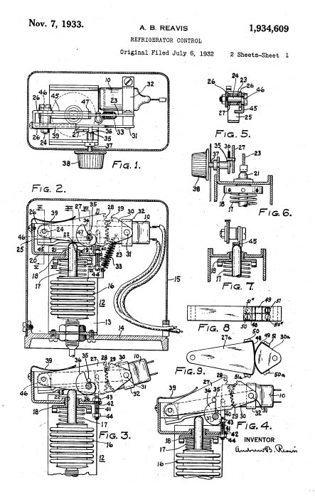
One Door Patent 1789913   Two Door Patent 1789914   Thornton Refrigerator Patent 1789916   Miracle Thermostat Patent 1934609

Westinghouse Refrigerator Patents
(L to R) One Door Flat top Patent No 1,789,913, Two Door Flat Top Patent No 1,789,914
Two Door Variant No. 1,789,916, Thermostat and Built-in Watchman No. 1,934,609
Click Photo to Enlarge It

This campaign (in the middle of the Depression) was aimed at assuring folks that you got twice the value if you spent $180 (F.O.B. Mansfield, Ohio, more like $250 in the stores, equivalent to about $7,000 today). These gadgets definitely were NOT for the 25% of the country that was uneployed nor were they for the typical factory worker who made 17 cents per hour -- if he was lucky enough to get a job. It is no wonder the ads (below) feature folks in Tuxedoes regaling themselves over a midnight snack or teenage girls imploring the maid to keep the door open on a hot day.


Westinghouse Ad Woman's Home Companion February 1932
Woman's Home Companion Ad for Westinghouse
Click Photo to Enlarge


It is of some note that this model was apparently the first to feature an electric light, adevrtised thusly: "... Simply opening the door floods the entire food compartment and automatic electric froster with brilliant light No more groping - you put your hand sinstantly on what you want. Light switches off automatically when door is closed..." If you ever wondered what happens to the refrigerator light when you close the door, you have the word of the Westinghouse copy-writers that the light goes out. This must have been a big deal because Westinghouse took out a two-page ad in the April 16, 1932 issue of The Saturday Evening Post, a monumental expense, akin to buying air-time during the Super Bowl.

Westinghouse Ad Saturday Evening Post April 16, 1932
Saturday Evening Post Two-page Ad for Westinghouse
Click Photo to Enlarge


There is a direct "jab at the GE "Monitor Top" refrigerator -- the hernetically sealed cooling unit makes it possible to eliminate the external cooling coils -- and the resulting flat top is sold as"... the convenience of the flat, usable Buffet Top at shoulder height...."


Westinghouse Refrigerator Ad - Dual Automatic

Westinghouse Refrigerator Ad - Snob Appeal   Westinghouse Refrigerator Ad - Girls Cooling Off
At Those Prices, the Refrigerator Had Snob Appeal
You cannot cool off by opening the door... the girls don't understand economics or thermodynamics!
These things were shown at salons -- compare that with Costco!

Of note, Colvin-templeton had a "skeleton model of the underlying mechanics of the refrigerator. This would help relieve the concerns of folks who did not immediately see the condenser coils that they had come to expect based on the GE "Monitor Top."


Westinghouse Skeleton Model

Skeleton Model of the Westinghouse Innards



The Sears Booth

In 1927, Kenmore first appeared on a Sears laundry appliance, an agitator type, wringer washing machine. By 1936, Sears had already sold 1 million Kenmore laundry items. Its popularity hasn’t slipped. Today, nearly one in every three American homes contains a Kenmore appliance. You can see why, when you look at Kenmore’s history. The Kenmore brand boasts a long list of firsts in automatic appliances, energy efficiency, and stylish, modern designs.

The first appearance of the Kenmore brand washing machine almost escaped notice. The Kenmore washing machine did not show up in the venerable Sears catalog that year, and no known photograph of the 1927 washing machine with a Kenmore brand on it exists. The origin of the name Kenmore is equally vague. One suggestion is that Kenmore came from Kenmore Avenue, a prominent street in Chicago.

With nearly 99 percent of urban homes wired for electricity by the end of the 1920s, Sears recognized the huge untapped market in household appliances. To reach this market Sears offered a wide assortment of Kenmore appliances, as illustrated in the line shown below:


The Sears Booth
The Sears Roebuck Booth
Click Photo to Enlarge It

As you can see, by 1932, Sears was offering quite a variety of Kenmore brand appliances. We'd first like to draw your attention to the washing machine on the left. We'd like to "sandwich" it between 1929 and 1933, remembering that the appliance show was held in 1932. On the left, you'll see a page from the 1929 Sears Catalogue showing the "Water Witch" washing machine. In addition to the strange name, note that it looks pretty flimsy -- more like an oil barrel on stilts. This sold for about $80 (something like $2,400 today). By 1932, you can see (click to enlarge the photo if you wish...)that the machine has acquired a fairly Victorian look about it, especially the pressed metal "Queen Anne" legs. The price also dropped by 18% ($64.95 vs $79.50). During the Great Depression, people thought that electricity was "modern" and thus wanted their appliances to be "modern" -- and, as we have seen with refrigerators, the great Industrial designers of the time applied their magic. We invite you to compare the washing machine shown in 1932 with the "Toperator" designed in 1933 by Henry Dreyfuss (of Twentieth Century Limited fame). With chrome bands and all controls on a panel at the top (hence "Top-Operator" or streamlined as "Toperator), this machine is the epitome of Modern and was ordered in great numbers by all social classes -- even folks served bt the TVA who had just got their first taste of electricity. (We observe that for $122.75 you could have bough a gasoline powered washer back in 1929)


1929 ad for the Sears Water Witch Washer   The Sears Toperator Washer designed by Henry Drefuss
1929 (l.) and 1933 (r.) Sears Washers Showing Evolution to "Modernity"
Click the Ad to Enlarge It

Henry Dreyfuss Washer Patent D-90,616   Patent Diagram D127499    Patent Diagram D127498    1963 Lady Kenmore

Patent Diagrams for Various Points in the Evolution of "Modernity"
Henry Dreyfuss Washer Patent D-90,616
Henry Goldblatt's Patents D-127,498 and D-127,499
The 1963 Lady Kenmore, the last wringer washer sold by Sears
Click to Enlarge the Diagrams

Click here if you want to learn how to get Free Patent Drawings

Sears also used a certain coyness in naming its refrigerators "Coldspot" -- compare this with "Hotpoint" discussed above. Over the years, Sears used Raymond Loewy (mentioned above) to keep their refrigerator line throughly modern:


Raymond Loewy Refrigerator Design for Sears, Patent D-127,829   Raymond Loewy Refrigerator Design for Sears, Patent D-130,000

Design Advances in Refrigerators
Raymond Loewy Refrigerator Designs for Sears, Patents D-127,829 and D-130,000
Click to Enlarge


The other appliances shown are an ironer and a vacuum cleaner. We have an entire page devoted to irons and ironing with great details about Ironing machines. Please feel free to consult that page, should you want any more information about those devices. It suffices to say that even for Sears, these machines were for the homes of the relatively well-to do. And, you can be certain that they got streamlined very quickly.

The Kenmore Vacuum Cleaner is obscured in the photo from the show, so here is a large picture of the device in an ad from a contemporary Sears Catalogue:


1932 ad for the Kenmore Vacuum Cleaner
The Kenmore Vacuum Cleaner
Click Photo to Enlarge It


The Rettberg and Collins Booth

Rettberg and Collins seems to have hitched their wagon to the "Buckeye" line of appliances. Unfortunately, this brand seems to have vanished from the face of the earth.


Rettberg and Collins, dealers in Buckeye Refrigerators
Rettberg and Collins Booth
Click Photo to Enlarge It

Little can be found about the "Buckeye" brand -- from the signs, they were offereing a one door (Model 51, 3 cubic feet $129.50) and a two-door (Model 71, 7 cubic feet, $189.50) refrigerator in 1932. These refrigerators looked a lot like the Westinghouse models (above), but were priced about 20% less. About the only thing that we could find in the internet was this long-dead trademark for these appliances, held by the Buckeye Water Heater and Appliance Company of Cleveland, Ohio. Please Contact me if you know more about the Buckeye brand.


Buckeye Trademark Data
The Buckeye Trademark


The Sherman, Clay and Company Kelvinator Booth

Sherman, Clay and Company had a booth for Kelvinator appliances and also had a separate booth for RCA Radios.


Sherman, Clay and Company dealers in Kelvinator Refrigerators
Sherman, Clay and Company Booth
Click Photo to Enlarge It

The Kelvinator Company was founded in 1914, in Detroit, taking its name from William Thomson, 1st Baron Kelvin, who developed the concept of absolute zero and for whom the Kelvin temperature scale is named. The name was thought appropriate for a company that manufactured ice-boxes and domestic refrigerators. In 1926 it acquired Leonard (see above), which had been founded in 1881. In 1928, George W. Mason assummed control of Kelvinator; under his leadership the company lowered its costs while increasing market share. On January 4, 1937, the company merged with Nash Motors to form Nash-Kelvinator Corporation as part of a deal that placed Mason at the helm of the combined company. In 1952 it acquired the Altorfer Bros. Company, which made home laundry equipment under the ABC brand name. (The Altorfer Ironing Machines are discussed on our Irons and Ironing Page.)

Nash-Kelvinator became a division of American Motors Corporation when Nash merged with Hudson in 1954. Kelvinator introduced the first model frost-free side-by-side refrigerator in the early 1950s. In the 1960s, Kelvinator refrigerators introduced"picture frame" doors on some models allowing owners to decorate their appliance to match décor of their kitchens. Acquired from AMC by White Consolidated Industries in 1968, Kelvinator joined a company that had acquired the rights to Frigidaire (formerly owned by General Motors), Gibson, Tappan and White-Westinghouse product lines. In the early 1990s, the name of the Dublin, Ohio based holding company changed to Frigidaire Company. In 1986, Frigidaire Corporation was acquired by Sweden’s Electrolux.

It looks like Sherman, Clay was selling Kelvinator at the peak of the company's growth. Here are some advertisements from 1932 that show the one-and two-door models being sold at the booth.


One Door Kelvinator Refrigerator   Two Door Kelvinator Refrigerator

1932 Advertisements for Kelvinator Refrigerators
$112 in 1932 is equivalent to about $3,000 Today
Click Photo to Enlarge It
Click here if you want to learn how to get Free Patent Drawings

In the background, you'll see a water cooler and a refrigerated display case. You'll also note that the cooler and the refrigerators are standing on those "Queen Anne" legs. Here are some patents that illustrate the effect of streamlining on these appliances.


Refrigerated Display Case, patent 1771998   Deco Case for Water Cooler D-114689   Deco Case for Water Cooler D-96259

Other Appliances in the Picture
Refrigerated Display Case, Patent No. 1,771,998
1935 Deco Case for Water Cooler D-96,259
1939 Deco Case for Water Cooler D-114,689
Click Photo to Enlarge It
Click here if you want to learn how to get Free Patent Drawings


The Singer Sewing Machine Company Booth

Almost every city had a Singer store. The company's products were absolutely first rate and lasted forever. You can still buy parts for almost every Singer model that was made, and they can be dis-assembled and repaired by almost anyone. The only real differences between the Singer of 2009 and the Singer of 1932 have to do with plastic parts (and some computer-type automation.) The older machines will sew through anything -- four layers of denim, leather, upholstery fabric, etc, etc. For my money, the old mechanical button-holer works much better than the modern equivalent. Here's the Singer booth at the Appliance Show.


The Singer Sewing Machine Company
The Singer Booth and the Lady in White
Click Photo to Enlarge It

You'll note that the demonstrator is dressed completely in white. During the 1930s, the discipline of "Home Economics" was on the rise, teaching home makers about the latest, most efficient, most nutritious, etc. etc. domestic items and practices. During this time, pratcitioners of Home Economics wore white uniforms, probably because the only female authority figures were nurses. You can be certain that this lady took her professional responsibilities seriously.

Here is a closer look at the machine that was being demonstrated -- the 1932 Singer. Notice the "medallion" in the right picture. These are very important in identifyng the date, place of manufacture, etc, etc of the wide variety of Singer machines.


The 1932 Singer Sewing Machine  The 1932 Singer Sewing Machine

The 1932 Singer Sewing Machine

Here are some patent diagrams that begin to illustrate the internal workings of the Singer machine. As you can see this is not simplistic. Nevertheless, it was assumed that the owners of this machine could, in fact, repair any part of it. The instruction booklets are written in clear English that has not been "dumbed down". Too much of what passes for technical documentation assumes that the average American is a moron. Given the sad state of our public schools, this may not be far from the mark, but at one time, Americans were a lot more self-reliant...


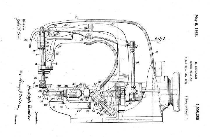
1921 Singer patent No. 1369405   1933 Singer patent No. 1908280

The Insides of the Singer Sewing Machine - Quite a Difference That 12 Years Makes
All Models were Upward Compatible, Unlike Most of Today's Technology
1921 Singer Patent No. 1,369,405
1933 Singer Patent No. 1,908,280
Click Photo to Enlarge It
Click here if you want to learn how to get Free Patent Drawings

The Cabinets that house the sewing machine were an important part of "making the sale." In general, people lived in small houses and it was important that the sewing machine serve some other purpose when it was not being used for its primary purpose. The Singer company developed a very ingenious cabinet that hid the machine well, but could rapidly be converted to a sewing table. As shown in the Patents below, these cabinets came in a wide variety of styles and shapes, and did not really change at all even to the present day.


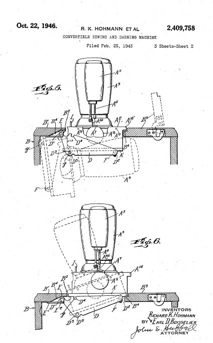
1920 Singer Cabinet Patent No. 1349678   1938 Singer Cabinet Patent No. 2133127   1946 Singer Cabinet Patent No. 2409758

Cabinets for the Singer Sewing machine
Note that by 1946, the sewing machine had been "streamlined"
1920 Singer Cabinet Patent No. 1,349,678
1938 Singer Cabinet Patent No. 2,133,127
1946 Singer Cabinet Patent No. 2,409,758
Click Photo to Enlarge It
Click here if you want to learn how to get Free Patent Drawings

You might be interested in our restoration of an Art deco Singer Sewing Cabinet.

The Singer Company also made other electrical appliances. This booth is also showing the Singer Vacuum Cleaner, which (by the way) is still made today. Here is an ad for this cleaner and some of the early patent diagrams.


1932 Singer Vacuum Patent No. 1879710   1932 Ad for the Singer Vacuum Cleaner   1936 Singer Vacuum Patent No. 2063061

The Singer Vacuum Cleaner
1932 Singer Vacuum Cleaner Patent No. 1,879,710
1932 Ad for the Singer Vacuum Cleaner
1936 Singer Vacuum Patent No. 2,063,061
Click Photo to Enlarge It
Click here if you want to learn how to get Free Patent Drawings

Our final observation is that there is a tea set at the right of the picture. The demonstrator could invite an interested buyer for a relaxing cup of tea while the myriad functions of the machine were demonstrated.



The Eastern Outfitting Company Booth
Purveyors of Easy Brand Washers and Ironers

Here we see a salesman who is a dead ringer for the young Thomas E. Dewey demonstrating an "Easy" brand Ironer. To the right is a display of Norge Refrigerators and Premier Duplex vacuum cleaners as discussed above. The interesting items are the Easy Ironer and the Easy Washer. Although you may never have heard of this brand, it was second only to Maytag in volume of appliances sold prior to the Depression.


Eastern Outfitting Company Booth

The Eastern Outfitting Company
Click Photo to Enlarge It

The "Easy" company had its roots in a business called Dodge and Zuill, named for two Vermont natives, which manufactured clothes washing devices from 1877. Cyrus Dodge was the inventor of the original product, called a 'funnel-on-a-stick' or a 'cone-on-a-stick,' which was a hand operated unit. In 1907, experimentation began on a power washer operated by an electric motor. By May of 1910, the first motor-driven machine was sold to P. F. Schneider of Detroit, Michigan. The washer had a galvanized tub and was designated as a model F. As the machine was improved over the years, it was renamed the model C, and in 1915 it was granted the highest award in the model kitchen exhibit at the Panama-Pacific International Exposition.


1938 ad for the Easy Ironer    Ad for Easy Washers and Ironers 1938

Giveaways and Incentives
It was common for power companies to promote the sale of electric appliances
Click Photo to Enlarge It

The company entered a golden age of growth under the leadership of John N. Derschug. An enterprising young salesman and advertising executive, Derschug invested in and joined the company in 1915. With his encouragement of outside investment, the company reorganized as the Syracuse Washer Corporation in 1917. High overhead, in part from the rental costs of cramped manufacturing facilities, prevented profit for the next two years. By 1919, under Derschug's leadership, significant outside investment was again attracted and the business was once more reorganized, this time as the Syracuse Washing Machine Corporation. In 1920 the firm moved into a large new plant. Business was difficult during a national recession, but by 1923 production output was double the previous year's, and was reported to have been the greatest of any home laundry equipment factory in the world. In August 1932, the firm's name was changed to the Easy Washing Machine Corporation. Derschug died in 1936. During his presidency, over $100,000,000 worth of washing machines had been sold by the company. The company continued in business and had a peak year in 1948, when 474,831 washing machines were built. In 1955 the business was sold to Union Chemical and Material Co.; in 1957 the firm's assets were sold to Murray Corporation of America. At that time, they were operating in five plants totaling 500,000 square feet and employing about 1,400. Murray ultimately sold the Easy Washing Company to Hupp Corporation, of Cleveland, Ohio, which closed down operation in 1963.



The Hale Brothers Booth
Selling Johnson Washers and Majestic Refrigerators

The Hale Brothers Booth, Johnson Washers and Majestic Refrigerators

The Hale Brothers Booth, Johnson Washers and Majestic Refrigerators
Click Photo to Enlarge It

The Johnson Washer Company of San Francisco (later Oakland) California was fairly well-known on the West Coast during the 1920s. As you can see, the styling did not keep up with the national brands such as Maytag or even Sears. The company did not survive the Depression. Here are some of the key patents for the Johnson Washer.


Johnson Washer Exterior Design Patent No. 1,705,070    Johnson Washer Driver Patent No. 1,641,770    Johnson Washer Gearing Patent No. 1,150,433    Johnson Washer Wringer Patent No. 1,656,570

Key patents for the Johnson Washer
Johnson Washer Exterior Design Patent No. 1,705,070
Johnson Washer Driver Patent No. 1,641,770
Johnson Washer Gearing Patent No. 1,150,433
Johnson Washer Wringer Patent No. 1,656,570
Click to Enlarge

Click here if you want to learn how to get Patent Drawings
We have entered "Johnson Washer", Johnson Wringer", "Johnson Driver" with a straight face, we expect the same of you when you read this...

The Grigsby-Grunow Company was formed in 1928 as a manufacturer of fine radios. The company's radio sales were extraordinary due to the superiority of their speakers over that of others on the market. However, the Depression soon caught up with Grigsby-Grunow, and by 1933, the company was bankrupt. The business was re-formed into the Majestic Radio & Television Corporation which made the Majestic line and General Household Utilities which was an attempt to diversify into other appliances such as refrigerators. In 1932, The Majestic Household Utilities Corporation was located in Evanston, Illinois . Note that in one of the advertisements below, the Majestic Refrigerator was being sold by a radio store.


Ad for Majestic Refrigerators, Altamont Enetrprise 4-5-1931    Majestic Refrigerator Design Patent  D-83,145    Majestic Refrigerator Recipe Book    Ad For Majestic Refrigerator, St. Petersburg Evening Independent Oct 5 1932

Majestic Refrigerators
Ad for Majestic Refrigerators, the Altamont Enterprise, April 5, 1931
Majestic Refrigerator Design Patent D-83,145
Majestic Refrigerator Recipe Book
Ad For Majestic Refrigerator, St. Petersburg Evening Independent Oct 5 1932
Click to Enlarge

Click here if you want to learn how to get Patent Drawings



The Sherman, Clay & Co. Radio Booth

This booth shows off some very high end RCA radio receivers and phonographs. At the left is the top-of-the-line R-341 model that allowed you to make your own recordings at home.


Sherman-Clay RCA Radio Booth

The Sherman-Clay RCA Radio Booth
Click Photo to Enlarge It

The detailed photos of the RCA sets shown below are presented in the order that they are shown (l to r) in the Sherman Clay Booth Photo.


RCA Model 341 - Home Recording Studio    RCA Model 240    Promotional bank in the form of a RCA Model 240    RCA Model 380 Home Recording Studio

VERY HIGH END RCA Receivers for 1932
RCA Model 341 - Home Recording Studio
RCA Model 240
Promotional Bank in the Form of a RCA Model 240
RCA Model 380 Home Recording Studio
Click to Enlarge


RCA Model R-50    RCA Model R-78    RCA Model RE-73    RCA Model R-74

More RCA Receivers for 1932
(left to right): R-50, R-78, RE73, R74
Click to Enlarge

Click here if you want to learn how to get Patent Drawings



The Northern California Electrical Refrigeration Bureau

Here we see a forest of refrigerators (as discussed above) on display together.


Northern California Electrical Refrigeration Bureau Booth

The Northern California Electrical Refrigeration Bureau
Click Photo to Enlarge It

This was a government entity that promoted the sale of refrigerators through stressing the health, economic, and conservation benefits thereof.



The Empire Company Booth

This company appears to be selling built-in window fans. They will also remodel your house to bring it up-to-date, electricity-wise.


The Empire Electric Company
The Empire Electric Company
Click Photo to Enlarge It

Window fans (called window ventilators have been offered in a variety of shapes and sizes since the advent of electricity. Here are three patents for such appliances. From the picture, it looks like the "1933" patent describes the functioning -- a combination of fans and filters to move and condition the air. It is likely that a complex system like this would be offered to the high end buyers at the appliance show.


1933 Window Vent Patent No. 1916907   1935 Window Vent Patent No. 1988810   1950 Window Vent Patent No. D157642

Window Ventilators
1933 Window Vent Patent No. 1,916,907
1935 Window Vent Patent No. 1,988,810
1950 Window Vent Patent No. D-157,642
Click Photo to Enlarge It
Click here if you want to learn how to get Free Patent Drawings

Along with the window fans, something called the "Building Improvement Company" was offering home-remodeling services, using a dollhouse to show all the zippy new appliances that could be purchased. In case you can't read it, here's what the sign says:

MODERNIZE YOUR HOME!
Are you satisfied with your home? If not, let us help you solve your problems.
Lowest prices since 1913!
12 months to pay.
Free Estimates
Building Improvement Company DOuglas 5354


Not Appliances

The show featured a number of booths that were not involved in selling appliances. Here is the Progressive Optical Company who would measure you for glasses "While U Wait". When was the last time that a woman dressed as a nurse was seen in an optician's store?


The Progressive Optical Company Booth
The Progressive Optical Company Booth
Click Photo to Enlarge It

Apparently, upscale consumers in the 1930s were addicted to Health Food much like their 21st Century Yuppie descendants. Here is the "Original Health Food Store" featuring items like the Nutradiet System and "Grant's Hygenic Crackers." The guy with the spectacles doesn't look any too healthy...


The Original Health Food Store Booth
The Original Health Food Store Booth
Click Photo to Enlarge It

Here is a "Food Product Display" that was back in the corner along with the Parent Teacher Association. It looks like this might be part of some nutrition education project.


The Food Product Display Booth
The Food Product Display Booth
Click Photo to Enlarge It


The Grand Ball

Apparently, a Ball or a large public reception was held, featuring comely young ladies dressed as appliances. These are, of course, my kind of girls.


Girls Dressed as Appliances
The After Party
Click Photo to Enlarge It

Of these, I think that the Washer is the most creative, using balloons to simulate bubbles.



THE PRIZE WINNERS

The show held a lottery and here is a photo of the lucky winners:


The Prize Winners
The Empire Electric Company
Click Photo to Enlarge It

You can read more about all these appliances (left to right) at the following places:

We hope that you enjoyed your tour of the Appliance Show, because...

The Ugly Discount Future

By the 1940s, appliances were a mass market item and the word "discount" crept into the nation's vocabulary. All of the elegant trimmings vanished and the cattle call began. Here are some photos taken in 1946 at the Polk Brothers Store in Chicago, one of the first "discount" vendors.

Polk Brothers store   Polk Brothers store   Polk Brothers store

Polk Brothers Store c. 1946
Click Any Photo to Enlarge It



Counter for This Specific Page


Counter for the Entire Website



Home | About Lindy | 1940s Collectibles | Upcoming Events | Vintage Clothes
The Guide - Establishments - Travel - 1940s Artifacts
Music | Links | Photo Gallery | Extras | Contact