Wheeled Devices
Things on Wheels (or Water or Runners)
Hi Lindy Hoppers!!!
If it runs on the ground (and not rails) it goes here...

Welcome, Search Engine Folks!

Just in case you have a special request, here are some navigational tools

In addition to these topics, we have separate pages on Streetcars and Streamlined Locomotives, a Calendar of Swing Dancing in DC, a Directory of Vintage Clothing Stores and all kinds of other junk in our Guide to 1940s Collectibles. Thanks for tuning in! Feel free to Contact Me if you have questions or want to share photographs and car stories with the rest of the readers.



the new car   PT Cruiser Design Patent D413081

In 2002,this was our BRAND NEW PT Cruiser
After 120,000 trouble free miles, we now have a 2009 PT Cruiser
It is a FANTASTIC car for Retro Lifestyle!! (right)PT Cruiser Design Patent D413081


PT Cruiser Side View   PT Cruiser Customized as 39 Plymouth
(left) A Closer look
(right) After some customization -- the '39 Plym look
Click to Enlarge


The PT Cruiser



We absolutely love our new PT Cruiser --- as do thousands of members of the PT Cruiser Club. Click Here for a whole website full of customized PT Cruiser photos!. All of our friends love the Retro look and we often are asked about the historical antecedents of the design. When I look at it, I see the definite influence of the 1937 Chrysler Airflow:

1937 Airflow   1937 Airflow    Chrysler Airflow Design Patent D97574    Streamlining the Chrysler Airflow Popular Mechanics, March 1934

The 1937 Chrysler Airflow
Carl Breer Design Patent D-97,574
March, 1934 Popular Mechanics article on "Streamlining the Airflow"
Click to Enlarge


You may click here to download the full text of the Popular Mechanics article.

However, Natalie, my neighbor says that it looks like a prewar Opel or a Skoda 111

1937 Opel Kadett   1947 Skoda 1101

(left) The 1937 Opel Kadett
(right) The 1947 Skoda 1101
Click to Enlarge

We have heard from others about the Prewar (39-41) Plymouths:

39 Plymouth   39 Plymouth   Patent Diagram for the 1941 Plymouth (D127658)

(left,mid) The 1939 Plymouth
(right) Perhaps it was the 1941 Plymouth...
Robert Cadwallader's Patent D-127,658
Click to Enlarge

Click here if you want to learn how to get Free Patent Drawings

However, my memory of the PT Cruiser comes from California in the late 1950s when hot rodders customized panel trucks into Hot Rods. Here are two of my favorites.

Customized Anglia Panel Truck   Customized 48 Chevy panel Truck

(left) An Anglia Panel truck, lowered front, jacked rear
(right) A 48 Chevy Panel Truck that has been turned into a PTC!
Click to Enlarge

Click here to look at another type of collectible, or keep on scrolling for more Transportation.





Why Do Cars From the 1930s Look Like That?

non-train streamlining   Radiator faces   Ad for the 1938 Nash

Dream Cars and Real Cars
Click to Enlarge

The "retro look" of the PT Cruiser is due to the use of specific kinds of curves. If you dabble around in auto history of the 1930s, you will find all sorts of "dream cars" such as are shown above. These were very glamorous and desirable. You might ask "Why didn't Detroit offer one of these sleek aerodynamic cars?"

The answer is very simple: it is those "retro curves" that have been painstakingly ressurected in the PT Cruiser and Chevrolet HHR. The very brief answer is that steel can only be formed to a certain radius of curvature without losing its strength -- and the "curves" of the 1930s reflect that limit.

Now, let's look at a longer answer.

The following chart gives the history of steel demand in the US up to the 1930s. You'll note that in the early period, most steel was used in rails. However, as time moves on, you start to see sheet steel as the dominant form -- and most of that sheet went into the manufacture of automobiles.

Trends in Steel demand

Automobiles Cause Demand for Sheet Steel to Skyrocket
Click to Enlarge

Those boxy cars of the 1920s had their own look because steel could only be worked cold to certain shapes. Anyone who has tried to form metal (or hammer out dings) understands the rather persnickety nature of cold forming. Cars of the 1920s favored rectangular planes with only small curves, and lots of wood -- and when curves were used, they were always bolted together causing many of these cars to become "rattletraps" in the literal sense. There was nothing patrticularly "safe" about these cars, particularly in roll-overs. (Parenthetically, "low-slung" was definitely the ideal in dream cars, but extremely poor roads meant that ground clearance was essential, making cars prone to roll-overs.)

Detroit was able to introduce a safer, all steel auto when they developed new forming methods, particularly the Very Large Hydraulic Press, as shown below. Enormous pressure applied to red-hot metal enabled steel to be bent to a much greater radius of curvature and hence, you begin to see those bulbous shapes that are so typical of mass-produced cars of the period.

Massive Hydraulic Press Popular mechanics July 1935   Ad for the new Turret TopPopular mechanics June, 1935   Ad for the new Turret Top May, 1935

Massive Hydraulic Press Used to Form Auto Bodies
"Turret Top" ads from May and June 1935
Click to Enlarge

In order to highlight the safety of all-metal constructionand pleasantly curved autobodies, General Motors undertook a campaign calling the new construction the "Turret Top"implying that the passengers were as safe as if they were in the massive turret of a battleship.

Click Here to download a compendium of articles on sheet metal forming in the 1930s.

It was not until the 1950s that new alloys and even bigger hydraulic presses were able to create the fantastic sheet metal designs that typify this period. As fuel efficiency became more important, advances in materials and technology have enabled very streamlined cars to be mass produced.

Click here to look at another type of collectible, or keep on scrolling for more Transportation.





1956 Pontiac

The 1956 Pontiac From Kansas

We received these photos from Cheryl W., one of our regular readers. She says,

"...My brother, Dan, picked up my grandmother's 1956 Pontiac on May 6, and brought it to Maryland (the Pontiac's first trip away from Kansas). The car is beautiful and runs. Dan is planning to do a little body and mechanical work to bring it back to original condition. Here are some photos of Dan, Michelle, David and me with the car. ..."


1956 Pontiac Front View   1956 Pontiac Side View

More 1956 Pontiac Pictures
Click to Enlarge

She continues,

"... Isn't it cool? Has the original paint, rubber, and chrome. That car brings back so many memories. My grandmother bought it at the age of 63 (two years after her husband died). My brother has the bill of sale from 1959. Grandma bought it slightly used. That car had never been out of Kansas until now. My grandmother used to go at high speed into town (population 300) going through the stop sign, late for church. Towns people would call my uncle complaining about my grandmother's driving. (It doesn't have power steering. My uncle used to drive it along the railroad tracks (on top of the tracks!) and there are dents under the car corresponding to the tracks. He said he got it up to 120 mph once. My brother is thrilled to get it. ..."


1956 Pontiac Ad   1956 Pontiac Ad   1956 Pontiac Ad

Contemporary Ads for the 1956 Pontiac
Click to Enlarge

The red and white color scheme is very restrained compared to the yellow/black or pink/black paint schemes in the ads. The '56 Pontiac convertible appears in the film In Cold Blood. That car also spends some time roaming around Kansas (in the film).

We heard from Cheryl again in May of 2011 when her brother entered the Pontiac in a car show in Ocean City, Maryland. She writes:

"... My brother, Dan, and his son, Daniel, showed my Grandmother's 1956 Pontiac (red and white) last weekend in a classic car show in Ocean City, Maryland. Here are photos..."


1956 Pontiac at Ocean City Car Show   1956 Pontiac at Ocean City Car Show   1956 Pontiac at Ocean City Car Show

The 1956 Pontiac in a Car Show
Click to Enlarge

Click here to look at another type of collectible, or keep on scrolling for more Transportation.





1955 Volkswagen Beetle
The 1955 Volkswagen Beetle

In 1960, I was finally of legal age to drive. The problem was finding something to drive. The problem was solved when a rather beat-up 1955 Volkswagen was offered to me for $75. I spent about 6 months getting the thing into shape, hammering out dents, patching the seats, installing new shock absorbers, etc. When it came time to paint the thing, I found that auto lacuer is REALLY expensive. After explaining my low cash situation, the fellow at the auto parts store let me have a can of peach-colored paint for $5, a deep discount. Thus was born the "Peachmobile" which I drove for the next ten years. Fortunately, you can repair anything on the Beetle with a screwdriver and pliers (well...).


Volkswagen Patent 2,227,142   Volkswagen Patent 2,234,092

Vokswagen Patents 2,227,142 and 2,234,092
Click to Enlarge the Diagrams
Click here if you want to learn how to get Free Patent Drawings

The Volswagen [ German, "Peoples' Car" ] began as a money-making scheme for the Nazi regime. Adolf Hitler ordered Dr. Ferdinand Porsche to design a small car that might be mass produced inexpensively. The German people were then asked to pay a small sum every month and eventually they would get a car. Of course, only a few "show" cars were built and the Nazis pocketed the money. When the war was over, the factory at Wolfsburg was put to work with the hope that the cars could be exported, giving Germany some needed foreign exchange. The cheap postwar Mark (20 to the dollar!) and heavy subsidies led to a car that could make inroads into the US markets, especially since Detroit was turning out monumental crap. Clever advertising plus a reliable cheap product cemented the "bug" in the hearts of the American public.


Volkswagen and Adolf Hitler   Volkswagen Factory

Little-Known History of the Beetle
(left: the original Beetle with its Head Cheerleader
(right: VW sheet metal found after the war
Click to Enlarge


Click here to look at another type of collectible, or keep on scrolling for more Transportation.





Chevrolet 1957 Bel Air

The 1957 Chevrolet Bel Air
Click to Enlarge

The 1957 Chevrolet not only looked different than the 1956 and 1955 Chevrolet but, looked better. Body side trim was completely different and more appealing. Especially the anodized aluminum body panel along the side of each 1957 Bel Air. One Fifties continued with a short vertical slash molding at the beltline dip, meeting a half length horizontal bar running back along the upper quarter panel. Two Tens had a sloping full length strip that split into a wedge on the quarter panel. The wedge was painted to match the roof color on two tone cars.


Chart of Chevrolet Body Styles for 1957   Chart of Chevrolet Body Styles for 1957

Chart of Chevrolet Body Styles for 1957

1957 Bel Air Hardtop front view   Patent for 195 Chevrolet Hood Ornamentation, D - 181,741

Patent for 195 Chevrolet Hood Ornamentation, D - 181,741

1957 Chevrolet Bel Air side view   1957 Chevrolet Bel Air Fin Styling Patent D - 181,494

1957 Chevrolet Bel Air Fin Styling Patent D - 181,494
Click to Enlarge the Diagrams
Click here if you want to learn how to get Free Patent Drawings

The Belair Townsman station wagon was back in 1957 and the Beauville and Townsman station wagon was available on the Two Ten. The low cost Handyman two Ten and One Fifty was still a popular business delivery vehicle. The 1957 Chevy Bel Air Nomad was in it's final year as a specialty station wagon model, thought the name would be transferred to the top of the line 1958 station Wagon. As in 1955 and 1956 it was both the priciest and rarest of all Chevrolets in 1957.

Styling highlights of the 1957 Chevrolet included a new front grille, the famous and popular fins, both front and rear bumpers and the hood birds. All of which made the 1957 Chevy look longer and lower.

Prices in 1957 ranged from $1,885 to $2,750

Click here to look at another type of collectible, or keep on scrolling for more Transportation.





The 1956 Cadillac

The 1956 Cadillac
Click to Enlarge

The 1956 Cadillacs were, according to the copy writers that year, the most inspiring motor cars the world has ever seen. Most automotive historians and Caddy buffs would disagree. The consensus opinion is that the 1949 Cadillacs, especially the ElDorado and the 2 Door Fastback are the most elegant Caddie ever made. Those subtle little fins say a whole lot more than the monstrosities that were to come.

 Advertisement for the 1949 cadillac in the February 1949 issue of HOLIDAY Magazine    1949 cadillac photos - four door, two door fastback, El Dorado

The Elegant 1949 Cadillacs
Contrast the subtlety of these gems with the 1956 models...
Click to Enlarge


The de luxe product catalog for 1956 is in fact a desirable collector's item. The stiff, off-white front cover is embossed with the Cadillac "V" and crest and marked 56 Cadillac in gold and black script. In my opinion, the artist's views of the cars and of its principal features are among the finest ever published by the company. In those days, artistic license allowed the auto manufacturers to stretch, widen and lower their cars; that would change in the late sixties when manufacturers were obliged to use photography to advertise their products. The wide-angle lens then became a popular accessory with the advertisers!

This year's increased range of models was presented in this order: the Sixty Special sedan, Sixty-Two coupe, Sixty-Two Coupe de Ville, Sixty-Two Sedan de Ville, Sixty-two sedan, Sixty-two convertible, Eldorado Biarritz convertible, Eldorado Seville coupe (new for 1956) and the Series Seventy-Five.


1956 Cadillac Body Design Patent D - 178,349   1956 Cadillac

1956 Cadillac Body Design Patent D - 178,349

1956 cadillac   1956 Cadillac Front End Patent D - 179,125

1956 Cadillac Front End Patent D - 179,125
Click to Enlarge
Click here if you want to learn how to get Free Patent Drawings

The styling of the 1956 models was quite similar to that of the previous year's models, with only minor detailing changes. Principally, the grille took on a fine-mesh appearance and a fine chrome molding was added to the top surface of the rear fenders. Gone was the Cadillac script on the front fenders; it was replaced with an elongated and gilded Cadillac crest; some models got their name in script in addition to that crest.

The distinguishing mark of the 1956 Cadillacs is without any doubt the gilded Cadillac script set diagonally across the top half of the grille, on the LH side. In addition, the 1956 models are the only Cadillacs to have the date (Nineteen Fifty-Six) written in script on the RH side of the instrument panel.

Click here to look at another type of collectible, or keep on scrolling for more Transportation.





1956 Citroen DS19

The 1956 Citroen DS19
Click to Enlarge

When the DS-Series was introduced 1955, it caused a sensation. It was aerodynamic -- some said strange-looking -- and boasted the Citro-Matic oleopneumatic hydraulic system for suspension, steering, brakes, clutch, and gearchange. Here in one car were more technical surprises than anything since the controversial Tucker -- and as much hype, too. It was almost something from another world, as if alien designers had looked at Earth's motor cars, found them wanting, and decided to demonstrate their ideas of what a truly modem automobile should be.

When the D-Series was introduced into the U.S., a press release proclaimed it "the dream car of tomorrow, on the road today," and it was promoted to Americans as the first "American-type automatic car to be produced in Europe.".

Despite the technical advances, it was the functional styling and unusual proportions that initially grabbed everyone's attention. Car Life's Jim Whipple called the D-Series "ten years ahead of its time," commenting that it possessed "a marked resemblance to the sketches of dream cars." From Auto Age's vantage point, however, the new Citroen was "Studebaker-ish in appearance." For many others, it was simply a love-it or hate-it design.


Citroen DS19 Convertible   Citroen Design patent D-179,115

Citroen DS19 Wagon

The Convertible and Wagon
Citroen Design patent D-179,115
Click to Enlarge
Click here if you want to learn how to get Free Patent Drawings

No matter. For the next two decades, the family-size Citroen remained arguably the most technically advanced car in this world. It boasted more innovation, more technical wizardry, and more sheer complexity than any previous family car -- which meant that, as with the styling, it not only built up a big following, but attracted a fair bit of criticism. If fans loved the D for its sophistication, detractors chided it for exactly the same reason.

Click here to look at another type of collectible, or keep on scrolling for more Transportation.



1955 Dodge Lancer

1955 Dodge Lancer
Click to Enlarge

The 1955 Dodge was a totally new car with 120 inch wheelbase and length of 212.1 inches (6.6 inches longer than the 1954 Dodge). The V8 engines were bigger at 270 cubic inches and a polysphere was added to complement the Hemi. A 230 cubic inch six powered the economy Coronet line. The flair-fashioned Dodge had a wraparound windshield and very clean styling lines.

There were ten body styles and three series: D55-1 Coronet V8 (D56-1 Coronet six cylinder) D55-2 Royal V8, and D53-3 Custom Royal V8. The basic body styles were: two door sedan, four door sedan, two door hardtop, two door wagon, four door wagon, and two door convertible. Lancer trim, introduced at mid-year, and the La Femme, expanded the body styles to a total of ten. All hardtops and convertibles were called Lancers.


1955 Dodge lancer

Ad for the 1955 Dodge lancer   1955 Dodge Lancer Design Patent D - 177,875

The 1955 Dodge Lancer in a Myriad of Colors
1955 Dodge Lancer Design Patent D - 177,875
Click to Enlarge
Click here if you want to learn how to get Free Patent Drawings

1955 was the year for some very gaudy paint combinations. The Studebaker Speedster was a classic example. Dodge teetered on the brink of bad taste with a green exterior and yellow interior combination, but never had clashing primary colors on the exterior. Surprisingly, metallic colors pre-date 1955 by at least five years, so there are some metallics in the Dodge color lineup. There are thirteen basic colors from which to choose. There are sixteen two-tone and sixteen three-tone color combinations to make a total of 45 different exterior color schemes. The two-tone will have the top and taillight housings one color, with the rest of the car the other color, or the top, hood, trunk, and taillight housings will be one color while the fenders, doors, and front would be the other color. Within the three-tone combinations, the upper color and the insert color could be swapped, adding an additional 15 color combinations. Along with the variations in the two-tones, the total number of color schemes is 76.

Click here to look at another type of collectible, or keep on scrolling for more Transportation.





1955 Olds Super 88 Holiday

The 1955 Oldsmobile Super Holiday

Recently, we got this from Walt J. a reader out in California:

"... Yesterday, the Fox Movie Channel was showing the film W.W. and the Dixie Dance Kings. In the film, Burt Reynolds drives a fantastic car described as a "1955 Olds Golden Anniversary Special" I can't find out anything about this car. Do you know anything about it? ..."


Poster for film W.W. and the Dixie Dance Kings   Production Stll photo from film W.W. and the Dixie Dance Kings

The 1955 Olds Golden Anniversary Special

(left)Lobby card (right) Production still showing the 55 Olds
Click to Enlarge

I saw the film when it came out in 1975 and also thought that the car was fantastic. When they started showing the film on TV, I did some checking a few years ago and found out that the car was a customized "prop" if you will -- there is no "1955 Olds Holiday Golden Anniversary Special, of which only 50 were made" (as the line in the film goes.) The car in the film is a 1955 Holiday painted metal flake gold over black. It appears to have been lowered.


Olds Body Design Patent no. D- 177,004   Magazine Ad for the 1955 Olds Holiday   Olds Body Design Patent no. D- 177,004

The 1955 Oldsmobile Holiday

Olds Body Design Patent no. D- 177,004
Click to Enlarge the Diagrams
Click here if you want to learn how to get Free Patent Drawings

Historical diversion: The famous "Rocket 88s" were introduced in 1949 and were a great favorite of speed enthusiasts, everywhere. The song Rocket 88 (original by Jackie Brentson/Ike Turner and cover by Bill Haley) is considered to be the first rock and roll song.

 Advertisement for the Oldsmobile Rocket 88 in the February 1949 issue of Holiday Magazine    Detail of the famous Rocket EngineAdvertisement for the Oldsmobile Rocket 88 in the February 1949 issue of Holiday Magazine

Advertisement for the Oldsmobile Rocket 88
..in the February 1949 issue of Holiday Magazine
Enlargement of the portion dealing with the famous "Rocket" engine
Click to Enlarge


Back to 1955: "Holiday" was the Olds designation for a four door pillarless sedan, and it became a "Holiday 88" if it was equipped with a large engine.


Olds Rocket Hood Ornament Design Patent D-159,929   Front End of the 1955 Olds Super 88   Olds Rocket 88 Badge, Design patent D-160,128

The Rocket 88 Trappings

Olds Rocket Hood Ornament Design Patent D-159,929
Olds Rocket 88 Badge, Design patent D-160,128
Click to Enlarge the Diagrams
Click here if you want to learn how to get Free Patent Drawings

Above are the key patents for the trademark "Rocket" hood ornament, the side insignia for the Big Engine version and the patent for the body. (On the body patent, the sweep was eventually changed a bit in the production models.) That big "coffin nose" was needed to hold the monster 202 horsepower overhead valve V-8. The '55 Olds Holiday seems to be quite plentiful in the vintage marketplace. All you need is about $40,000 to have your own custom "Golden Anniversary" built.

In the film, "W.W." had his car equipped with a horn that played Dixie -- this was long before the Dukes of Hazard had a similar horn in the General Lee. If you so desire, you could buy such a horn in 2008 for about $50.

Click here to look at another type of collectible, or keep on scrolling for more Transportation.



1948 Tucker Torpedo

1948 Tucker Torpedo
Click to Enlarge

The 1948 Tucker Sedan (also nicknamed the Tucker Torpedo) was an advanced automobile conceived by Preston Tucker and briefly produced in Chicago in 1948. Only 51 cars were made before the company folded on March 3, 1949, due to negative publicity initiated by the Big Three.


Tucker Design Patent D - 154,192    Tucker Design Patent D - 154,192

Tucker, Front View    Tucker Design Patent D - 154,192

The 1948 Tucker
Design Patent D - 154,192
Click to Enlarge
Click here if you want to learn how to get Free Patent Drawings

The mechanical components were innovative. The perimeter frame surrounded the vehicle for crash protection. The steering box was behind the front axle to protect the driver in a front-end accident. But numerous Tucker innovations were dropped. Magnesium wheels, disc brakes, and a direct-drive torque converter transmission were all left on the drawing board.

1948 Tucker Torpedo    1948 Tucker Torpedo    1948 Tucker Torpedo

Innovations in the 1948 Tucker
Click to Enlarge

The car's innovative engine, however, continued on the production path for a while longer. It was a flat-6 cylinder with hemispherical combustion chambers, fuel injection, and overhead valves operated by oil pressure rather than a camshaft. These features would have been auto industry firsts in 1948, but as engine development proceeded, problems appeared. The large 589 in³ (9.7 L) engine functioned, but the 150 hp (112 kW) motor's valvetrain proved problematic. The engine and Cord transmission were mounted on a separate sub frame which could be lowered and removed in minutes with just six bolts removed—Tucker envisioned loaner engines being quickly swapped in for service.

The final car was only 70 in tall, but was rather large and comfy inside. It featured a directional third headlight, dubbed the "Cyclops Eye", for use in turns. It lit up whenever the car was steered by more than 10 degrees.

Click here to look at another type of collectible, or keep on scrolling for more Transportation.



Fender Ornament

Art Deco Object Sent In by Our Reader
It's probably a Fender Ornament
Click to Enlarge


This is a photo of a Deco-Styled object that was sent in by our Reader Dave in Detroit. He writes:

"... Trying to identify this item. Came from an old car. Looks like it is either hood or tail light adornment... 2 inches tall and 12 inches long. Cool item that a buddy gave me today. ..."

Our best guess was that it was a Fender Ornament. We thought that it was from a 1942 Cadillac, but it was not. We felt that this would be significant because the 1942 model year would prove to be the last new cars that Americans would see until 1947, since auto production ceased and the plants were converted to war production. If it were really from a 1942 Cadillac, it would also be significant because it would meant that the car was manufactured before December 7, 1941. After Pearl Harbor, no chrome was used on cars as this was a strategic material.


1942 Cadillac

The 1942 Cadillac
The Arrow Points to the Fender Ornament
BUT WE WERE WRONG!
Click to Enlarge


We were wrong! It is the hood ornament from a 1940 Chevy! Thanks to our reader Richard for this helpful suggestion!

If you have other ideas, please Contact Me.

The fender ornament served two purposes: (1) it covered the seam when the two halves of the fender were welded together and (2) it helped the driver know where the car was, an aid to steering and parking. Generally, the seam-covering finction was handled by a metal strip on low-priced cars, but for the upper range, a nice sculpted ornament was used. As shown below, this function was included in fender patents (Reference #52). Owners of lower priced cars could buy similar ornament in the after-market.

Fender Patent No. 2,207,366    Fender Patent No. 2,207,366    Patent Diagram for the Reading Crusader

Fender design and the Reading Crusader Locomotive
Fender Patent No. 2,207,366
Paul Cret's Design for the Reading Crusader Locomotive
Click to Enlarge
Click here if you want to learn how to get Free Patent Drawings

We believe that the design of this fender ornament was inspired by the Reading Crusader locomotive.


Pensylvania Turnpike as a super road

The "Super Road"
From the May, 1938 issue of Popular Mechanics
Click to Enlarge


If you just happened to be driving from Harrisburg to Pittsburgh in your 1942 Caddy, you could avail yourself of the [then] miraculous Pennsylvania Turnpike. The ad promises "No fog, no speed limits". By 2011, this "super road" has become a National Joke.

Click here to look at another type of collectible, or keep on scrolling for more Transportation.



Did Cadillac Make a Pickup Truck?

Chevrolet 1964 El Camino

The Chevrolet El Camino sedan/pickup
Did Cadillac Offer This Option?
Click to Enlarge


We got a note from Jim, a reader from Philadelphia. He writes:

"... Yesterday, I saw a Cadillac pickup truck. It looked like an El Camino, but with the big Cadillac "V" emblem on the front and the giant bumpers like they used in the 1950s. My friends think that I was hallucinating. Did Cadillac make a pickup truck in the 1950s ..."

Jim was not hallucinating at all. He most likely saw a Flower Car.

This is a specialized, custom-made vehicle that was used to transport floral tributes from the funeral service to the gravesite. They were used extensively at funerals held on the East Coast and in Canada. They were a very visible addition to the funeral procession, usually following the hearse with dozens of floral tributes. The higher profile of the deceased, the more floral tributes, and thus, more flower cars to delivery the tributes with. Here is a screen shot from Godfather Part I showing the funeral procession for Don Vito Corleone. You'll note that there are six flower cars being used.

 Flower Cars in the Godfathers Funeral Procession

Flower Cars in Vito Corleone's Funeral Procession
That's Calvary Cemetery in Queens
Click to Enlarge


Both the hearse and the flower car were symbols of dignity, style and respect. The use of a Cadillac flower car instead of a van or station wagon also pointed to the wealth of the decedent’s family -- or the stature of the dead gangster where tradition held that the actual assassin had to send the largest floral display.

 Flower Car based on a 1959 Cadillac

Flower Car based on a 1959 Cadillac

Click to Enlarge


The flower car, was expensive to build and had to serve a number of functions. As shown above, they could be built built to carry a casket underneath the stainless steel flower deck. Some funeral homes used a flower car for removals from the place of death to the funeral home instead of a traditional station wagon or van being used as the "first call" car.

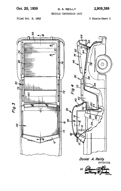
 Reilly Flower Car Conversion Patent No. 2,909,388     Reilly Flower Car Conversion Patent No. 2,909,388

Technique for Converiting a vehicle to a Flower Car
Daniel Reilly Patent No. 2,909,388
Click to Enlarge


Flower cars were not cheap. In fact, a flower car cost more to buy than a hearse because it required a lot of custom body work without the compensating advantage of higher production numbers. The patent diagram above shows some of the key features of the Flower Car. If you want to learn more, click here to download a ".pdf" of Mr. Reilly's patent. Only those funeral directors that enjoyed a constant demand for their vehicles found it practical to purchase a flower car. The golden days of the flower car were in the period 1950-1970.

Here is a montage of Flower Cars from 1937 through 1972:

 Flower Car based on  1937 and 1939 LaSalle     Flower Car based on 1940 Buick and 1941 Cadillac     Flower Car based on 1954 and 1955 Cadillac

 Flower Car based on 1959 and 1960 Cadillac     Flower Car based on 1962 and 1968 Cadillac     Flower Car based on 1970 and 1972 Cadillac

Flower Cars, 1937-1972

Click to Enlarge


Flower cars are still being built today, but they are expensive. Companies such as Accubuilt and Eagle produce these unusual vehicles, The cost of the vehicle must be paid up-front. The demand for flower cars is very small today, and no manufacturer wants to be stuck with an $80,000 vehicle in their inventory if they can help it.

 Flower Car based on a 2009 Cadillac CTS

Flower Car based on a 2009 Cadillac CTS

Click to Enlarge


Flower Cars, as well as Ambulances, Hearses, and Limousines are known as Professional Cars. Generally, they have their own marketplace and interest sites. If you want to know more about these fascinating vehicles, go to ProfessionalCars.org.

Click here to look at another type of collectible, or keep on scrolling for more Transportation.



Streamlined Tricycles ad from the 1936 Sears Catalogue

Streamlined Tricycles
Click to Enlarge

While browsing therough the 1936 Sears catalogue, we were intrigued by these streamlined tricycles. Apparently, streamlining cost between $1.48 and $0.90 back then, or at least that is the difference in price between the streamlined and non-streamlined versions. In 2009 dollars, the streamlined trikes would cost about $150.

Streamlined Tricycles from the 1936 Sears Catalogue    Ad for a Speed Clock from the 1936 Sears Catalogue    Streamlined Tricycles Bert Anderson design Patent D-92,446    Streamlined Tricycles Bert Anderson design Patent D-d100406

Streamlined Tricycles
We do NOT think that a Tricycle Could Attain Speeds That Require Streamlining
BUT-- The "Speed Clock" could make you feel like you needed it...
Ads from the 1936 Sears Catalogue
Design Patent D-92,446 and D-100,406


It is interesting to note that Sears offered a "speed clock" which was sort of a kiddie speedometer that would boost self-esteem by giving a reading that was 10 times faster than the actual speed.

Click here to look at another type of collectible, or keep on scrolling for more Transportation.



Sears catalogue Pages for Pedal cars

Sears Pedal Cars
Also known as "Kiddie Cars"
Click to Enlarge


Pedal cars, juvenile automobiles, play vehicles, wheel gooods, and kiddie cars - all are names that have been used to describe a group of pedal powered toy vehicles that were ridden and enjoyed by children, especially in the United States. A modest number of lucky individuals can remember having a pedal car as a child or playing with one at a friend's house.

"Pedal Car" usually refers to a child's toy vehicle with pedals, wheels, tires, axles, body and steering assembly. Pedal cars were designed for heavy play outdoors. Mostly geared for children two to six years of age, most of the early examples were "kart" style cars made from discards such as old crates, pallets and wagon wheels. Even an old dustbin or washtub could be used as a makeshift body. Tin can headlights made a good finishing touch. It didn’t take long after the rise of the automobile for kids to take to the sidewalks in cars of their own.

In the 1890s the first pedal cars were scratch-built from parts found around the barn, much like automobiles themselves. As the car became a plaything of the rich by the turn of the century, so too the pedal car became an exquisite, commercially built toy. Sheet steel covered the car’s wood frame, and headlights, starting cranks, and license plates were included.

Eventually pedal cars became recognizable as certain makers, like Buick, Pierce-Arrow, Lincoln and Cadillac. pedal cars were created to represent a wide varity of vehicles, including dump trucks, tow trucks, firetrucks, cabs, police cars, zeppelins, and airplanes.

Garton Kidillac    Garton Kidillac

The Garton Kidillac
Free with the purchase of a full-sized Cadillac
Click to Enlarge


The postwar prosperity of the 1950s brought a brand-new automobile to every driveway in United States, and the newly affordable, all-metal pedal car became the baby boom generation’s first set of wheels at the same time. Through the 1954 Sears, Roebuck and Co. catalog, you could buy a chain-drive Garton Kidillac Deluxe with battery-powered head- and tail-lights for $36.95, or a pedal-and-rod-drive Champion sports car from Murray Ohio for $11.98.

Pedal cars were such an icon of popular culture that they were widely featured in advertising. The Garton Kidillac was even given away as a premium to buyers of new Cadillacs. A declining birth rate, high inflation, and the plastic Marx Big Wheel tricycle all arrived in the early 1970s, and pedal cars were never the same.

Sears catalogue ad for the pedal car based on the 1936 Cadillac    The 1936 cadillac    Ad from the October 1935 issue of Popular Mechanics

Kiddie Car vs. the Real Thing
$9.98 in 1936 is the same as $300 in 2009
Ad from the October 1935 issue of Popular Mechanics
Click to Enlarge


From the viewpoint of 2009, you might be wondering whether the pedal cars were actually representative of their real-life counterpart. Here's an ad for the "Just Out" 1936 Cadillac displayed next to a photo of the real thing. As you can see,a lot of the detail of the original has been retained in the kiddie version.

The Steelcraft Cadillac pedal car    1936 Sears Catalogue ad for the Steelcraft Cadillac    Steelcraft Cadillac pedal car

The Steelcraft Cadillac Pedal Car
$9.98 in 1937, equal to about $300 in 2009
Click to Enlarge


Since the Sears Catalogue only used grainy half-tone reproductions of photos, you migh be wondering about the actual appearance of these Steelcraft pedal cars. The car shown in the photos has been carefully restored. It is a beautiful job, and such a toy must have been a true delight for a lucky Boy on Christmas morning.

Steelcraft Mack Dump Truck    1936 Sears Catalogue ad for the Mack Dump Truck    an actual Mack Dump Truck

The Steelcraft Mack Dump Truck and the Real McCoy
$14.98 in 1936 is about $450 in 2009 dollars.
Click to Enlarge


This is a wonderful toy that was made in two age ranges (1-5 yr) and (5-10 yr). We note that a coupe was available for girls. I like the copy in the ad: ".. Every boy can now haul ice, wood, groceries, and drive it himself .."

Steelcraft Lincoln Convertible    1936 Sears Catalogue ad for the Lincoln Roadster    Steelcraft Lincoln Convertible

The Steelcraft Lincoln Convertible
$16.98 in 1936 is equivalent to about $530 in2009 dollars
Click to Enlarge


The Lincoln convertible seems to have been the top of the Sears line in pedal cars. Ever conscious of speed, the Boy could order a special version with a high gear ratio. In additon, a sports model was offered with orange pinstriping and orange wheels. The Boy in the 1930s had an opportunity to accessorize and customize.

Whippet Pedal car    1936 Sears catalogue ad for a Whippet Pedal car    Rickenbacker Pedal Car

Sports and Racing Cars Were Popular

Click to Enlarge


Sports cars were popular subjects among Boys, and many opted for a racer over a stately sedan. Pedal car competitions were organized and boys even modified their cars with fast gear ratios and the like. Pedal car racing is still around as shown in this video:

Pedal Cars did not need to be tied to the roads. A number of fanciful representations of Locomotives and Aircraft were available.

Locomotive pedal car    Sears Ad for a Pedal car in the form of a Locomotive

The Locomotive Represented as a Pedal Car
$1.29 in 1936 would be about $40 in 2009 dollars
Click to Enlarge


Finally, we get to the piece de resistance -- the pedal car version of Charles Lindbergh's "Sprirt of Saint Louis." In fact, Sears offered a more mundane airplane pedal car called "The Scout", but the "Sprirt" commanded $12.98 back in 1936. Recently, the Steelcraft version of the "Spirit" was featured on the PBS program Antiques Roadshow.

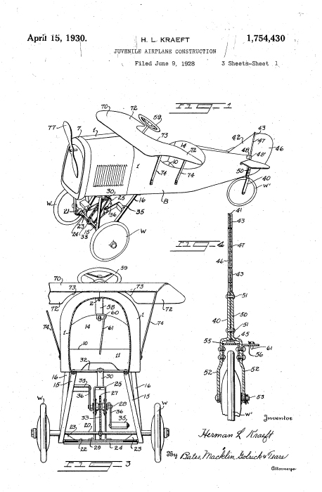
Pedal car version of the Scout airplane    Kraeft patent for Pedal Car shaped like an airplane No. 1,754,430    1936 Sears ad for Pedal cars in the form of Airplanes including the Spirit of St. Louis    Steelcraft Pedal car in the form of the Spirit of Saint Louis

Steelcraft Pedal Cars in the Form of Airplanes
$12.98 in 1936 would be about $400 in 2009 but it is worth about $7-8000
H.L. Kraeft patent for Pedal Car shaped like an airplane No. 1,754,430
Click to Enlarge


You may be surprised to learn that the estimated value of that particular pedal car was in the $7,000 - $8,000 range. Pedal cars are definitely NOT for the kiddies these days!

Click here to look at another type of collectible, or keep on scrolling for more Transportation.





The Golden Arrow in Flight
Henry Segrave and The Golden Arrow
Click to Enlarge

I have always thought that massive land-speed record cars were really spectacular, but it took a mechanical toy to get me to do some extensive research on the subject. We'll have more on the toy at the end, but I'd like to share some stories about the incredible men and machines that were involved in pushing the envelope of speed. I hope to get two points across: (1) This was a place where streamlining really mattered and (2) It took a particular kind of swashbuckling, devil-may-care individual to get into these things and drive them at speeds up to 400 miles an hour. Sadly, we'll also see that the most colorful of this select group died early and in violent crashes.

Frankly, I think that the Golden Arrow is probably the "coolest" machine ever put together -- and I mean that in both the literal and figurative senses. Next, if Henry Segrave didn't actually exist, Errol Flynn would have had to have made him up.

A British national, Sir Henry O'Neil de Hane Segrave was born in Baltimore, Maryland of an American mother and an Irish father. He was raised in Ireland and attended Eton College in England. He was commissioned into the Royal Warwickshire Regiment in 1914 and fought in France. Severely wounded, he was sent home to recuperate. After a brief period, he learned to fly and served as a fighter pilot with the Royal Flying Corps from January 1916 (while still retaining his commission in the Royal Warwickshires). In July 1916 he became a flight commander as a temporary captain. He was wounded again in aerial combat. In 1919 he transferred to the Royal Air Force Administrative Branch, but soon resigned his commission due to his wounds. Segrave bragged that he would drive a car at over 200 miles per hour. People thought that the war had made him mad.


Portrait of Henry Segrave    Snapshot of Henry Segrave

Portrait and Snapshot of Henry Segrave
Click to Enlarge

The attempts on the world land speed record captured huge public interest during the 20s and 30s. To set the stage, the sport involved measuring the average speed of two runs over a measured mile within a 60 minute period. Early records were set on the long, flat sands of Southport (near Liverpool, UK) and Pendine in South Wales. Later, the tests moved Daytona, Florida and eventually to the Bonneville Salt Flats in the United States.

For most of the 1920s, British engineers dominated the "unrestricted" class of land racers, in which no limits were placed on design or horsepower. Segrave's principal competitor was Malcolm Campbell driving his "Blue Bird". Newspaper headlines announce the results to an eager public as Campbell and Segrave seeemingly took turns surpassing each others record.


Portrait of Malcolm Campbell    Bluebird Land Speed Record Car

Portrait of Malcolm Campbell and Snapshot of Blue Bird at Daytona
Click to Enlarge

By 1928 Campbell had pushed the record to 206 mph in Blue Bird after a hair raising drive along the 20 miles of hard packed sand at Daytona beach in bad conditions. This was broken within two months by an American entry, the White-Triplex Special, consisting of three 27 litre airplane engines fitted on a truck chassis. The vehicle was so simple that it had no clutch or gearbox and only a single fixed ratio. Once started by a push start, it had to keep rolling. Driver comforts were minimal: the forward engine was sheathed in a crude attempt at streamlining, the two side-by-side behind were bare, with the driver perched between them. Driver Ray Keech pushed the Triplex to 207 mph and eclipsed Campbell's record.


Portrait of the White Triplex Special at Daytona    Bluebird Land Speed Record Car

Portrait of Ray Keech and Snapshot of The Triplex Special at Daytona
Click to Enlarge

Now it was Segraves' turn. His new car was designed by a leading auto-engineer Capt.John Stuart Irving, powered by a 900 bhp 23.9 litre Napier Lion 12-cylinder airplane engine and encased in a revolutionary streamlined aluminium body. The body was created by one of England's leading coachbuilders, Thrupp and Maberly Ltd. The car was ready by 1929 and although technically the car was named the Irving-Napier Special, it became universally known by its more evocative name of Golden Arrow.


John Stuart Irving and the Golden Arrow Land Speed Car    John Stuart Irving Design patent for a Radiator D-81,795    Sparton Radio Ad featuring the Golden Arrow

John Stuart Irving
Left: John Stuart Irving and Henry Segrave with the Golden Arrow
Capt. Irving went on to design many Deco and Streamlined auto components
Middle: J.S. Irving Patent for a Deco Radiator, D-81795
Right: Saturday Evening Post ad for Sparton Radios
The Golden Arrow suggested Progress and Modernity
Click to Enlarge
Click here if you want to learn how to get Free Patent Drawings

The name was suggested by the arrowhead configuration of the engine and the gold-anodized duralumin coachwork. The most distinctive feature is the Slab Sides Fairings that smoothed airflow around the wheels. However, the "slabs" had an ingenious purpose: the car had no radiator -- the fairings were filled with ice. The cooling water passed once through the engines, then around the brake drums, and was emitted as steam. This arrangement saved the weight of the radiators AND the car became lighter as it accelerated. A telescopic sight on the hood enabled Segrave to aim the car at the far timing gate and allowed him to prevent diagonal drifting. The best part is that all of this ultra-cool styling has a real purpose.

The Golden Arrow in the Fisher Body Guild magazine
The Golden Arrow in The Guildsman

Click Here to read the entire article
Click to Enlarge


I can only imagine the intense stimulating effect that the Golden Arrow had on the imagination of both Boys and Industrial Designers. Part of that may be found in the above illustration from The Guildsman, the official magazine of the The Fisher Body Guild, the ultimate "Boys" Organization. The photo shows The Golden Arrow speeding along in an article about Gasoline. Click Here to read the entire article.


Henry Segrave Driving the Golden Arrow land speed car    Top view of the  Golden Arrow land speed car

Note the "Telescopic Sight"

Cockpit of the Golden Arrow land Speed Car showing Ice reservoirs    Front view of the the Golden Arrow land Speed Car

Ice Reservoirs and Streamlined Fairings

Front view of the Golden Arrow land Speed Car    Tailfin of the Golden Arrow land Speed Car

The Inverted Airfoils Kept the Car from Taking to the Air
The Tailfin was for Lateral Stability
Click to Enlarge

The attempt on the record took place on Daytona Beach in front of a vast crowd on March 11th, 1929. After a single practice run Segrave broke the record with ease at an average speed of 231.44 mph.

On his return to England he was knighted for his achievements but almost immediately transferred his interest to breaking the world water speed record and was killed soon afterwards on Lake Windermere when his boat disintegrated. Golden Arrow was retired and can now be seen in the National Motor Museum at Beaulieu, the Hampshire home of Lord Montagu. In its entire life it never travelled more than 30 miles under its own power.

Malcolm Campbell, knighted in 1931, went on to break the land speed record and water speed records several times before his death in 1948. His son Donald was later killed attempting to break the water speed record on Lake Coniston, only a few miles from the site of Segrave's death.


Mechanix illustrated article from January 1931    Mechanix illustrated article from June 1933    Mechanix illustrated article from August 1954

Click to Read

Above are three articles from Mechanix Illustrated that illustrate land speed racing at Bonneville, including some of the physics of these masssive machines.



About that Model

The thing that kicked my interest in land speed racers was a wonderful model that I found in Hanover, Pennsylvania. It was NOT cheap, but it was so cool that I splurged on it. After some research, I found that I had indeed gotten a bargain, but it was not like some of my other treasures that came to me at little or no cost. After I bought the model and did some research, I found that there are a fair number of pitfalls, and I'd like to share them with you, because once you have seen the Golden Arrow, you're going to want the model.


Model of the Golden Arrow land Speed Car, left side     Model of the Golden Arrow land Speed Car, top view

Model of the Golden Arrow land Speed Car, right side    Model of the Golden Arrow land Speed Car, top view

Model of the Golden Arrow land Speed Car, correct label    Model of the Golden Arrow land Speed Car, correct tires

The Kingsbury Model of the Golden Arrow
The color must be gold, verify the label and "Dunlop"Tires
Click to Enlarge

Since I did the research, I have been sensitized to this model. The "Real McCoy" was made by Kingsbury in the 1930s. It is about 20 inches long and has a clockwork motor. Pay close attention to the label, as shown above. The authentic model is gold in color, and the tires are marked "Dunlop".

I have seen versions of the Kingsbury model in which the paint has deteriorated and the "restorer" has stripped the paint off, leaving the tin exposed, possibly with a clear coat. THIS IS NOT AUTHENTIC. A little paint loss is preferable to stripping. I have also seen models in high end stores where the rubber tires have been replaced and do not have the appropriate markings. Other variants do not have the driver figure. Since some of these stores are asking outrageous prices (in excess of $1,000 in 2009), you should be very careful that you are getting the correct item. The "Original Box" is not even a plus, as there are numerous internet sites that will sell you a reproduction box. The "correct" price for a real Kingsbury model is in the $500-$700 range in 2009. Pay more at your own risk.

The most insidious problem, however, is that of reproductions from China. They are VERY similar to the Kingsbury model because there was intent to make an exact copy. They are perfectly good, although they missed the detail on the tires. If you want a Chinese repro, you should pay no more than $100 for it. What you DON'T want is to pay an unscrupulous dealer over $1,000 for one of those things. Some have even gone so far as to ding the paint, put the box in a dryer, attach a fake label, etc, etc. For all intents and purposes, the $100 Chinese replica will look just as good as the McCoy. With all this copying, don't plan on buying a Kingsbury model as an investment unless you get lots of documentation of the provenance.

As you check the online auctions, be very suspicious if more than one Kingsbury models are at offer. Red lights should go off all over the place if you walk into a snooty high end store and there are more than one of them! These are ultra-rare items, especially in the United States (they were made in small numbers and distributed mainly in England in 1929.) If you go to a show and several vendors are offering something that purports to be the Kingsbury model, walk away! You can be certain that those vendors are looking for a quick kill to spend the Winter in Key West.

Click here to look at another type of collectible, or keep on scrolling for more Transportation.





The Railton Special    Cobb Railton Special Brochure

John Cobb and the Railton Special

John Rhodes Cobb (December 2, 1899 - September 29, 1952) was a British racing motorist. He made money as a director of fur brokers Anning, Chadwick and Kiver and could afford to specialize in land speed recordracing. He was born and lived in Esher, Surrey, near the Brooklands race track.

With the help of close friend Reid Railton, (who had also designed record-breakers for Sir Malcolm Campbell), Cobb wanted to maximize power and minimize weight. Railton's answer was the Railton Special, that produced than 2500 horsepower in a 6,000 pound vehicle. The Golden Arrow only developed 930 Horsepower on an 8,000 pound chassis.

Cobb started preparing the car in 1935, but it was three years before he was ready to go to the Bonneville Salt Flats, about 125 miles from Salt Lake City, for his attempt. He made the cover of Modern Wonder magazine, the British equivalent of Popular Science or Mechanix Illustrated. Eventually, he was to make three distinct sets of runs. His prewar ventures were sponsored by Gilmore Oil, discussed below.

His most memorable version in 1947 was sponsored by Mobil Oil and was part of a very exciting duel of the records between Cobb and George Eyston.


Railton-Cobb Car on the cover of Modern Wonder    Gilmore Oil version of the Railton-Cobb Land Speed record Car    Mobil Oil version of the Railton-Cobb land speed record car

The 1939 Version was Sponsored by Gilmore Oil and the 1947 Version by Mobil Oil
1938 Railton-Cobb Car on the cover of Modern Wonder
Click to Enlarge the Diagrams

The Bonneville Salt Flats are the remains of a prehistoric lake of about 19,000 square miles area. Although it is perfectly flat, it is 4,000 feet above sea level, imposing a consequent loss of power on the engines due to reduced oxygen. The temperature on the salt runs up to more than 110 degrees Fahrenheit in the shade and this too imposes problems for adequate cooling of engine and tires. The flats offer a straight run of about 13 miles, which is actually more like the minimum run for acceleration, the timed run, and braking from 400 miles per hour, Cobb's ultimate target.


the 1938 Cobb-Railton land Speed Record Car

The 1938 Cobb-Railton Land Speed Record Car
Black paint for the Timing "Electric Eyes"
Click to Enlarge the Diagrams

Click Here to download an articles about Cobb that appeared in Popular Mechanics during the course of 1938.

Railton overcame all these problems and Cobb was to be the fastest man on wheels three times before his death. Cobb made his first run in September 1938, when the world record was 345 mph and at that time, Cobb had never driven faster than 170 mph at Brooklands. The rather grainy photo (above) shows the first paint scheme of the car -- the black side panels were dictated by the needs of the "electric eye" timing devices. Later, with improved timing devices, the car was stripped of paint and ran in its polished aluminum birthday suit.


the 1938 Eyston Thunderbolt Land Speed Record Car    the 1938 Eyston Thunderbolt Land Speed Record Car on the cover of The Book Of Motors

The 1938 Eyston Thunderbolt Land Speed Record Car
Click to Enlarge the Diagrams

In 1938, Cobb raced against George Eyston's car ("The Thunderbolt") In this series, chronicled in the video below, the world record changed hands several times. Land speed racing was suspended during World War II.

Click Here to download an articles about Eyston and "Thunderbolt" that appeared in Popular Mechanics during the course of 1939.

Cobb vs Eyston at Bonneville


Click Here to download a pdf with more details of this competition.

In 1947, Cobb came back to Bonneville with a thoroughly redesigned car. The vehicle was so futuristic in appearance that he was profiled on the cover of LIFE Magazine.


John Cobb on the cover of LIFE Magazine, September 1, 1947    Cover Story about John Cobb, LIFE, 9-01-1947    Story about John Cobb, LIFE Magazine, Sept 1, 1947

John Cobb on the cover of LIFE Magazine, September 1, 1947
Click to Enlarge the Diagrams

Reid Railton used many unorthodox methods to achieve his result. He started with an S-shaped backbone chassis, and used two second-hand 1928 Napier Lion aero engines from a motor boat, but set them at an angle, one driving the front wheels and the other the rear wheels.


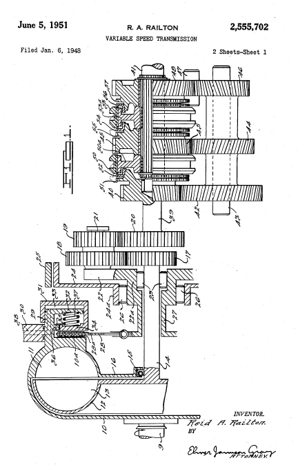
Photo of Reid Railton    Reid Railton patent for a variable speed transmission No. 2,555,702

Reid Railton, Master Automotive Engineer
Patent for a variable speed transmission, No. 2,555,702
Click to Enlarge
Click here if you want to learn how to get Free Patent Drawings

Railton pared weight from the supercharged Lion engines until they scaled only 1120 lb each yet still delivered a total 2500 horsepower. There were neither flywheels nor clutches, and Cobb sat up front ahead of the power plants, as in a modern racing car.


Frame of the Cobb-Railton Land Speed Racer    John Cobb Driving the Railton Car without the body    Refueling the Cobb-Railton Car

Lifting the shell onto the Railton Car

Inside the Cobb-Railton Car
The driver's position in the car
Lifting the body onto the car
Click to Enlarge the Diagrams

The special lightweight body shell was made in one piece and had to be taken off for refueling and tire changes between the two runs necessary for the record. The streamlined shell could be lifted off by six men. Like the Golden Arrow, ice was used for cooling, saving the weight of a radiator. The melted ice was also used to take heat away from the drum brakes and had to be replaced between runs. Wheelbase was 13 ft 6 in. Overall dimensions were: Length: 28 ft 8 in; Width: 8 ft wide; and Height: 4 ft 3.

A truck was used to tow-start the Railton. In order to avoid stepping on the delicate aluminium shell, Cobb entered the cockpit from a ramp on the truck. On September 15,1947, he became the first man to drive at more than 350 mph. On his last run, he clocked 394.20 mph on the North Leg and 403 mph on the South Leg, becoming the first man to exceed 400 mph in a wheeled vehicle.

Only a few weeks later, he was killed while attempting to break the water speed record, eerily meeting the same fate as Segrave..

Cobb's car held the land speed record until 1963, a remarkable 16 year run. The Railton is preserved in a museum in Birmingham, a fitting tribute to both designer and driver.

The Railton Model

I was fortunate to find a very nice scale model of the Cobb-Railton car with the Gilmore Oil lions on it. The model is quite well-made, although I wish that it were about twice the size. These things retail in the neighborhood of $70.


Scale Model of the 1938 Cobb- Railton Land Speed Record Car

Source for the scale model of the 1938 Cobb- Railton Land Speed Record Car

Scale Model of the 1938 Cobb- Railton Land Speed Record Car
Mach One Models in the UK
Click to Enlarge the Diagrams

Click here to look at another type of collectible, or keep on scrolling for more Transportation.





Henry Traver Crystal Beach Cyclone Roller Coaster

The Roller Coasters of Henry G. Traver
Click to Enlarge

Harry G. Traver was born in 1877 and, after attending college in Nebraska and New York, became a mechanical engineer. In 1919, he began to design amusement park rides. His first was akin to the modern "Airplane Ride" as inspired by seagulls he'd seen circling a boat. Other equally tame rides followed, including the Tumble Bug - which can still be found in contemporary amusement parks. He crossed over into new territory when he began to design roller coasters. His first coaster (the Jazz Railway) was built for the Philadelphia Sesquicentennial Exposition in 1926. It was nice, antertaining and largely forgettable. Suitably chastened by the lack of public reaction, Travers passed into the pantheon of coasters when he created the "Terrible Triplets". These were two coasters at Revere Beach (The Cyclone and Lightning) and a another ride named Cyclone at Crystal beach.


Henry Traver Revere Beach Cyclone Roller Coaster   Henry Traver Revere Beach Lightning Roller Coaster

The Revere Beach Coasters (left: Cyclone, right: Lightning)

Henry Traver Crystal Beach Cyclone Roller Coaster

The Crystal Beach Cyclone
Click to Enlarge the Diagrams

The Cyclone at Revere Beach was the world's largest and fastest coaster at the time with a first vertical drop was 100 feet (35 meter), reaching speeds of up to 45 mph. The companion in terror ar Revere was the Lightning, an all steel coaster whose only straight and level track was at the station. it had steep grades and banked curves making it the most unique coaster in the world. The Cyclone at Crystal Beach was the most famous of the triplets -- an estimated 75,000 people went to see it on its opening day with many of those who rode it losing consciousness. its first drop is renowned as the best ever. It was so steep it appeared that the riders would end up in Lake Erie. Although the entire ride lasted only 40 seconds the Cyclone at Crystal Beach is still considered by many enthusiasts to be the most thrilling coaster ever built.


Henry Traver Roller Coaster Patent 1,713,793   Henry Traver Roller Coaster Patent 1,713,793   Henry Traver Roller Coaster Patent 1,713,793   Henry Traver Roller Coaster Patent 1,713,793

He Made Good Patent Diagrams As Well...
Henry Traver Roller Coaster Patent 1,713,793
Click to Enlarge the Diagrams
Click here if you want to learn how to get Free Patent Drawings

Despite being a coaster visionary, Traver had a questionable safety record. His coasters were known in the trade as "rib-ticklers" because of the bone rattling ride they provided. Two people died on Traver's Coasters. A woman either jumped or fell out of the Lightning on its second day of operation. A man died on the Crystal Beach Cyclone in 1938 when he stood up to take off his coat. the deaths and tales of fainting riders only made the coasters more popular.

The Lightning was dismantled in 1933 because of high maintenance costs. The Cyclone at Crystal Beach was demolished in 1946, and the Cyclone at Revere Beach lasted until 1969.

Although the "terrible triplets" were incredibly popular and profitable, Traver's company did not survive the Great Depression. After coaster design, Travers became an Anthropologist. Alternatively described as a saint, charlatan, visionary, schemer, showman, con artist, and a genius there is unanimous agreement that his coasters were truly terrifying.

Click here to look at another type of collectible, or keep on scrolling for more Transportation.



The Russian Visionaries: DeSakhnoffsky and De Seversky



Alex DeSakhnoffsky   Alex DeSakhnoffsky

Introducing Alexis DeSakhnoffsky
Click to enlarge

Count Alexis de Sakhnoffsky (1901-1964) was a Russian-American industrial designer, known principally for his Streamline-style automotive designs. Born in Moscow in 1901, Sakhnoffsky emigrated to Switzerland in 1919 and by the 1920s had become a well-known designer of European sports cars. He relocated to North America in the late 1920s and designed vehicles for Auburn Automobile, the White Motor Company, and others.

Sakhnoffsky also completed numerous other design projects, including bicycles, kitchen items, and furniture. He served as a technical editor for Esquire magazine from 1934 until the 1960s. His characteristic drawing style shows a carefully calculated veneer of chic while retaining the basics of information. The background is usually coloured and favouring the dark, with highlights smeared on in a lighter chalk or pastel. Streamlining is evoked but the objects are often static. The mechanical bulk dissolves in shimmer. The drawings shown here were a regular feature in ESQUIRE magazine of the 1930's, adding sophistication to the publication's cheerful blend of snappy stories and girlie cartoons. By 1963, De Sakhnoffsky was old hat and was reduced to commenting on new car designs for Popular Mechanics. Here are some of his patent drawings


DeSakhnoffsky Fuel Truck Design D-105899   DeSakhnoffsky Tractor Patent D-108827   DeSakhnoffsky Trailer Patent D-110857

Vehicle Design Patents by Alexis DeSakhnoffsky
(left to right) Fuel Truck D-105,899, Tractor D-108,827, Trailer D-110,857
Click to Enlarge the Diagrams
Click here if you want to learn how to get Free Patent Drawings



Alex DeSakhnoffsky

Introducing De Seversky
Click to enlarge

Alexander Nikolaievich Prokofiev de Seversky was a Russian-American aviation pioneer, inventor, and influential advocate of strategic air power. Of noble Russian parentage, Seversky was born in Tiflis. He served as a Russian naval aviator in World War I, lost a leg in combat, and continued to fly, shooting down six German aircraft. In 1917 he was in the U.S. as a member of the naval aviation mission and decided to stay rather than return to a Russia torn apart by the Revolution. He worked as a test pilot and became an assistant to air power advocate General Billy Mitchell, aiding him in his push to prove airpower's ability to sink battleships. Seversky married New Orleans socialite and pilot Evelyn Oliphantin 1923; the two settled in New York City. In 1927, he became a naturalized citizen of the United States. He was the first to patent midair refueling and developed the P-35 fighter, the antecedent of most modern single wing fighters. He founded the Seversky Aircraft Corporation in 1931 but, despite landing several government contracts (such as the P-35), the company was never able to turn a profit under his management. The Board of Directors voted him out and reorganized as the Republic Aviation Company, which was successful and produced many planes, including the famous Republic P-47 Thunderbolt. Republic was acquired by Fairchild in 1965. Often described as "flamboyant" and a "showman," Seversky was always good at capturing the public eye, and was considered a newsworthy celebrity. His book Victory Through Air Power was well received and even made into a film by Walt Disney


Air to Air Refueling Patent No. 1728449   DeSeversky Design of the P-35 Patent D111040   The P-35

Alexander De Seversky Designs
Air to Air Refueling Patent No. 1,728,449
Design of the P-35 D-111,040
Click to Enlarge the Diagrams
Click here if you want to learn how to get Free Patent Drawings

The P-35 was the United States Army Air Corp's first, single-seat fighter to incorporate all-metal construction, a fully-enclosed cockpit, and retracting landing gear. This type of brand-new,gee-whiz streamlining struck a chord with the American Public as a whole and Boys in particularly. In 1937, the Cleveland Model Airplane Company issued a very courant model of the P-35 -- when this plane was in its experimental stage as the "X-18-Y" pursuit plane. Today it would be virtually unthinkable for a kid to obtain a precise scale model of an experimental Air Force airplane. Back then, a kid, a German agent, anyone with 20 cents could get a true and faithful model of the plane that was to become the P-35. In fact, a similar aircraft is reported to have been used operationally by the Japanese during World War II.

Cleveland DeSeversky P-35 Kit

The Cleveland Box, extolling the excitement of Streamlining

Cleveland DeSeversky P-35 Kit    Cleveland DeSeversky P-35 Kit    Cleveland DeSeversky P-35 Kit

The Cleveland Model of the P-35 Fighter

Click to Enlarge


Only 214 of these airplanes were built.

Cleveland Site Location of Seversky P-35   

Seversky P-35 Fighter on the Cleveland Site

If model airplanes are of interest, you can buy the plans and patterns that will enable you to make this model right now. Click Here to go to the exact location on the Cleveland Website to get them.

We have a special special model airplanes page that gives a lot more detail about building balsa wood model airplanes.

Click here to look at another type of collectible, or keep on scrolling for more Transportation.



The American Visionary: Raymond Loewy

Raymond Loewy was an influential designer of the 1920s through the 1970s. He may have coined the term "Industrial Design" -- he certainly was successful, because his mark is all over our society today. He even got his picture on the cover of TIME Magazine, surrounded by images of all the wonderful things that he created. Actually, Loewy created the oustide of most of these wonderful things; the inside was created by more plebeian engineers.


Raymond Loewy on the cover of TIME Magazine
THE Industrial Designer

The Roanoke Visitors Center is located in the old N&W passenger station that was re-styled by Raymond Loewy in 1949. Here are some photos:

N&W Passenger Station, Roanoke - Styled by Raymond Loewy
The Former N&W Passenger Station, Styled by Loewy in 1949

Entrance to the Loewy Gallery, Roanoke
Entrance to the Loewy Gallery

Banner for the Loewy Gallery
Floor to ceiling Portrait of Mr. Loewy

Informative Exhibits

Mr. Loewy had a vision of a widespread integrated public transit system involving both Busses and Trains filling short and long haul needs. To this end, he designed four landmark Motor Coaches for the Greyhound Corporation.

Raymond Loewy Greyhound Bus Design patent D113009   Raymond Loewy Greyhound Bus Design patent D129411   Raymond Loewy Greyhound Bus, February 1949 HOLIDAY Magazine Ad   Raymond Loewy Greyhound Bus Design patent D127174   Raymond Loewy Greyhound Bus Design patent 2,563,917

Raymond Loewy's Bus Designs for Greyhound to Complement Train Service
(left to right) D113,009, D129411, D127114, and 2,563,917
The Loewy Bus, as featured in a February, 1949 Advertisement in Holiday Magazine
Click to Enlarge the Diagram
Click here if you want to learn how to get Free Patent Drawings


Streamlined Locomotives page.

Click here to look at another type of collectible, or keep on scrolling for more Transportation.



The Oscar Mayer Wienermobile
The Oscar Mayer Wienermobile

I suppose that everyone knows about the Oscar Mayer Wienermobile (at least in 2009) However, since everything lasts forever on the internet, I should explain it for future audiences when PC Nutritionists and the Nanny Stata have outlawed Hot Dogs. This is a vehicle designed to look like a big hot dog. The Oscar Mayer corporation sends these things all over the country to stimulate demand for their sausage products. If they called it salumeria, maybe the yuppie elite would have a greater appreciation of this treat. But, the Hot Dog is thoroughly plebeian, so the forces of repression will keep hamnmering away at it because in contemporary America, anything the masses love must be dangerous.


Wienermobile Patent D171150

Wienermobile Patent D171150
Click to Enlarge the Diagrams
Click here if you want to learn how to get Free Patent Drawings

Click here to look at another type of collectible, or keep on scrolling for more Transportation.



Motor Glide Dealership, Los Angeles c 1938

The Motor Glide Scooter

The classic scooter design features a step-through frame and a flat floorboard for the rider's feet. This design is possible because the scooter engine and the drive system transferring power to the rear wheel is attached to the rear axle or under the seat. Unlike a motorcycle, in which the engine is mounted on the frame, this front-hinged arrangement allows the engine to swing vertically together with the rear wheel. Most vintage scooters and some newer retro models have axle-mounted engines with a manual transmission and the gear shift and clutch controls built into the left handlebar. Most newer scooters use a Continuously Variable Transmission (CVT).

Unlike most motorcycles, scooters usually feature bodywork, including a front leg shield and body that conceals all or most of the mechanicals. There is often some integral storage space, either under the seat, built into the front leg shield, or both. Most modern motor scooters have smaller wheels than motorcycles, 12 to 15 inches (30 to 37.5 cm) in diameter, although maxi- and big-wheel scooters may have larger wheels. Most scooters have smaller engines than motorcycles, 50 cc to 400 cc with a single cylinder, although larger models have twin cylinder 400 to 800 cc. motors.


The Salsbury Motor Glide Scooter   Motor Glide Scooter Patent 2,225,914

The Salsbury Motor Glide Scooter
Motor Glide Scooter Patent no. 2,225,914
Click to Enlarge
Click here if you want to learn how to get Free Patent Drawings

Salsbury's Motor Glide was a tiny motorbike built in 1936 in the back of a plumbing and heating shop in Oakland, California, by E. Foster Salsbury and inventor Austin Elmore. It had an enclosed body and an automatic transmission. It was such a success that in 1938 Salsbury attempted to license the design to several European manufacturers including Piaggio. The Motor Glide was the first depression era scooter, and set the standards for all later models. It inspired production of motor scooters by Powell, Moto-scoot, Cushman, Rock-Ola, and others. Salsbury produced the first automatic scooter with a continuously variable transmission (CVT).


The Rockola Scooter    Rockola Scooter Patent D-111,525   Ad for the Rockola Scooter from Popular Mechanics, August 1938  

The Rockola Scooter
Rockola Scooter Design Patent D-111,525
Ad for the Rockola Scooter from Popular Mechanics, August 1938
Click to Enlarge
Click here if you want to learn how to get Free Patent Drawings

One unusual competitor was David Rockola who had made a fortune in juke boxes. His scooters are now very desirable

Click here to look at another type of collectible, or keep on scrolling for more Transportation.



The Markley Automatic Recorder

Today's truckers are constantly monitored by GPS recorders that tell the folks back home not onl where they are, but also how fast they are going and how long they stop for breaks. Most truckers are not particularly thrilled with this. Management has always wanted to keep track of drivers, going back even to the infancy of the trucking industry. In 1938, the Markley Automatic Recorder went on the market. This sleek art-deco styled object was installed in the truck cab and connected electrically to the transmission. A clockwork mechanism advanced a paper tape, marking it in time increments, similar devices marked the distance traveled from the odometer. From this tape, management could determine how far and how fast the vehicle had been driven.


Markley Recorder Design Patent D-111,520   Markley Recorder Technical Patent No. 2,254,661

The Markley Automatic Recorder
Markley Recorder Design patent D-111,520
Markley Recorder Technical Patent No. 2,254,661
Click to Enlarge the Diagrams
Click here if you want to learn how to get Free Patent Drawings

Click here to look at another type of collectible, or keep on scrolling for more Transportation.




Serro Scotty Trailers
Serro "Scotty" Trailers

Posted 09-20-05

I have a personal interest in the famous Serro "Scotty" trailer -- not because I own one, but because their plant was in Irwin, Pa. Right next to the Pennsylvania Turnpike, the company had an enormous parking lot with a large numebr of trailers stored ready for shipment. When I saw that parking lot and the big "Scotty" sign, I knew that my home in Pittsburgh wasn't far away.

There is a Serro Scotty Website that has a whole lot of detail on these wonderful creations. My interest was recently piqued by this photo of a PT Cruiser towing a Model 10 (or "Tear Drop") This trailer is 10-feet long and the back opened to access kitchen. You can sleep two people inside. They only made 225 of them.

PT Cruiser towing a Model 10
PT Cruiser Towing a "Tear Drop"

One of my readers sent me this photo of a very lovely Serro Silverside (The "Sportsman 13" in the ad). The 13-foot Scotty weighs 975 lbs. dry weight. The 15-footer is 1300 lbs.

Serro Sportsman Model 13
Serro Sportsman Model 13 (The "Silverside")

Click here to look at another type of collectible, or keep on scrolling for more Transportation.




Matchbox Cars
Bob's Matchbook Cars

Posted 09-29-08

These are some photos of a collection of Matchbox Cars owned by my reader Bob, who is also an expert on Rocket Banks (See our Toy Page) Bob writes:

"...The first photo (above) shows the cars I had in the late 1950s and early 1960s. I used these on my HO scale train setup. They were a little larger than the HO scale cars available but they were better detailed. And of course, I played with these cars. These are the only ones that I have from my youth. They bring back memories of when purchased, playing with them and dreams of driving..."

First row: Tan Commer Pick Up MK VIII, 1960 Ford Thunderbird Tu-Tone white over Pink, Ford G.T., 1962 Green Lincoln Continental,
Second Row: Citroen DS 19, Green Jaguar Type D with gray tires, Red Jaguar Type E

Bob also sent us these photos of his complete 75 car collection:

75 car matchbox collection   75 car matchbox collection

75 car matchbox collection   75 car matchbox collection

He collected all 75...

Bob has this to say about these cars:

"... In the early 1980's, Lesney [the original manufacturer] was sold to a Far East company with production being relocated from England. I had to search for the last of the Made In England die cast cars. Since my son also played with this type of car, I wanted to obtain a set for my son and future daughter. I kept a list of what I had and needed. Before the Internet and eBay, during travels over the U.S, Spain and England, I was able to purchase two of each. Recently, I found a mint store display for one set of these models on the Internet. Within the display, behind the rows of cars, there is storage for all of the car's boxes. The Internet does make finding these toys very easy. You must verify that the cars were made by Lesney in England as the current owners are reproducing these. ..."



Bob has some full-size cars that are also of interest:

1970 Lincoln Mark III
1979 Lincoln Mark V

1979 Lincoln Mark V
1970 Lincoln Mark III

Somewhat bigger than a Matchbox...

Here's what he as to say:

"... Here's a photo of my 1970 Lincoln MARK III which I purchased after two years in the US Army. I ordered it in 1969 and it was 'one of those' that appears to have been built on a Friday, before a major Holiday and was a problem car. I still have it today with 64K miles on it. My lesson learned: It is better to want something than to actually have it!

This is my 1979 Lincoln MARK V with 34K miles on it. It's the longest car I own! These are my other hobby. Lesson learned: Thank goodness for collector type of auto insurance! Otherwise the insurance for hobby cars would be too costly. ..."

With all due deference to Bob, here is my favorite Lincoln


The 1946 Lincoln
The 1946 Lincoln
Click on the Photo to Enlarge It
From the October 1946 Issue of House Beautiful

Finally, we end this discussion with a link to a discourse on the famous Hot Rod Lincoln.

Click here to look at another type of collectible, or keep on scrolling for more Transportation.




Phil's Studebaker
Phil's 1956 Studebaker

Posted 12-29-2004

Our friend "40s Phil" from Indiana is in the process of restoring a Studebaker. He writes:

I haven't done anything with my collection of stuff for most of the year. I did manage to build three low-slung streamlined shelves this year to get the remainder of my "stuff" off the floor. I have an entire 1040s kitchen (Youngstown) in my garage and I was going to re-finish all the cabinets and install it this year .... but that didn't get done. Maybe next year. I did manage to get my 56 Studebaker finished (except the interior) and running this year (see attachments) so I did get somethingaccomplished this year.

Studebaker Hawk design Patent D - 178,718

Studebaker Hawk design Patent D - 178,718
Click to Enlarge

Click here to look at another type of collectible, or keep on scrolling for more Transportation.




Roar with Gllmore
Roar with Gillmore

Posted 8-15-2002

The article begins: Do you remember slogans like "Blu-Green Gas," "Roar With Gilmore," "Gilmore The Record Breaker?" Remember the "Gilmore Fun Circus" radio show and "That Funny Red Lion Gas Song?" In the 1920s and '30s these were the sounds of the Gilmore Oil Company of Los Angeles, California. Up and down the West Coast, almost every kid wanted his mom and dad to "fill-'er-up" at the cream and red service stations with the large impressive lion sign on top the building. The kids were in for a real treat, and as far as they were concerned, it was all free. Gilmore comic books, "Gilmore Cub" newspapers with interesting facts, last week's gas song winners, all the latest racing news, candy suckers in the shape of a lion and other promotional goodies always were available. If they were very lucky, they might see some live lions, clowns, and a special bodied speedster, known today as the "Gilmore Mystery' Car." All this was the genius of Earl B. Gilmore, President of the Company.... Click here to read more about the fascinating life of Earl Bell Gillmore, in an informative article by Allan Darr. Click Here for a large variety of internet resources related to Gillmore Oil collectibles.

Click here to look at another type of collectible, or keep on scrolling for more Transportation.




Rocket Plane Sleds in progress    Rocket Plane Sleds finished

Rocket Plane Sleds
Click to Enlarge

Posted 6-15-2001

O.K. They are not "wheeled", but they are the kind of "wheels" that every kid wanted to see during the Winter Holidays

These two sleds belonged to Karen's brothers Howard and Mike and they were passed down to her sons Kevin and Justin. They had fallen into extreme disrepair when I got hold of them. I just adore them because of their "Rocket Plane" name. Howard and Mike are my age and I know that this is JUST the kind of thing that got my blood racing on cold winter days. The name "Rocket Plane" suggested Commander Cody and Chuck Yeager and Captain Video and everything else that little boys dreamed about in the very early 1950s. Alas, at that time we lived in the city and it didn't make a whole lot of sense to have a sled... especially when we didn't have groceries half the time. I had to content myself with taking the streetcar to a park and then bumming rides off the rich kids that had sleds. (AWWW...)

At any rate it was with great enthusiasm that I undertook the complete restoration of both sleds. It was good that I was so eager, because just about everything was wrong with them. Two generations of boys had wrought a lot of damage. To add to the misery, these things were NOT meant to be taken apart --- everything is either welded or held together with rivets. I had to repair or create wood parts, have metal welded, and mask everything off six ways from Sunday to repaint the thing. Once again, my friends at the Monarch Paint Store on Connecticut Avenue were very helpful in preparing lacquer that exactly matched the original color

Even with the repairs, I really don't think that the sleds are in condition for extensive use by young boys. Because the varnish wore off, the exposed wood parts deteriorated significantly and do not have the strength and flexibility to function as they were intended. Alas, they can only suggest the rip roaring fun of coasting down a steep hill. I can almost smell my soaking wet Hopalong Cassidy jacquard-knit wool sweater when I look at them --- you always got soaking wet when you went out sledding.

Pedal Powered Ice Sled

Pedal Powered Ice Sled
From the March, 1934 issue of Popular Mechanics
Click to Enlarge


Something that suggests even more "rip roaring fun" is this pedal powered ice sled. You had to be a very lucky boy to have a Dad who would build such a gadget, especially in the middle of the Depression. If you want to try your hand click here for the full details as they appeared in 1934.

Paris Sled with Goose Figures

Paris Sled with Goose Figures
Click to Enlarge

We recently found this lovely Paris sled with goose figures on the tips of the runners.

Click here to look at another type of collectible, or keep on scrolling for more Transportation.




Columbia Five Star Superb

Columbia Five Star Superb
The Rich Kids' Bike
Click to Enlarge


I am just totally thrilled by this! This is a real live Columbia "Five Star Superb" bicycle that came out of an attic in a moving sale. I was helping some neighbors lug things around and they said "You like old things... would you like this?" I managed to remain nonchalant, but my heart was racing. This bike was the Holy Grail of my youth --- the rich kids had bikes like this, but the only way a poor kid (like me) could get close was to work really hard. I sold Cloverine Brand Salve. I sold LOTS of Cloverine Brand Salve. When I had sold enough to claim the Columbia Five Star as my prize, the company was a bit embarassed --- nobody had ever sold enough salve to claim the prize. They offered me the job of District Manager, but I took the bike instead.

Cloverine Salve
Cloverine Salve
I Earned the Bike the Hard Way

The bike was manufactured by the Westfield Manufacturing Company (of Westfield, Mass.), a company producing bikes under the "Columbia" name since the 1890s. In 1950 or thereabouts, it sold for $78.50, equivalent to about $1,500 today. (At that time, $1/hr was a good wage, well above the minimum of $0.55/hr.) A typical employee would have had to work for two weeks to earn enough money (before taxes...) to buy this bicycle. Definitley, this was for rich kids only. The frame was made by a patented (see below) "Therm-O-Matic" process with inviusible welds and seamless joints. The half inch pitch drive chain operates a New Departure Type D coaster brake. A horn is concealed in the tank and the sprung front frame has a locking mechanism. It is fited with a Stewart-Warner "Golden Meteor" Speedometer. The thing weighs 72 pounds.

Columbia Five Star Superb Springer Fork   Thermomatic Welding Process Patent 2380497   Bike Horn patent D110831    General baloon Tire Bike Patent 1380082
Details of the Five Star
(left to right) Sprung Front Fork, Thermomatic Welding Process Patent 2,380,497
Bike Horn patent D-110,831 and General Balloon Tire Bike Patent 1,380,082
Click to Enlarge


I rode the Five Star that I earned until the fat fenders and tank were out of style. So, I "customized" it. Then it fell apart through total neglect and abuse on my part. I am so thrilled to get a second chance at one of these totally beautiful objects.



The only bicycle that I would value more than my Five Star is a Bowden Spacelander, shown below. This zany bicycle was introduced in 1960 and did not sell. Later, collectors discovered them and bid their value into the five figures. In 1990, the bike was re-issued. The internet auctions abound with these replicas.

The Bowden Spacelander    Bowden Bicycle Patent 2537325    Ad for the Bowden Spacelander
The Bowden Spacelander
Patent 2,537,325
Click to Enlarge


Click here to look at another type of collectible, or keep on scrolling for more Transportation.




Karen Tries out the Finished Product
The Sears Push Mower
Works So Easy, Even the Ladies Can Use It
Click to Enlarge


This is a Sears Craftsman model 121-81762 reel-type manual lawnmower. I got this about fifteen years ago at a garage sale and it always worked just fine. (I have a VERY small yard...) In the winter of 2001, I decided to restore it. After stripping away years of rust and grime, I was stunned to find that the original colors were a very lively green and yellow. The somber patina of age gave an unusual dignity to the old mower; I was somewhat surprised, much as the folks who restored Mount Vernon or the Sistine Chapel. "New" is not necessarily "Dignified". Kudos to Sears of the 1940s --- the mower was completely intact, and everything is in fine condition. Even though the thing is nearly sixty years old, there is hardly any wear at all.

The Lawn Mower  --- Exploded View    Push Mower Patent D111106   Power Mower Patent D111507

The Lawn Mower --- Exploded View
Push Mower Design patent D-111,106
Power Mower (variant) Design Patent D-111,507 Click to Enlarge

I took the mower to Piney Branch Hardware, the last place in the city that sharpens these things.

The staff was delighted to see it. So am I...

Click here to look at another type of collectible, or keep on scrolling for more Transportation.



SWAT Tank
SWAT Vehicles
An Armored Division for the Local Police Force
Click to Enlarge


Lately, local police forces have begun to resemble the Army, Air Force and Navy -- they seem to have acquired helicopters, patrol boats and tanks. On the other hand, criminals have also acquired more powerful weapons. This is really nothing new. The following article from Popular Mechanics in 1932 illustrates that all-purpose police emergency vehicles were around quite some time ago.

1932 police emergency vehicle   contemporary police emergency vehicle

Police Emergency Vehicles Then and Now
Click to Enlarge

It is somewhat reassuring to note that the contemporary vehicle does not have to lift dead horses off the street...

Click here to look at another type of collectible, or keep on scrolling for more Transportation.



Transportation Miscellania

As I do research in patents, I often come across unusual items that may be of interest to my readers. Here are a few of the better ones.

We start with the Tricycle:

Tricycle Design patent D110100    Tricycle Design patent D110747
The Tricycle
Tricycle Design Patents D-110,100 and D-110,747
Click to Enlarge

Next, are auto parts. Sometimes, while idling along behind a slow driver or a teenager yapping on his cell phone, I wish that I had a pair of those air horns...

Air Horns patent D111187    Auto radio Design patent D110116    spark_plug Design patent D110518    Electric Door Lock  Patent 2,293,968
Air Horns, Auto radio, Spark Plug, Electric Door Lock
Horns: Design Patent D-111,187 Radio: D-110,116 Spark Plug: D-110,518 Electric Door Lock 2,293,968
Click to Enlarge


Here are some others. I did not know that Traffic Radar dates back to the 1930s. The road markers are still in use.

Rumble Seat patent 1,735,908    caterpillar tractor patent D111154    traffic radar patent 1982341    road marker Design patent D110468
International Harvester Tractor, Traffic Radar, Road Marker
Rumble Seat: 1,735,908 Tractor: Design Patent D-111,154 Radar: 1,982,341 Road marker: D-110,468
Click to Enlarge


jitterbuzz facebook signup graphic
Join Us on Facebook

Counter for the Entire Website - not just this page


website counter


Home | About Lindy | Last Week's Reviews | Upcoming Events | 1940s Collectibles
The Guide - Establishments - Travel - Accessories
Music | Links | Photo Gallery | Extras | Contact