The Toast-O-Lator
Restoring the Toast-O-Lator
The "Aristocrat of Toasters"
Hi Lindy Hoppers!!!
Intellectual Content in Mundane Objects
Read about the $5,000 Toast-O-Lator

Toast-O-Lator
toastolatorfacebook signup graphic
Join Us on Facebook

This is a late 40s Toast-O-Lator, a unique appliance that combines Rube Golberg with Henry Dreyfuss. It is approximately four inches wide. The toast is "walked" past the heating elements on an escalator-like mechanism and the dropped out on the other side onto a waiting plate. It is amazing to watch, but it is a complicated mechanical device and it is probably a four star consumer safety hazard. Please join us on our quest to analyze the Toast-O-Lator to death and then restore it to its former glory.

Toast-O-Lator
Shiny, Clever and Dangerous

Toast-O-Lator
The Toast just walks through the thing..
menu of choices



Are You Thinking of Buying a Toast-O-Lator?

In a word: BEWARE!!!

Recently, a very rare Toast-O-Lator sold for $5,000 and the on-line auctions have been flooded with these venerable appliances. Some of them are in very poor condition. Our suggestion is that you "pass" until the market stabilizes. Don't buy anything unless you can see it!

Further, I have very serious doubts about the safety and reliability of the Toast-O-Lator. I would not have one in the house with children. Design flaws in the appliance make it a virtual certainty that you will have a whole lot of cleaning and repairs to do.

If you really want a Toast-O-Lator, the $100 range is probably where the market should stabilize for an Model J in reasonably good working condition. Early models (particularly A and B) are quite rare and should be examined very carefully with expert help. Beyond that, bide your time and study the pictures and diagrams on this page very carefully. I have seen absolute garbage going for $100 and some nicer models at over $300. The Toast-O-Lator is a hoot the first time you look at it, but the thrill wears off quickly. Make sure that you really want one of these things before you get more than $100 into it. If you have that much to spare, you might think of getting into Vintage Televisions -- that's a hobby where you can toss lots of money away!

toastolatorfacebook signup graphic
Join Us on Facebook
Talk Before You Spend a Lot of Money!!

I don't buy anything and I don't sell anything -- I just write about things that interest me. I DO NOT ENDORSE ANY COMMERCE IN TOAST-O-LATORS (or any other item, for that matter!) If you should see graphics or text that was taken from this page as part of an on-line auction, they were put there without my permission. Pause to reflect for a moment: do you really want to buy something over the internet from a plagiarizer?? The free market has its faults, but it is better than anything else -- and it works best when buyers are well-informed. If this site helps you make a better decision, that's what it's here for.

Here's an example. Often, the text of an ad says something like "original cord, plug." You might be tempted to think that this means "The cord is original AND "the plug is original". Here is an ad in which the cord was probably original, but the plug was definitely NOT original. In a sense the ad was very literally true: you got an original cord and a plug -- but that's all. Antique dealers probably taught lawyers like Bill Clinton how to speculate on the meaning of "is"...

Ad with original cord, replacement plug    Ad with original cord, replacement plug

Watch Your Butt in Online Auctions

(left) Original cord, [replacement] plug
(right) Original Cord AND Original Plug

There is a bright side -- would-be speculators will keep many of these things from being junked! In fact, there have been whole lot of Toast-O-Lators offered for sale since the $5K story hit the internet. Speculators should note that these items were mass-produced and are quite durable and hence there are probably more Toast-O-Lators still out there than willing buyers. These are great historical mementos, but they are not items of "fast-buck" commerce. .

I am NOT an "expert" -- all I do is take the things apart and get them running. When information is available, I try to collect it and present it for the public to view, without charge. You may feel quite free to take any of the text and graphics and use them for any purpose other than to sell Toast-O-Lators.

Sometimes, I draw conclusions that readers disagree with. Anyone who writes me about this topic will get a fair hearing and if they make their point, I'll change the page and give them credit. Most of these appliances were made by companies that have disappeared long ago (along with their records). In one sense, there is no authoritative history of the Toast-O-Lator because all of the principals have passed away long ago. The only thing left is little tantalizing bits of information that I have tried to string together to make an entertaining story. As far as I know, there are no other Toast-O-Lator experts, either -- only more little bits of information that need to be collected and recorded. You might want to check out the Cavalier Chest page where, over the past five years, my readers and I have managed to reconstruct the history of the Tennessee Furniture Corporation.

I urge you to please pay attention to the valuable historical lessons contained on this page. There is much similarity between the "Electrical Revolution" of the 1920s and the "Digital Revolution" of the 1990s -- both were characterized by mercantile excess, corporate shenannigans, and cultural foolishness. Both led to much pain and suffering among those who were deluded by the speculative bubble. Perhaps you should read about Samuel Insull, the Kenneth Lay of the 1920s, before you speculate in Toast-O-Lators.

It is my fond hope that you will personally profit by the information contained on this page. If you find a poor, broken down Toast-O-Lator, I hope that you will strive to bring it back to useful life -- and that your task will be somewhat easier based on the lessons that I learned. Perhaps you will gain some understanding of manufacturing in the 1930s and 1940s and maybe a little bit more affinity for that period in time.




How does it work?


Toast-O-Lator
The Basic Principle

There are two basic components in the Toast-O-Lator: (1) The Toasting Subsystem and (2) The Toast Transport Subsystem.

  1. Toasting Subsystem: 110 volt AC current is passed through high resistance nichrome wire, attaining temperatures of almost 300 degrees within seconds. This generates enough radiant energy to slightly scorch the exterior of bread. (Some complex chemistry, discussed below, is involved)
  2. Toast Transport Subsystem: The toast is transported along two fixed aluminum rails that are 1 cm apart. Between the rails, a serrated bar moves in an "elliptical" fashion, picking up, moving the toast about 1/2" and then setting it down (The precise mathematical form is shown below, but "elliptical" is a good first approximation...)
Toast-O-Lator Instructions-2
Toast-O-Lator Instructions-1

The Manufacturer's Instructions

Here is a video of a Toast-O-Lator in action.

From a dramatic point of view, the four-and-a-half minute presentation shares a dynamic with "Waiting for Godot" or Andy Warhol's "Empire". However, the only character that is fuly developed is the bread as it moves along its arc to become toast. The Toast-O-Lator is merely used as a device to advance this plot. The cinema verite technique is used very convincingly to evoke the presence of a cheerful local restaurant, rather than an elaborate film studio. You can almost taste the crispy wholesomeness of the toast.

Of course, the video leaves us with quite a few unanswered questions. Is this an allegory of Birth and Death? Who is the mysterious Man in Plaid? Does his initial confusion with the orientation of the bread have socio-sexual implications? Who are the two (uncredited) characters in the far background? Are they symbols of the Past as the toast moves away from them to a glorious Future, possibly to the Demise of History or some other eschaton? Are they included to remind us that "man does not live by Toast alone"? Does the fact that rye bread was used imply that this is a statement on ethnic persecution, possibly even an allegory of the Holocaust? Is the subtle rhythm of the toast a hymn to progress or a reflection on the fundamental absurdity of Existence? Is this the forerunner of a slew of "Toast Proceedural" Reality Shows?

One of my readers actually complained about this video, claming that he had found Erotic meaning in the Toast View-Port:

"... you and your website are going to burn in hell just as surely as that slice of bread. Obscene trash like this has been cropping up on the Internet since the Commie Democrats took over.."

Another reader saw the Dark Side:

"... I can't believe that you put this trash in a place where Children can view it. My little Geoffrey saw it and could not sleep for a month afterward because of the way that the bread was slowly and deliberately tortured. Does Dick Cheney write your content? ..."

Another reader is from Planet Xylon:

"... You showed bread with caraway seeds being toasted. I did the same thing and one of the seeds got stuck in my dentures. I am suing you for 18 zillion dollars ..."

After reviewing the first video, we were treated to a second that has a dramatic opening, a bit of comic relief, a synchronized sound track and end credits that include patent diagrams from this site, an indicator of supremely good taste. This is a very entertaining production, suitable for the entire family. We are told that no English muffins were harmed (or wasted) during its filming.

Love it or hate it, the Toast-O-Lator is certainly anything but mundane. Look at the video and perhaps you'll have a life-changing experience.




Why is it called a "Toast-O-Lator?"

The name is a combination of the words "toast" and "undulate", the latter used in the sense of " move in a wavy pattern, as of curtains or the ocean". In turn, the word "toast" is derived from the Latin, torrere, tostum - meaning to scorch or burn. The word "undulate" also comes from the Latin, undulatus, meaning wavy (unda is an Ocean wave). The device makes toast through undulation; ellipsis reduces this to "toastlation" and by nominizing, the device becomes a "toastlator". An ad man probably transformed into the euphonious "Toast-O-Lator". [In mathematics, "translation" refers to change of position on the Absicssa with no change of position on the Ordinate. In a sense, the effect of the rails is to restrict movement of the toast to the horizontal (i.e. no net change in the vertical), so the device could also be thought of as a "toast translator".]




Did the Romans Have Toast?

The Romans did not have Toast.

This is made quite clear in the controversy that ensued after the publication of A.A. Milne's Winnie Ille Pu, a translation of his more familiar "Winnie the Pooh" into Latin. Milne, an ardent classicist, did his best to adapt Latin to the needs of telling a modern children's story. In general, he does a very good job, witness:

... Ecce Eduardus Ursus scalis nunc tump-tump-tump occipite gradus pulsante post Christophorum Robinum descendens. Est quod sciat unus et solus modus gradibus descendendi, nonnunquam autem sentit, etiam alterum modum exstare, dummodo pulsationibus desinere et de eo modo meditari possit. Deinde censet alios modos non esse. En, nunc ipse in imo est, vobis ostentari paratus. Winnie ille Pu. ...

However, there is one lapse. When it is time to eat Toast and Butter, Milne offers panistostne cum butyros. This is literally "toasted bread with butter", but it misses several points. First of all, the Romans did not toast bread. Second, butyros is a Greek word. Third, neither the Romans nor the Greeks ate butter -- rather, it was used as a salve for dressing burns and abrasions. So, to a Roman, the phrase panistostne cum butyros would convey something that would be akin to your feelings about "burnt bread slathered with Vaseline". Children and their stuffed toys in Rome would have delighted in panis cum olio, or bread with olive oil.

Controversy? Believe it or not, there were letters dealing with this topic in the Times of London for nearly six weeks. When the book was released in America, the topic was discussed in Time Magazine in detail. The consensus is that the Romans did not have toast.




Rationale for the Toast-O-Lator

The Toast-O-Lator represents the combined genius of William A. Pentecost, Alfredo de Matteis, and Alvin C. Goddard. In 1935, they set forth their rationale for this ingenious device in the "Toast-O-Lator Manifesto":

... Heretofore, in household toasters, the slice of bread has been held stationary between a pair of fixed heating elements. In some cases, the bread is automatically ejected after a predetermined time, which may be adjusted to obtain various degrees of toasting. Apparatus of this type has the disadvantages that parts of the bread may be subjected to a more intense heating than others and also that parts shielded by holding members may not be toasted or browned at all. Moreover, in case the automatic ejecting device may fail to work properly, the bread will be toasted too much or not enough, as the case may be

These various disadvantages are avoided in our invention in which the bread to be toasted is conveyed by a simple and compact mechanism through a toasting zone in which each succeeding area of the bread is given a uniform heat treatment, and in which the degree of toasting may be easily controlled or regulated as the case may be....

As far as we know, this eloquent statement did not rouse the population to arms, but it was sufficient to gather the four patents that form the nucleus of the Toast-O-Lator engineering design. The Toastolator Company of Long Island ( a NY Corporation) began producing these things in 1938.

The inventors themselves are shouded in history. Alfredo de Matteis resided in Valley Stream, NY and Alvin Goddard lived in Forest Hills. We assume that these two were prime movers in the Toastolator Company, because they both lived on Long Island and assigned their patents directly to the company. William Pentecost resided in Oakland, California and his patents were purchased by the Toastolator Company, probably from a third party.

We would certainly like to know more about these individuals.




Chemistry of the Toast-O-Lator

The brown colour of toast is caused by some interesting and fairly complicated chemistry. Three processes are involved. First, when yeast acts on bread dough, it releases sugars. Sugars when heated, undergo a change we call caramelization. This process slightly changes their structure, causing them to go brown. Secondly, starches on the outside of the bread break into brown coloured substances called pyrodextrins. These have a distinct and rather appealing taste and smell. Finally, while the bread remains hot in the toaster a chemical reaction called the Maillard Reaction occurs when sugars and starches react with proteins, giving large polymer molecules called melanoidins, which add additional colour and flavour to the toast. [This same Maillard reaction is used in self tanning creams which give the skin a brown tan prior to a winter trip to sunny climes.] All three processes create the unique texture and gustatory sensation that we have come to know and love as "Toast".

Toast-O-Lator
Louis Camille Maillard, Chemist of Toast


Although space does not permit a complete discussion of the organic reactions involved in "toasting", it is important to note that the process creates certain byproducts that have implications for the device. Specifically, crumbs are produced and oils are vaporized. Under intense heat, the crumbs turn to a char that impedes operation of the machinery. Vaporized oil is deposited on the inner surfaces of the Housing and in the complex gearing mechanism. Over time, these oils are converted to very long chain molecules, becoming a heavy, tar-like substance that also interferes with moving parts. The heat is high enough to embed tars within the pores of aluminum parts making them very difficult to clean. The toasting subsystem therefore produces byproducts that are direct threats to the Transport Mechanism. Hence, constant vigilance and cleaning is necessary. [Please write us if you want a more detailed description of the chemical reactions involved in the "toasting" process, or the specifics of the gearing ratios or other engineering facets of the toast transport mechanism.]




Engineering Design of the Toast-O-Lator

The "teeth" of the serrated bar are called the Toast Dogs, named after similar devices used in sawmills and sewing machines to grip and move objects.

Toast-O-Lator
The Toast-O-Lator Dogs and Rails
Click here if you want to learn how to get Patent Drawings

The Dogs are attached to a brass plate (the Dog Shaft) that is moved by a cam driven by an electric motor. Helical gears are used to transfer rotary motion to the cams which in turn create the elliptical motion.

Toast-O-Lator
The Toast-O-Lator Basic Motion Transfer

Note: the illustration is approximately correct, but variations were made on production models

A "damper" known as the Doneness Lever is used to damp the position of the dog shaft and to change the length of the principal (X) axis of the elipse. The cycle time to complete one eliptical revolution remains constant at about two seconds per cycle. The length that the toast is shifted to the right during each cycle is directly related to the ratio of the X and Y axes of the elipse. Hence, a prolate elipse of rotation moves the bread past the heating elements quickly and results in "light" toast and a nearly round elipse produces "dark" toast. The Dogs are positioned in such a way as to grip the toast for about 90 degrees of angular rotation. In the "medium" toast setting, the dogs lift the bread, move it about a centimeter, and deposit it back on the rail during each cycle. A wire "fence" holds the toast upright during the process, restricting motion to the plane of the elipse. [Candidly, we think that the thing is over-engineered, a form of "mechanismo".]




Mathematics of the Toast-O-Lator

In case you were curious, here are the equations that govern performance of the mechanism. Everything else is just plug and chug.

Notation

  • [phi]: The rotary angle of the cam, measured from the beginning of the motion event;
  • [beta]: The range of the rotary angle corresponding to the motion event;
  • h : The stoke of the motion event of the follower;
  • S : Displacement of the follower;
  • V : Velocity of the follower;
  • A : Acceleration of the follower

A cam mechanism with the basic curve as used in the Toast-O-Lator will impart simple harmonic motion to the follower. The velocity diagram at h indicates smooth action. The acceleration, as shown at i, is maximum at the initial position, zero at the mid-position, and negative maximum at the final position.

Toast-O-Lator
Harmonic Motion Imparted to the Follower as a function of Cam Position




Sociology of the Toast-O-Lator

To get an idea of the sociological trends that were shaping toasters, please consider this advertisement for the Competition -- the 1938 Sunbeam T-7.

Toast-O-Lator
Ad From the Competition

Observe closely and you will see the famous "Worlds Fair" design etched on the side of the toaster in the picture. Please refer to our main Toaster Page for a discussion of this particular logo and its relationship to the famous Sunbeam T-9 toaster. Also note in the ad that all the other Sunbeam products had the word "master" in their name: Mixmaster, Shavemaster, Ironmaster,Coffemaster. This could not be named the "toastmaster" because that was the registered trademark of the Walters-Genter corporation.

Here is an ad for a Toaster created by none other than Thomas Edison, "America's Genius." The man who "lit the night" apparently felt it worthwhile to dabble in Toast. (This is not mentioned in the Spencer Tracy biopic, "Edison the Man.")

Toast-O-Lator
Not only New but "Startling"

Please note that these ads stress the Quality of Toast, Automatic Efficiency, and Greater Value. Each of these refects an underlying social trend:

  • Toast Quality: in the old days, toast was made by sticking bread on a fork and holding it in the fire. The first generation of electric toasters simply substituted heating coils for the fire. The net result was uneven and unattractive toast. This ran in the face of new "smart" recipes that called for attractive, evenly browned bread. (The club sandwich is an example) Hence, the people with money to afford electricity and a toaster were also interested in "Toast Fashion"
  • Automatic Efficiency: the best that older toasters could do was two slices at a time -- but they had to be watched like a hawk because there were no sensors to tell when the toast was done. Thus, if you were making toast for a party, you had to spend a lot of time watching the Toaster. Similarly, a Club Sandwich takes three pieces of bread. Even the "two slot" popup toasters created problems. Note that the Toast-O-Lator offers the promise of assembly-line toast production, just the thing for the society matron planning for lots of finger sandwiches.
  • Greater Value:This was the Great Depression when you had to have one heck of a good idea to get people to spend their money.

In addition to this, the Toast-O-Lator was born in a period marked by the romance of Technology. This was the height of the period of luxury streamlined trains. The romance of technology is very much evident in the Toast-O-Lator -- it's a little factory on the kitchen table! Here is another ad that shows the use of train images and streamlining in selling stationary products (in this case, the 1939 Moffatt range.) This is a Canadian product, so the Dependable Mounties are also included in the ad.

Toast-O-Lator
Streamlining Sells

Sometime between 1939 and 1940, the Toast-O-Lator Company became a subsidiary of the Crocker-Wheeler Corporation, a major manufacture of all kinds of electrical devices, both commercial and domestic. The firm still exists and is located in Ampere, New Jersey. ("Ampere" is a planned industrial development that lured Crocker-Wheeler out of East Orange). Thus, the brainchild of De Mattheis, et. al. became just another item in inventory along with sundry other motors, servos, armatures, and the like. During the Crocker-Wheeler period, mass media advertising and "smart" graphics come to the fore.

Indeed, the Toast-O-Lator is an emblem of its period. Check out this ad for the Toast-O-Lator claiming that it is "New as Tomorrow" -- completely automatic toasting!

Toast-O-Lator
The Future is Here!

This is a photo of the original tag that was tied to the cord of the Toast-O-Lator when it was new. It warns you to only use the product on Alternating Current. The reason that AC current is required is that the electric motor will not turn unless the polarity of the current changes (or alternates). In turn, this was necessary because into the 1960s, some areas were served by Direct Current.

My reader Eric elaborates on this:

... If you lived in a rural area, you only had DC if the grid had not yet reached you (this described most farmers through much of the 30s, and even into the 50s in some places. You either had a wind-powered system, such as a Jacobs or a Wincharger, or you had a gasoline-powered Delcolite or similar. These DC generators charged batteries, and only the most prosperous could afford a 110VDC system. Most farmers (if they could afford electric generation at all) used the more common and affordable 32VDC systems. Nearly every appliance of the time was available in a 32VDC version (though a Servel propane fridge reduced the system cost), and any farmer with such a system knew better than to buy a 120VAC appliance, since owning your own power system forced a certain amount of electrical education. Those of you who are advocates of home-based wind power, ought to check out the Wincharger website.

There were no doubt some exceptions. Harrison Scott, in his book Ridge Route, describes the Hotel Lebec, a luxurious establishment along what is now I-5 in California. It had a steam laundry which generated DC electricity as a byproduct, and thus was electrified from its opening in 1921. The voltage is not specified in the book, but judging from the size of the hotel and the fact that they ran a line to a nearby school, I think it had to be a 120V system. The Hotel Lebec never did all that well, since cars were improving so rapidly there was soon no need for the well-to-do to stop at a hotel in the middle of nowhere.

The majority of 120VDC customers lived in major urban centers, and were connected to legacy Edison DC systems. These systems were built before Tesla's decisive 1893 victory in the "Current Wars", and were too large of an investment to be written off early. Thus, they operated even into the 50s in some cities. Only the central area of a major city such as New York or Chicago would have had DC, since these were the only areas that were electrified that early. Streetcar suburbs probably never had DC (except to run the streetcars, of course). There is a thread about DC grid power on the Electrical Contractor Network where one poster claimed to have lived in a DC apartment in New York in the early 50s. He had to buy an expensive and noisy (rotary) inverter to power his AC record player. Amazingly, ConEdison waited until late 2007 to cut off its last few DC customers (separate meters for old elevators).

Toast-O-Lator Tag
AC Current Only!

This is the original box for the Toast-O-Lator. Since I have never had the urge to throw any kind of toaster, I am somewhat mystified by the instructions "Do Not Drop or Throw" However, now you are warned -- do not try to throw your Toast-O-Lator! (This is a heavy item - it weighs about 10 pounds - so be especially careful not to throw it at your spouse or children...)

Toast-O-Lator Original Box
The Original Toast-O-Lator Box
There Was NOT a "Toast-O-Lator Toss" in the 1947 Appliance Olympics

The Crocker-Wheeler folks manufactured the Toast-O-Lator until 1952. However, there is one interesting interlude in Toast-O-Lator production:




The Toast-O-Lator Goes to War!

During World War II, the Toast-O-Lator went to war. Of course, this was only in the figurative sense -- there is no "toaster, combat MkI". The Crocker-Wheeler company shut down its production lines for domestic appliances. The Toast-O-Lator assembly line was converted to make the "Crocker-Wheeler Turret" that was used in the Beechcraft AT-11 and SNB aircraft. These aircraft, which were a modification of the Beechcraft C-45, were used to train future bomber crews in flight, bombing, and aerial gunnery.

Crocker-Wheeler Turret
The Crocker-Wheeler Turret

Beechcraft A-11
The Beechcraft A-11




Industrial Design Aspects of the Toast-O-Lator

The distance between a great idea and a real consumer product is vast. This is the domain of Industrial design that must take into account not only aesthetics, but also the economics, efficiency, and reliability. The goal is to produce an attractive appliance that can be manufactured at the lowest possible cost. In essence, an appliance is not a piece of sculpture. The Toast-O-Lator provides some interesting insights into the role of industrial design as we explore its evolution from concept to finished product.

toastolatorfacebook signup graphic
Join Us on Facebook

After a close examination of the patents, we have come to believe that the three creators (DeMatteis, Goddard and Pentecost) derived the basic concept of the Toast-O-Lator, but the final product reflects the application of sound Industrial design principles.

In our assessment of the design history of the Toast-O-Lator, we will have frequent occasion to refer to the inventors, so the following abbreviations will be used:

  • ADM: Alfredo de Matteis
  • ACG: Alvin C. Goddard
  • WAP: William A. Pentecost

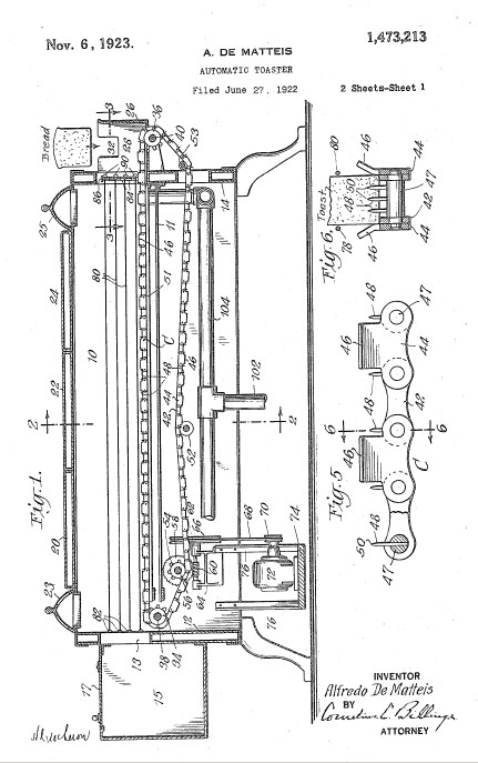
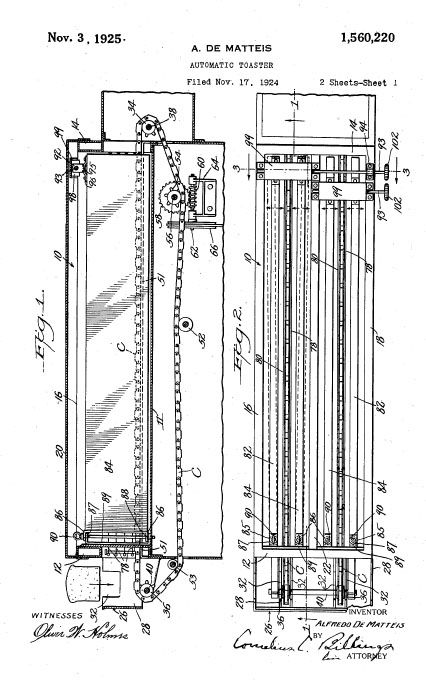
De Matteis was the first to conceiev of a "transport toaster" although his patents in the 1920s were for a commercial device. Gas provided the heat and the toast was moved by a chain drive:

Toast-O-Lator Patent 1,473,213 Chaindrive Commercial Model    Toast-O-Lator Patent 1,560,220 Two-Track Commercial Model

Commercial Transport Toasters From the 1920s
Patent 1,473,213 Chaindrive Commercial Model
Patent 1,560,220 Two-Track Commercial Model
Click to Enlarge


Pentecost (WAP) seems to have had the first idea for a home based (domestic) model -- he filed his patent application on March 8, 1934. However, a careful review of his application reveals that he did not have a workable mechanism for transporting the Toast. On the other hand, WAP provided for a control that would enable the user to select "light" or "dark" toast; he also anticipated the mechanism for regulating heat flow in the exterior container.

De Matteis (ADM) and Goddard (ACG) made their first application for a domestic model on November 14, 1935 almost 20 months after WAP. However, they devised a number of viable toast transport mechanisms that could actually be manufactured. In general, ADM and ACG seem to have done a much more thorough job than WAP. Indeed, their patents (Mo. 2,112,075 and 2,112,076) were granted in 1938 while WAP's patent was approved in 1940. [ADM and ACG may have had a parting of the ways, because in 1939 their joint patent was split into two parts, detailing the specific contribution of each individual.]

Although WAP filed first, we believe that the first workable concept of the Toast-O-Lator (TOL-I)was put forth by ADM, as his "preferred configuration." This is shown below in reproductions from the 1938 Patent.

Toast-O-Lator Patent 2,112,075
Patent No. 2112,075: Longitudinal View of TOL-I

Toast-O-Lator
Top and End View of TOL-I

1938 Patents 2,112,075 and No. 2,112,076 Attribute This Design to ADM
Click here if you want to learn how to get Patent Drawings

Toast-O-Lator  Model A
TOL-I, aka as "Model A" - note the "fat" base

Toast-O-Lator Model A Plate   Toast-O-Lator Model A side

Toast-O-Lator Model A side   Toast-O-Lator Model A end

More Views of the Elusive Toast-o-Lator Model A

Toast-O-Lator Model A mechanism

The Model A Mechanism

TOL-I has some interesting concepts, particularly the sloping bars on the "toast fence" -- as the bread is advanced, the bars do not create a "shadow" that would result in visible lines on the toast. It also for different shaped platforms at the "entrance" and "exits" of the toasting chamber; the input side supports the bread and the exit side dumps it onto a plate. However, TOL-I contains several design features that would raise the cost of the product and lower the rate of production:

  • The drive mechanism requires that the motor be located on one side of the centerline. This will require the appliance to have a large "footprint", reducing its desirability and will require a larger housing and consequently more materials
  • The drive mechanism requires a geared shaft for the motor and five reduction gears; these are expensive, delicate and hard to assemble. In addition, the gearing that is specified would require metal parts that would be subjected to considerable expansion in the thermal environment of the toaster. Metals more expensive than brass would have to be used. This would increase the cost of the materials and the amount of labor required to assemble and test the gearing. Expansion problems could affect reliability of the mechanism.
  • The Dog Shaft is located inside the reduction gearing complex. This would pose additional problems for assembly, testing and maintenance.
  • The system for supporting the heating wires is complex and probably hard to assemble
  • There is no mechanism for regulating the "done-ness" of the toast

Here are some photos of another Model A Toast-O-Lator that were sent in by our readers Deb and Ron: They write:

"...Fascinating machine although it seems a bit on the dangerous side. The toaster heated but never moved the toast along the "sharks jaw" tracks. I took it apart up to the point of disassembling the drive mechanism and then got cold feet... I'll drag it out for the grandkids on their next visit. Debbie remembers it from her childhood. It had been working until a few years ago. Debbie says she remembers how hot it got on the outside. Her dad "ran" it and the kids were told NOT to touch!...",

Toastolator Model A    Toastolator Model A Manufacturers Plate

The Toast-O-Lator Model A
Click to Enlarge

The next evolution of the Toast-O-Lator sought to eliminate the costly reduction gearing. In "TOL-II", the number of gears was reduced from five to two. A helical gear on the motor transferred motion at a right angle to a gear on a cam shaft. Simple piston cams created the vertical (up and down) motion while an ingenious angled cam (the "Lateral Translator") provided horizontal motion. The Dog Shaft was mounted on a frame with washers to allow vertical and lateral movement; an elliptical cutout on the dog shaft mounting described the allowable movement.

Toast-O-Lator patent 2,112,076
Patent 2,112,076
Longitudinal View of TOL-II
Click here if you want to learn how to get Patent Drawings
Toast-O-Lator
Patent No. 2,112,076 Attributes This Design to ADM alone
TOL-II, aka "Model B" - the base is still "fat"

The 193 Patent Attributes This Design to ADM

TOL-II reduced the number of gears and would probably have had lower manufacturing costs than TOL-I. However, the camshaft and its bearings would have added to the cost and the two might just balance out. The "Lateral Translator", while ingenious, would likely have been a problem in both alignment and eventual wear through friction. The separation of motion into vertical and lateral components in TOL-II requires that the motor drive two cams, approximately doubling the power requirement. Thus, the motor would have to be larger or it would wear out faster. In addition, TOL-II has the asymmetric motor placement resulting in a large footprint and there is still no mechanism for regulating the degree of toasting.

The next evolution (Model C) sought to simplify things even more. A motor with a central shaft was used to reduce the footprint of the toaster. Helical gears were used to drive eccentrically mounted followers that would produce both vertical and lateral movement. The mounting of the Dog Shaft was greatly simplified

Toast-O-Lator patent 2,112,075, sheet 4

The 1938 Patent No. 2,112,075 Attributes This Design to ADM and ACG
Longitudinal View of Model C

Model C is very close to the final design. The use of eccentrics means that the dog shaft would have to be very carefully machined to ensure that the followers would be carefully matched. We note also that there is still no mechanism to regulate the degree of toasting. Here are some photos of the very elusive Model A Toast-o-lator:

Toast-O-Lator Model C Bread Entry End    Toast-O-Lator Model C Bread Exit End    Toast-O-Lator Model C Crocker-Wheeler Nameplate

Toast-O-Lator Model C  Maker's Plate

Exterior of the Toast-O-Lator Model C
(left)Bread Input (Middle) Bread Exit (Right) Crocker-Wheeler Name Badge
The Badge pops off for manual setting of "doneness"
Click to Enlarge


Toast-O-Lator Model C Bottom showing thinner footprint    Toast-O-Lator Model C Track Movement Adjustment Screw

Toast-O-Lator Model C  Track Movement Adjustment Screw (enlarged)

Intereior the Toast-O-Lator Model C
(left) Thinner Footprint (right) Done-ness Adjustment Screw
The Badge pops off for manual setting of "doneness"
You Need a Fine Screwdriver and a Lot of Finesse
Click to Enlarge


It is very likely that at this point, the Toast-O-Lator Company noticed the work of WAP

Toast-O-Lator
Exterior Cover Concept of WAP

Toast-O-Lator
Mechanical Concept of WAP

From the 1934 Patent Application of WAP
Click here if you want to learn how to get Patent Drawings

TOL-IV incorporated WAP's concept of allowing the Dog Shaft considerable "play" as it was moved. A spring was used to provide a force to keep the cam on the follower. This spring was adjusted by a screw fitting as shown below:

Toast-O-Lator Model D control knob
"Doneness" Control for the Model D
This is the critical distinction between the Model D and the Model J

Below is the maker's plate for the "Model D" -- note that it does NOT have the Pentecost patent on it, and is restricted to the four ADM patents.

Toast-O-Lator Model D Maker's Plate
Maker's Plate for the Model D

I am greatly indebted to my reader, John, for yet another piece in the Toast-O-Lator puzzle: the elusive "Model G". John writes:

"... Attached are three pics of the toast-0-lator. According to the info stamped into the metal base it is a Model G. There are only four patent numbers. It is also stamped 8-39, and it was made by the Crocker Wheeler Mfg. C0. Ampere New Jersey. It also has the Good Housekeeping stamp of approval stamped into the base. The "tested and approved" seal was not allowed to be put on their product after 1941. The FTC filed and aciton in 1939 against Good houskeeping for using this label. FTC proclaimed that this seal constituted misleading advertising. In 1941 a cease and disist order was issued..."

John's astute observations indicate the the "Model G" was produced in 1939, and probably constitutes the "look" of the Toast-O-Lator prior to World War II when Crocker-Wheeler retooled for defense work. The Model G does not have the "Doneness" control.

 Toast-O-Lator Model G     Toast-O-Lator Model G

The Toast-O-Lator Model G

Click to Enlarge


In the Model J, the final and most common version seen, a lever was used as a stop on the motion of the Dog Shaft, allowing the user to vary the degree of horizontal movement. From the patents, we learn that WAP's 1940 patent was assigned in mesne to the Toast-O-Lator corporation, implying that it had been purchased from a third party. In addition, the final design also incorporated WAP's concept for the exterior, including air vents. A glass viewing port was substituted for WAP's system of gradiated slots.

Toast-O-Lator
Final Design of the Toast-O-Lator
Click here if you want to learn how to get Patent Drawings

The final design for the Toast-O-Lator incorporates all the features of ADM,ACG and WAP.

Here are some photographs of the Model J that were sent in by Phil, one of our readers. He writes:

"... Toast-O-Lator Model J, Serial No. 9 47 (which I am guessing means September of 1947)...

"... Without your site I would not have known that the sides and top come off together when you unscrew the little knurled knob; fortunately I didn't try to force the top off by itself which is what I first thought was the way to clean it....

"... I bought this Toast-O-Lator this last Monday at a flea market in Wagner, Oklahoma. We have a collection of Sunbeam MixMasters (Model 12 mixers, one in each color, and two wartime 7B-1 mixers), several C30 CoffeeMasters, and a couple of T9 toasters, but I'd never seen a Toast-O-Lator. When I picked it up it rattled and the tag said "for Display" so it probably didn't work, but I recognized a little walking beam with teeth inside and thought "how hard could it be for a retired mechanical engineer to fix a miniature transfer mechanism?". Well, folks, when I got it home it worked, although the rattle was still there and the toast was too light even on the dark setting, and I took the bottom plate off to check it out. I saw that the transfer mechanism only contacted the light-dark lever at the darkest setting and I first tried to shift the motor mechanism toward the lever without much change, so I slit a small rubber hose and super glued it over the lever arm edge and then slipped a slit plastic tube on the end of the transfer mechanism blade. That took up most of the space between them and the transfer started to have its stroke limited in the first 1/8 of lever movement and at the darkest setting wheat bread was toasted nice and brown the way momma likes it....

"...Only then did I fire up the computer to look for Toast-O-Lator info and your excellent site popped up again. I read the narrative on Toast-O-Lator restoration and then was able to pop the cover off and re-adjust the motor position so the transfer beams were centered about the fixed beams; I didn't disassemble the mechanism, but a combination of a little 3-in-1 oil dripped on the mechanism followed by a few shots of 3-in-1 white lithium grease seemed to free it up and quiet it down nicely....

"...What a cool concept the Toast-O-Lator is! It takes longer than the T-9, but it sure is entertaining and as I am also a fan of iced raisin bread as mentioned in the discussion, perhaps I can find some around here and have the iced raisin bread toast of my childhood and do it safely....

"...The cloth wrapped cord on this T-O-L looks almost new and could have been replaced (no T-O-L name on the plug) but everything looks pretty original inside. I noticed that the heating elements are hotter on the first and last strands than on the two center strands; is this common or is it something that can be fixed? Perhaps that is why the toast was so light at first, although adjusting the control as it was made hardly any difference in the walking beam stroke. I am attaching a picture of my little fix for the light-dark adjustment and I have a video of the difference this has made in the stroke if you are interested....

"... Hard to believe a grown man can get excited over kitchen appliances, but these cool "machines" of the 40s and 50s are better engineered and of considerably higher quality than most of the electronic crap you find new today....

"...Oh Yes, that rattle I first heard? Turned out to be a loose piece of hard plastic or phenolic tube about 1/4 inch in diameter and 3/4 inches long. I could find no place inside that it might have come from and the yellowed color looks pretty old, so I can only guess that it could have been rattling around inside from the day the T-O-L left the factory. ..."

Toastolator Model J - cover off    Toastolator Model J  Timing Regularor    Toastolator Model J Cover Off, Showing Cord    Toastolator Model J Leftover Piece

The Toast-O-Lator Model J
(l.to r.) Heating Mechanism, Done-ness Mechanism, Cord, the "Leftover" Piece
Click to Enlarge


The Toast-O-Lator was manufactured from 1939-1952 when it finally succumbed to cost pressure from cheaper toasters that were produced largely through automated manufacturing or with cheap foreign labor. The alignment problems associated with cams and gears made it very difficult to automate the manufacture of this product.




Do People REALLY want these things?

This is sort of the Holy Grail for toaster collectors. Here is a photograph of a tee shirt that was offered for sale to "Toaster Buffs". The same website offers a "Toast-O-Lator Thong", but good taste prevents us from displaying an image of this particular object. Regardless, ladies (please no gentlemen...) who are actually wearing a Toast-O-Lator Thong are encouraged to write us.
Toast-O-Lator
The Toast-O-Lator Tee Shirt

Greg's Temple of Toast in Charlottesville, Virginia is also the home of The World Wide Cyber Toaster Museum Greg’s personal favorite - and the toaster he still uses - is a Toast-O-Lator from the 1940s. In an interview with the Australian Broadcasting Company, Greg had this to say:

"In 1988 I was running an art space that supported itself with a small cafe and espresso bar. The kitchen was very tiny and one day, in trying to figure out how to expand the menu, the idea struck me to put functioning toasters on the tables, sell bread and toppings, and let customers make their own toast. This worked well for a couple of reasons: it required no additional kitchen space, and the customer got his toast exactly as he wanted it. After gathering up several 1950s-era chrome pop-ups and developing a menu that included more than 25 different toppings, the toast cafe was operating and became a hit. I kept hunting for back-up toasters and one day came across a Toast-O-Lator. This hooked me as a collector and had patrons bringing their friends back to the cafe to use it. Good coffee and good toast brought in many regular customers, but the best was a young woman named Kelly who, even though she burned her finger on the Toast-O-Lator, married me and became my partner in love, business and toaster-hunting."

Later on, we shall discuss the safety aspects of the Toast-O-Lator, sufficing to say that Kelly is not the only victim of this device...

Make Toast in 8113 AD

If you happen to be reading this in the 82nd Century, you'll probably find it useful in restoring the Toast-o-Lator that you just removed from the Crypt of Civilization in what used to be Ogelthorpe College in Atlanta, Georgia. This was (is) one of the best examples of a Time Capsule that has ever been constructed. Of all things, it contains a Toast-o-Lator, as well as more than 600,000 pages of microfilmed material, Artie Shaw records, a vast sampling of items from popular culture, and a gadget to teach future generations how to read English. Here's an article from the December, 1938 issue of Popular Science that gives the details.


Popular Science December 1938 cover   Popular Science Article on The Crypt of Civilization
The Crypt of Civilization
From the December 1938 Issue of Popular Science
Click here to read the Whole Article

Officially sealed in 1940, the Crypt faded into obscurity until the dawning of the 21st Century. The repository is in the basement of Phoebe Hearst Hall, resting on solid appalachian granite with a seven foot slab on its top. In the 70s, the basement was dark and unlit; the Crypt now stands next to its new neighbor, the Campus Bookstore for all to see. There is a Toast-o-lator in there!




Accessorize your Toast-O-Lator!

Not only did the Toast-O-Lator company bring you high quality toast, they also got into fashionable accessories -- note that the company sold the Toast-O-Lator for $19.95 (about $250 today...) but for an additional $5 you could get a nice table to hold the thing as well as aluminum dishes for bread and toast.

Toast-O-Lator
The Future is Here!


Thanks to our friend Jennifer Bornes, we have photos of two books that were sent to people in the mail by Crocker Wheeler to entice people to buy the Toast-O-Lator. At the left is a fairly large compendium of toast recipes that was compiled by Bertha M. Becker, "Home Economist and Mother.." The pamphlet on the right is an advertising booklet that touted the virtues of the Toast-O-Lator.

Toast-O-Lator
Toast at its Very Best

In 1939, you could even get a "smart house" remote controller that would operate all your appliances -- including the Toast-O-Lator.

smart house radio control

1939 "Smart House" Radio Control
This technology was also used as the Philco Mystery Radio Tuner
Click to Enlarge





Entertain Your Pets With Your Toast-O-Lator!

We recently got an interesting photo from our reader Jeff:, who says.

"... Thanks for all your writing about the Toast-O-Lator. Here, for your amusement is me amusing my cat (and failing to plan for where the toast would go when done). This is also a rare right-to-left version of the Model J. ..."

The Cat and the Toastolator

Feline Interest Aroused!
Who would have known that there are Left- and Right-hand Toast-O-Lators?
Click to enlarge





Restoring the Toast-O-Lator

We found this example in an antique mall in central Pennsylvania. It was totally non functional and was priced at $45. This was probably a good price because fully restored versions sell on e-bay from $200 to $400 depending on condition. Thus, it seemed reasonable to invest some time and energy in restoring it. Until it was dis-assembled, we had no idea of how bad things were. The toast combustion process had coated all moving parts with a heavy tar-like oils and charred bread was everywhere. For a while, I thought that the rails were supposed to be fused to the toast dogs because there was so much ash. There is no protection for the rather delicate internal workings of the device, and combustion products were everywhere. In addition, the high heat and oils had badly corroded many of the bolts and nuts that held the thing together.

Deterioration of the metal parts was the major problem that we found in the restoration. You need to have correctly sized wrenches, nut drivers and screwdrivers to attack this project. Use penetrating oil to loosen the fasteners, because they are most likely rusted shut. Be very careful about screw heads because they will strip very easily - even with the greatest of care, you should plan on using a screw extractor at least once. Take your time and use an ice-cube tray to hold the parts.

What do you need?

Here is a list of the tools that I had to use to complete the restoration:

  • Precision nut drivers (1/4" and 3/8" in particular)
  • Precision spanners (1/4" and 3/8" in particular)
  • Precision screwdrivers compatible with #6 and #10 slot head
  • Screw extractor compatible with #6 and #10
  • Tap and Die set (6-32 and 10-32 in particular)
  • Dental Picks and Scalers
  • Brass wire brush
  • Fine metal files
  • Ryobi detail sander (100, 150 grit sandpaper and #0 and #00 synthetic steel wool)
  • Dremel Rotary tool (sanding and cutting discs)
  • Burndy Tool (stripping wire)
  • Latex Gloves
  • Time Domain reflectometer (optional)
  • Multimeter and circuit testers
  • Outlet Polarity Tester
  • Respirator for working with asbestos cord and solvents
  • Safety Glasses
  • Ice Cube Tray

Here is a list of the products that I used

  • Simichrome (the world's best chrome polish!)
  • Simply Orange (citrus based cleaner)
  • Aluminum Jelly (cleans gunk off aluminum very quickly)
  • Naval Jelly (removes rust from steel)
  • Naphtha
  • Iron-Out (removes rust stains)
  • Liquid Wrench (loosens rusted bolts)

Observe all Safety Standards!

Even though this is a toaster, we suggest that you wear safety glasses, latex gloves, steel toed shoes, and a respirator. You are free to guffaw at us all you want. However, if you do something totally stupid, you won't be able to sue us because "We told you to watch out!" (Nyah, Nyah...) We do not, however, require that you get a note from your mommy...

Remove the Cover

The chrome outer cover is removed by unscrewing the knurled knob at the top. Push in on the ends and it will pop loose; it may be cemented in with combustion products, but DO NOT PRY it loose. Work slowly and patiently... NEVER FORCE ANYTHING on the Toast-O-Lator because you will damage the Bakelite base.

Here is the "Lay of the land" once you get the cover off:

Step One
Base, heating wires and the Fence

The first thing to do is to remove the Heating Wires - they are held on by four 1/4" brass nuts. Carefully remove the nuts and place them in an ice cube tray. The heating wires are supported on the top by ceramic plugs in the shape of the letter "J" -- these just drop in to the toast fence. Remove, clean, and store. The wire feeds through a ceramic plug in the base. Carefully remove each wire and store it. If the wire is broken, it is possible (with great difficulty) to replace it. You cannot solder or rejoin the wire if it breaks, so be VERY CAREFUL!

The corrosion process will leave rust and rust stains on the ceramic parts. This could conceivably act as a conductor negating the role of these components as insulators. I found that an overnight soak in a product called Iron-Out did wonders to clean up the ceramic parts.

Remove Heating Wires
Remove Heating Wires

The Toast Fence is held on by four bolts at each corner; these bolts thread into the bakelite base. It is very important that you remove these bolts very slowly so that you do not disturb the bakelite threads which can be delicate. The two bolts at the "toast exit" side are generally in the worst shape because they get the worst of the heat and tar. Again, be very very careful.

Toast Fence
Toast Fence and example of Oxidation

The next step is to remove the Base Plate. This is held in place by the Toast Fence bolts. However, you will also have to remove the dogs and rails. The rails come out first. They are held in place by brass escutcheons at each end. One screw supports them. The escutcheon has a top and face plate. Remove these and lift out the rails. Observe them carefully, because the rails have a correct "UP" and "DOWN" side. Make a note of this so you can put it back together correctly. The dogs are attached to their brass drive plate by a pressure fitting; gentle pulling will remove the dogs from the drive plate. You may now lift out the base plate. It is attached to the wiring by the FRONT ceramic connectors.

The photo shows the amount of oxidation that was found on both the Chrome Outer Cover and the base plate. This was a real MESS... I used a lot of Naval Jelly to get the rust out of the Outer Cover.

Toast Rails
Rails and Ceramic Connectors

The Front and Back ceramic connectors are quite delicate, so it is important to understand what they are before you start to disassemble them. Here are specific diagrams to help you:

Front Ceramic Connectors
Front Ceramic Connectors

Back Ceramic Connectors
Back Ceramic Connectors

Underside of Base Plate
Underside of Base Plate

The major problem is that the nuts and bolts may have corroded. You cannot apply any pressure at all to the ceramic connectors or they will break. The front ceramic connectors are held together with nuts on a threaded rod. Hence, you have to get a nut driver on one of the nuts and a spanner on the others. The rear ceramic connectors are held together by a bolt that will most likely be severly corroded. I used the Dremel cutting tool to clear out the slotted head of the bolt to get a screwdriver into it. Removing these bolts was occasion for much colorful language...

Once you have removed the ceramic connectors, the base plate is entirely free and may be cleaned. This will take a long time. I had to use my Ryobi detail sander with 100 grit emery paper to get the base plate clean.

Remove the Foot Plate

When the base plate is off, you can get to the wiring, motor and mechanicals. Turn the bakelite base over and remove the aluminum footplate -- it is held in by four small bolts. Make a note of the model and serial number and contact us so that we may enter it into our Toast-O-Lator database.

Bottom of the Toast-O-Lator
The "Foot Plate" of the Toast-O-Lator

The Wiring

Study the wiring connections carefully. Make notes so that you will be able to re-assemble the piece. Note that the positive (high) side is supposed to be wired to the switch. You will also note that the original plug is not polarized. This means that it is possible to plug this in to a socket with the high side connected to the load; if you accidentaly ground the thing (like touching it while standing in a puddle of water or spilled orange juice), you will get a really good jolt. In fact, this may have actually happened a couple of times, because when I dis-assembled the switch, I found evidence of electrical oxidation. This is a real design flaw in the Toast-O-Lator. Since the cord was shot, I just replaced the cord and plug, making sure that I used a polarized plug. (The Fat prong that is supposed to be plugged into the Neutral slot of the outlet. All outlets since sometime around the 1950s have been constructed to accept polarized plugs only one way; of course, the people who installed the outlet could have wired it wrong -- something that occurs in about 30% of suburban tract homes, especially in McMansions constructed largely by illegal aliens. It is safest to ALSO use a polarity tester to verify that your outlet is correctly wired.)

Wiring Diagram
Wiring Diagram

Examine your cord for wear and replace it if necessary. As you examine the cord, remember that the interior is insulated with asbestos. You probably should wear a respirator when you are doing this. (My weeny lawyer insisted that I emphasize that...)

Once you get the cord loose, you will need to verify that it is actually functional. Generally this isn't worth the time but the value of these things is in the degree to which the actual original parts are used. If the problem is near one end, a couple of inches can be cut off and the cord re-installed. If you find that the cord doesn't work, here's how to locate the break:

  • Use a Time Domain Reflectometer (TDR). (Oops, don't have one? Never heard of this?) The TDR sends a pulse down a wire and measures how long it takes for a reflected pulse to return from any discontinuities. The delay is a measure of distance. They only cost about $20,000. If you don't have a TDR, there are alternatives...
  • If there is no obvious damage the most likely location is at the end where the plug of socket strain relief joins the wire. Squeezing, squishing, pushing, etc., with the cord plugged into a live outlet and lamp hooked into the other end may reveal the location by a momentary flash.
  • Try a binary search with a probe attached to a straight pin. This works best with a cord where the wires are easily located. Attach one probe of your multimeter to the prong of the plug attached to the broken wire. Start at the middle with your pin probe. If there is continuity move half the distance to the far end. If it is open, move half the distance toward near end. Then 1/4, 1/8, and so forth. It won't take long to located the break this way.

If you decide that the entire cord is completely useless, you may order a fairly good reproduction from this source. Modern reproduction cords do not contain asbestos, and you can use a new (reproduction) polarized plug to make certain that the high side is actually wired to the switch! Again, this would be non-original, but a definite improvement on the Toast-O-Lator...

Here is more on that Time-domain Reflectometer:

time-domain reflectometer 4,538,103   time-domain reflectometer 4,538,103   time-domain reflectometer 4,538,103

Patent No 4,538,103 for the Time-Domain reflectometer
Click to enlarge any photo
Check our Patent Page to learn how to get free patent drawings


And now to the Mechanicals!

The motor is held on by four small brass screws. Before you touch these screws, make scribe marks to help you relocate the motor in exactly this position. Alignment of the motor is critical! Because everything is clogged with tar, you will have to disassemble everything (EXCEPT the motor itself). Here is a schematic that will help you.

The fan is threaded and screws on to the shaft. There is no retaining nut.

view of the motor
View of the Motor

another view of the motor
Another View of the Motor

Schematic of the Mechanism
Schematic of the Mechanism

Detail of the Drive Gearing
Detail of the Drive Gearing

I regret to say that my camera died at this point in the restoration. You must now proceed with only diagrams to help out.

The drive plate for the dogs is held in place by a spring. Remove it and store. Each of the two bakelite gears is held in place by a cruciform brass pressure plate and a brass nut. The pressure plate keeps the cam in the slot,but allows the gears to rotate. Observe and remember the amount of tension in the pressure plate so that you can get it right when you re-assemble the device. Both gears must have the identical pressure -- otherwise the dog shaft will move from side-to-side as well as up and down. The cam is fixed to the bakelite drive gear with a rivet and should not be removed. Make a note of the orientation of the brass drive plate so that you can re-assemble it correctly. It is also important that the helical gears mesh correctly with the drive gears. Everything must be thoroughly cleaned with Naphtha. Some of the accretions of tar were so thick that I had to scrape them off with dental tools.

Put it back together in the reverse order BUT: test it at each stage. I made a little test power source by soldering two alligator clips to a power cord. The first thing is to test the alignment of the motor so that the helical gears actually drive the cams at the same time. You will have to tinker repeatedly with pressure plates and the motor mounts. The next stage is to test whether the drive plate will clear the base plate. Beware of lateral motion caused by differences in the setting of the pressure plates. The final step is to adjust things so that the dogs clear the rails. This is a trial and error process. Be prepared to assemble, tear down and reassemble the thing several times. You really have to be patient. If you are frustrated, don't force anything. Walk away from it and come back when your head has cleared. Take your time -- there is no conceivable reason that anyone should be in a hurry to get a Toast-O-Lator working. If you must have toast, just use your regular toaster for a week or two.

When you get it done, remember that you have to press on the ends of the outer cover to get it to fit over the base plate. There are four notches and tabs to guide you.




The Four Toast-O-Lator Patents

The United States Patent and Trademark Office (USPTO) has a very nice website that allows you to search for the details of any patent -- you have to have the Patent Number. Here are the four Toast-O-Lator patents. The hyperlinks will take you directly to the USPTO website and you can view the patents yourself.

Patent 2,112,075

Submitted by:
Alfredo de Matteis, Valley Stream NY Alvin C. Goddard, Forest Hills, Long Island, NY assignors to the Toastolator Company of New York, a NYC corporation Filed: November 14, 1935 Application 49,680 Granted: March 22,1938

Patent 2,112,076

Submitted by:
Alfredo de Matteis, Valley Stream NY
assignor to the Toastolator Company of New York, a NYC corporation
Filed: November 14, 1935 Application 49,680, Divided
Granted: March 22,1938

Patent 2151695

Submitted by:
Alvin C. Goddard, Forest Hills, Long Island, NY
assignor to the Toastolator Company of New York, a NYC corporation
Filed: December 18, 1935 Application 116,450
Granted: March 28,1939

Patent 2,188,309

Submitted by:
William A. Pentecost, Oakland, California
Assignor, by mesne* assignments, to the Toastolator Company of New York, a NYC corporation
Filed: March 8, 1934 Application 714,549
Granted: January 30, 1940

* mesne assignment - an "assignment" is a transfer or making over to another of the whole of any property, real or personal, or of any estate or right therein; a "mesne assignment" (from the Old English "mesne" for "intermediate, intervening") is an assignment intervening between an original grant and the last assignment
MESNE: Intermediate: Intervening. (Example- Mesne Assignment: If A. grant a lease of land to B, and B. assign his interest to C, and C in his turn assign his interest herein to D., in this case the assignments so made by B. and C. would be termed "mesne assignments" that is they would be assignmets intervening between A's original grant and the vesting of D's interest in the land under the last assignment.)




Safety Analysis of the Toast-O-Lator

In my opinion, the thing is a mechanical nightmare. Worse, it is probably very unsafe. The cover gets very hot and without rewiring, there is a good probability of getting an electrical shock. The worst part is that the thing is very attractive, especially to children -- everyone wants to watch the toast through the little viewing port. If there are children in the house, don't get a Toast-O-Lator. Thanks to the Internet, we were able to determine that Consumer Reports had actually reviewed the Toast-O-Lator! Of all the electrical and thermal risks, their review was limited to:

"Automatic toasters, 1952
The Toast-O-Lator has a unique design with a conveyor to move bread between two heating units, and to dump out the finished toast--sometimes too violently.
"

Here is a Toaster Fan Website that summarizes all the Consumer Reports reviews of toasters from 1935 on.

The Toast-O-Lator managed to get the Good Housekeeping Seal of Approval, although I cannot imagine why -- the thing really is a safety hazard!

Toast-O-Lator Good Housekeeping seal
Good Housekeeping Seal for the Toast-O-Lator





The $5,000 Toast-O-Lator

I recently got an e-mail from a nice lady named Char who had just sold a Model C "See-through" Toast-O-Lator for $5,000 on e-bay. She was kind enough to write us a little note about her experiences and send us some photos. The photos led to some noteworthy observations, but first, let's hear from Char:

I bought this Toast-O-Lator at our area's first annual 52 mile garage sale last June. It was in a barn all dirty sitting on top of some furniture. The garage sale had been going for a few hrs. and I am sure several people had been in and out of this garage before I got there.

Char and the $5K Toast-O-Lator
Char with the Model C "See Through" Toast-O-Lator, Serial 1-39

The lady wanted $30. originally for it. I offered her $20. because I was buying several items from her. (She has not cashed the check I wrote her yet!) The only reason I bought it is because I knew there were Toaster collector's out there. I knew nothing about how much it was worth or how rare it was! This one looked to be unusual and in good shape. The lady said it sat on her Grandma's table for as long as she could remember. Until she died, then they put it in barn for storage.

I brought it home, cleaned it up. The cord looked good, but did not plug it in fearing it would start fire or blow up! It sat on my kitchen table for a month before I decided to put it on Ebay. I tried to do research on it, checking Ebay, Google and book stores. I could find nothing! Just regular ALL-METAL sides with small peep-holes- Toast-O-Laters. This one was made only short time. Model C-Picture Windows-Oval case. There aren't any pixs of one, that is why I couldn't find it, and the new owner had never seen one either!

When I put it on Ebay, I did put a $300. reserve on it. It hit the reserve immediately! I started getting emails from all over asking IF it was original? If it had been modified? If I would put more pixs up? Would I consider stopping the auction and selling it outright?

Then this one man kept emailing everyday asking questions. Come to find out he actually had an engineer come look at my pixs to see if he thought it was original. And still at this time I had not plugged it in. Finally after many questions about it working I did decided to plug it in. It worked perfectly! NO problem. Was cool to watch it work so smoothly. So of course I revised my description telling how great it worked. The MAN then told me he had 400 toasters. That he thought the Toaster would go over $1000. I was happy! Told me how Rare it was--that he was going to his office to watch and bid on it. I knew this was THE BIG ONE! The last hr. of the auction, I went to my computer watched. It went from $300-$400-$800-------I hit my refresh button the last minute of the auction. It went to $5000. I started screaming! Telling my husband to come look! I hit the refresh button again-------it went to $5100.99 and that MAN--Dan LaBelle won it! He was happy, I was estatic!!

So he sent me a business check, which had to clear in 10 days. So in the meantime I figured I would get my 15 mins. of fame, cause I knew he would after he got it! So I contacted our local newspaper and a friend contacted one of our local TV stations. They both came out and did interviews, took pixs, video. It actually got picked up by CNN and went clear across the country! Then Ebay Radio contacted me for interviews on the Toaster and on my home based business! I contacted Antique Trader mag. and they did a story too. I even wrote to Oprah, whom I would love to go see. Thought she would like a true happy story, but they never called! Bummer! That whole month was great!

Finally had to send off the toaster to it's new owner. After I did I have NEVER heard from him again! Wouldn't answer any of my emails. Tho day of sale, said he was going to take it to a Toaster convention this year, and would be the TALK OF THE CONVENTION! Hey, that's cool! We both got what we wanted! I can always say I found it first! Guess there is like maybe 100 in the world. And mine worked perfectly!

I have been selling on Ebay for 3 yrs. Of course it's all about the hunt! I will continue to find even a BIGGER ONE!

Thanks, Char

Char, we thank you SO VERY MUCH for your photos. They have been a treasure trove of information. Here is what the fuss is all about:

Side View the $5K Toast-O-Lator
The fabulous Model C "See Through" Toast-O-Lator, Side View

End View the $5K Toast-O-Lator
End View (Toast entry port)

Mfr plate the $5K Toast-O-Lator
Manufacturer's Plate

The patent information tells us that Alfredo de Matteis was working with toasters as early as 1924, and considered gas as well as electrical heat sources. He seems to have had a fascination with "transport toasting," using something very much like the chain on a saw to carry the bread.

Patent 1473213 sheet 1  Patent 1473213 sheet 2
The Chain Driven Single Track Toaster

Patent 1560220 sheet 1  Patent 1560220 sheet 2
The Chain Driven Double Track Toaster -- with heat control
Click here if you want to learn how to get Patent Drawings

His 1924 patents (1473213, 1560220) are very interesting, and offer a very large device that would toast mountains of bread while keeping food warm on the top. He offers a single and double track version, the latter with a fairly ingenious heat control. He claims that these things are "household appliances", but perhaps he was thinking about the Windsor or Rockefeller households. From looking at the patents,I would conclude that DeMatteis is truly the father of the Toast-O-Lator in the sense of being the inspiration for the devices. De Matteis seems to favor very complicated mechanicals supporting the notion that Alvin Goddard was the fellow who could actually simplify the ideas to the point where they could be manufactured quickly and cheaply enough to sell at a profit.

I note that this Model C does not have a "done-ness" lever and that the patents cited on the back do not include Pentecost's patent. Hence, I am certain that Pentecost is the originator of the doneness lever (which is really not necessary) that appears on the Model J.

I also note that the heating wires in your machine are badly stretched. My guess is that one of them broke and the repairman uncoiled enough of what was left to make a repair. I don't think that the cord is original either, but I would have to give it a very close inspection. The plug says "Toast-O-Lator" on original items.

I also note that Crocker Wheeler had moved from East Orange to its brand new (then) suburban office park of "Ampere", New Jersey. I suspect that the management ran off a hundred or so of these to use as demonstrators. I count 14 screws and bolts on each side that would have had to have been assembled by hand -- given that the thing is only about 3 inches wide, this model would have had to have been assembled by midgets. Pyrex glass was stunningly expensive in the 1930s as well. I don't think that this would have been a good mass-market production model. I am amazed that the thing survived as long as it did. I think that this is serial number 1 of 1939 (that is, the first of these made in the year 1939.)

This is a rare and informative device. This is not about crazy guys collecting toasters. The consumer appliance boom of the 1920s was just like the computer boom of the 1990s -- lots of people made a quick buck and a whole lot of people went broke.




What's Old Is New

A "new concept" glass toaster, that lets you see your bread as it browns, has been put on the market by a product developer called Inventables. This looks something like the see-through Toast-o-lator.

the Transparent toaster
The Transparent Toaster

The idea is based on transparent heating glass technology and the idea is that the glass heats up enough to toast the bread. It means people can keep their eye on their breakfast and eject the slice at the moment it turns the perfect colour. This would eradicate the need to put the bread back down and run the risk of having to scrape burnt toast.

However, a traditional timer dial is still incorporated into the design, for people who are too busy to keep an eye on their bread. A downside to the current design is that it only fits one piece of bread at a time. If it was made with a chain drive like the Toast-o-lator, it would be very useful!




Toast-O-Lator Photo Gallery

Here's a story from our reader Bridget in New York.

"... suppose everyone who writes to you has a Toast-o-lator story to share. I do, as well. A few months ago, I had dinner with a couple, Dean and Vicki, who were jointly celebrating their 40th wedding anniversary and Dean’s 63rd birthday. We all live in New York City now, but the couple is originally from Cincinnati. Dean began telling a story about his nana’s house and the fun memories he had of going there when he was about four years old (this was around 1950). His grandmother used to buy a whole loaf of bread and let him toast pieces one by one. He would load the Toast-o-lator up, run to the middle to watch the toast pass through the window and then run to the other side of the table to watch it fall out onto a plate. It was a very sweet story. ..."

Our friend Will from Pasadena, California writes:

"... A Toast-O-Lator was the star attraction of my grandparents' breakfast table. Not only was it easily did it make the best toast any of us had tasted, it was also the only one I've ever seen that could toast iced raisin bread, Grandpa's favorite, without making a mess.

I spent the next 30-some years wishing I had one, and then, about the time my wife and I had both seriously caught the old-appliances bug and had started looking in earnest, a friend spotted one in a DC antiques shop window, and after seeing it demonstrated bought it. She said, "I really bought it for you, but if $125 is too much I'd LOVE to keep it." I said, "Sorry, Chloe, but $125 is just what we figured on - please bring it over!" She did - good sport that she is - and we spent much of the evening making lots of toast.

Not long after that, we spotted another one at the monthly flea market at the State Fairgrounds in Nashville, sitting on the dirt floor of a booth back in the mule barn. The dealer was a local guy who said he'd gotten it from a retired maid, one of whose employers had given it to her. She told him she liked it fine, but she was tired of having to push the bread through with a knife, and a little worried about getting shocked! He had a price of $60 on it, marked down to $30. He plugged it in to demonstrate and, sure enough, the elements lit up but there were no signs of life along the tracks. So I explained exactly how it was supposed to work, which was a big surprise to him, and he allowed as how since it hadn't apparently done that in years he guessed it was worth only throwing out. We told him we might be able to fix it, and would he take $15, which cheered him up considerably. It was really clean on the exterior, but the bottom plate was all gummy, so I had a pretty good idea of what I'd find when I opened it up. Yup, all the drivetrain was locked in a coating of oxidized grease...and about an hour and a can of WD-40 later, I threw away a wad of grease-soaked newspaper, and after a quick checkover plugged it in. Bingo! Toast-O-Lator #2! From then on, until we moved from Nashville, parties at our house often featured Toast Races at some point, usually after a few cocktails.

We brought our Museum of Culinary Power Tools with us when we moved to SoCal, but though this house is a good deal older its kitchen was modernized in the '80s, and there's no place in the house for the kind of display we had in Nashville. The garage, however, has a one-car-sized bay added onto the side of the two-car portion, and that's where the Hoosier cabinet, the old gas range and the monitor-top Frigidaire live. My eventual plan is to clean out the clutter and spiff the joint up a bit, then set up some proper display shelves for the toasters, mixers, waffle irons and other doodads, with a demo table for showing off these things' capabilities. Like Toast Races...

The one in the pictures is I think the flea market baby, whose exterior is just a bit prettier than the DC-sourced one, but whose speed control is completely non-functional. The control on the other one is only somewhat functional. As the default setting seems to be "Light", and I think the heating elements are giving less than full power as well, a good well-browned piece of toast takes about three runs through either machine. Just for grins, I like to set them up in series now and then, which they handle very well (though a wide slice of bread is required). ..."

Will's Toastolator - side   Will's Toastolator - side

Will's Toastolator - side

Will's Toastolator - side

Our friend Glenn -- who did an excellent job -- writes:

"... I restored this myself thanks to your wonderfully helpful instructions. The coils would heat up like a jet plane but no action on the conveyor belt, gummed up was the word. I didn't have the kit you suggested so I made do with a couple different screwdrivers and small adjustable wrench. I used Goo Gone for the cleaning ( that stuff is the cats pajamas at removing gunk) with a cheap detail paint brush and lots of paper towels. I didn't follow your advise on marking things or paying attention after I broke it down. I wish I would have though, I walked away several times over the course of a day.

Now I feel a real sense of accomplishment after putting it back together and it's all thanks to you. I was going to throw it away but before I got too far with that idea your web site was first pick on google. I threw away the Toast-O-Lator with the clear sides, I regret that now. Joking with you there, You can bet I'll be looking for one of those now though!

I spent a good day on the toaster. I'm fairly OCD so I couldn't stop once I got started. Thanks again, I've got your web site in my favorites and I've got the 40's fever. Take care, well done! ..."

Glenn's Toastolator - side
Glenn's Toastolator

Glenn's Toastolator - toast port   Glenns Toastolator - switch
The Toast Port and Switch (Nice Cord!)

Glenn's Toastolator - Mechanism   Glenns Toastolator - Manufacturers plate
The [ultra-clean] Mechanism and Manufacturer's Plate

If you send me a picture of your Toast-O-Lator, I will be glad to put it on the website.

toastolatorfacebook signup graphic
Join Us on Facebook

Counter for the Entire Site (not just this page..)


website counter




Home | About Lindy | 1940s Collectibles | Upcoming Events | Vintage Clothing
The Guide - Establishments - Travel - Accessories
Music | Links | Photo Gallery | Extras | Contact