The Ironer Market was a Jungle!
Explore Your Electric Iron
Explore The Magical World of Mechanical Irons
Mexican Poster for: Tarzan y su Hijo, Universal, 1941
US Title: Tarzan's Domestic Adventures
Hi Lindy Hoppers!!!
Exciting things are hiding in the laundry room...

Other Mechanical Ironers



Blank slug

 History Page Button     Ironrite Page Button     Other Ironers Button OFF

For those of you who don't like buttons, here is a more analytical index to help you find your way to just what you're looking for.

ironrite facebook signup graphic
Join Us on Facebook






The Conlon Ironer

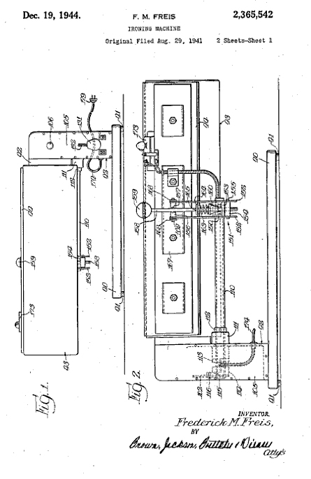
Numerous companies made ironers --- Maytag, Westinghouse and GE were major mass market players. there were also small regional outfits like the Conlon company which made a very attractive ironer that stronly resembles the Iron Rite. The major difference is that the heated "iron" is on top of the roll rather than beneath it. It appears that the Conlon Company (later Conlon-Moore) was manufacturing Ironers in the early 1920s.

 Conlon Ironer Patent No. 1,652,561     Conlon Ironer Patent No. 1,853,395     Conlon Ironer Patent No. 1,867,839     Conlon Ironer Patent No. 2,365,542

Conlon Ironer Patents
(l to r) 1,652,561; 1,853,395; 1,867,839; and 2,365,542
Click to Enlarge


The conlon Company seems to have advertised quite a bit as these ads show. Of note is the 1931 ad from Spokane that shows an ironer very similar to Patent No. 1,652,561. Other ads follow the general theme of "saves time" and "Easy to Use". The Ironer priced at $139.00 (in 1931) was very expensive, especially in the Depression. Adjusting for inflation, this sum is equivalent to about $3,200 in 2009 dollars.

 Conlon ad from Spokane, 1931     Conlon  ad from 1948 -- instruction course     Conlon Ad - compare with NOS model below     Conlon ad so simple a child can use it

Conlon Ironer Advertisements
Click to Enlarge

I know very little of this company and I am thrilled that one of our readers sent these photos to us. If any of our other viewers know more about this company, please Contact Me.

 Conlon  Ironer, Closed     Conlon  Ironer Manual

The Conlon Ironer, External Appearance

 Conlon Ironer, Roll and Iron Detail     Conlon Ironer, Roll and Iron Detail     Conlon Ironer, Motor Detail

Details of Roll and Motor


 Conlon Ironer, open, wings extended     Conlon Ironer, Roll detail     Conlon

Conlon Ironer in Ironing Position
Click to Enlarge

Here are some more Conlon pictures sent in to us by our friend Bob in Oxnard, California. He writes:

"... What a surprise to find your web site. I was searching for a Conlon Ironer corporation web site to obtain if possible a Conlon Ironer Manual. I did not find it but I found your web site and imagine my surprise when you had a photo of exactly my Conlon Ironer. I am attaching a photo of my Conlon Ironer. For what it's worth. My wife died about 2 years ago and last week I pulled our old Conlon Ironer out of storage in my garage. I cleaned it up and plugged it in and to my amazement it worked. We bought our Conlon Ironer in the late 1950's in Topeka, Kansas. My wife really loved it and would never think of getting rid of it even though she had not used it in years. As you indicated, everything was ironed back then. My wife, Betty, always ironed a white shirt each day for me to go to work. (I was an engineer in an office.) She was the greatest of wives. We were married for just over 50 years. Now I think that I will use it to iron some of my good trousers and a sheet and pillowcase or two just for old times sake. I live in Oxnard, California and would like to locate a manual for the Conlon Ironer since I cannot find ours even if it is still around someplace. If you know anyone who has one or an idea where I can get one, please let me know. I loved your web site. The music of the '40's and '50's were the best ever and has never been equaled. Long live 'Your Hit Parade'..."

 Bob's Conlon Ironer

Bob's Conlon Ironer
Click to Enlarge

We got a note from a reader who actually found a Brand New Conlon Ironer -- it had been given to a relative as a present and was never used!

 New Old Stock Conlon Ironer     New Old Stock Conlon Ironer      New Old Stock Conlon Ironer

New Old Stock Conlon Ironer
Click to Enlarge

Recently, we got some photos of a Conland Ironer from 1933-1935. We can date it because it has a sticker showing that it was made and sold under the National Industrial Recovery Act ( The famed "Blue Eagle" which indicated that the machine had been made and sold with fair trade. The Act was passed in June of 1933 and struck down by the Supreme Court in May of 1935, so this machine can be dated with some precision.

The photos were sent to us by Glenn in South Carolina. He writes:

"... I was searching for information on a Conlon Rotary Iron I pulled out of my grandmothers house and found your website. ..."

 New Old Stock Conlon Ironer     New Old Stock Conlon Ironer

 New Old Stock Conlon Ironer

Conlon Ironer from 1933-1935
Click to Enlarge






The ABC Ironer

The Altorfer Brothers Company (ABC) of Peoria, Illinois made a large number of laundry products -- including washers, dryers and ironers. They seem to have made products of reasonable quality, but they never attained anything larger than a small market share in the Midwest. Their ironer has a lot in common with the Conlon. The Ironrite is the only machine in which the roll moves and the iron is fixed.

The ABC Ironer - closed   The ABC Ironer - Open

The ABC List of Patents   Design patent for BC Exterior D110992

The ABC Ironer
LEFT:List of ABC Patents
RIGHT: Henry Altorfer's Design Patent (D 110,992) for the ABC Ironer Exterior
Click to enlarge







The ABC Ironer and the Atomic Bomb

We'd like to report that J. Robert Oppenheimer made the detonator for the Hiroshima bomb out of parts from an ABC ironer. Exciting as that might be, it would be false. BUT, the ABC Ironer did play a critical part in the Manhattan Project. Specifically, we found the following photo of the laundry room at the Los Alamos facility. Here you see the wives of the scientists pressing forward keeping the shirts, tablecloths and sheets well-ironed. The do not, however, have the benefits of an ergonomic "Health Chair"as afforded owners of the Ironrite. Some sacrifices were necessary during wartime.

The ABC Ironer - at War

The ABC Ironer at War!

If you would like to see more photos of day-to-day life of real people who worked on the Manhattan Project, check out the website of the Manhattan Project Heritage Preservation Association.






The Thor Gladiron Ironer

The Thor line of washers and ironers was an incidental offshoot of a company founded near the turn of the [20th] Century by John D. Hurley, and two Cleveland [OH] politicians. To inspire confidence, Hurley induced "Diamond Jim" Brady,the nation's best known salesman of railroad products to allow his name to be used as President of the fledging company. The reason that Brady was brought on board was that the first Thor product was a pneumatic hammer to pound rivets and drill holes for bolts used to fasten the fire box of a locomotive to its boiler. Railroads soon became the major customers of Thor pneumatic products.

Thor and his Hammer

Thor Wielding His Hammer

Thor was the mythical god of thunder, frequently pictured as wielding a mighty hammer. Hence, The name "Thor" was applied to the company's pneumatic hammer. The name acquired a reputation for quality and dependability and spread to other Thor products.

 Thor Motorcycle     Thor Motorcycle

Thor Motorcycle

Click to Enlarge


In time, Thor acquired the Aurora Automatic Machinery Company, a manufacturer of parts for bicycles and motorcycles, including the Sears and Indian motorcycles. Eventuallly, Thor sold its own brand of motorcycle from the early 1900's until 1918. Notably, Thor introduced the first sidecar. For a brief time, the company also manufactured a Thor automobile.

None of this, however, has anything to do with washers and ironers.

In a parallel universe, Hurley's two younger brothers, Neil and Edward formed an independent company that manufactured washing machines. Through the intercesssion of their older brother, they received permission to use the Thor logo and name on its new venture. However, there was never any corporate or financial relationship between the washing machine company and the power tool company.

Shortly after introducing the electric washing machine, the Hurley brothers introduced the Thor rotary iron, usually known as the "Gladiron" Note that this is a clever play on Mrs. Potts' "Sadiron", on our Ironing History Page that required stove top heating by the user.

 Thor Gladiron Washer-Ironer Combination

Thor Gladiron Ironer Washer-Ironer Combination
Click to Enlarge

Several variations of the "Gladiron" were introduced. One model would serve as an actual attachment to the washing machine. Simply take off the wringer and attach the gladiron and the lady of the house or her domestic servant could do their ironing above the machine. The other model was a stand-alone version.

Both the washing machine and gladiron were big hits in households throughout the country and the world. The Arcade Toy Company made tiny replicas of both machines for little girl doll houses.

 Thor Gladiron Ad     Thor Gladiron  Ad     Thor Gladiron Ad     Thor Gladiron  Ad

Thor Gladiron Ironer Advertisements from the 1920s
Click to Enlarge

Eventually, the Hurley Company made a lightweight collapsable machine as shown in these photos sent to us by our friend Gayle in Frankfort, Kentucky. This machine was targeted at folks suffering from the postwar housing crunch where new couples were often squeezed into very small spaces. On this machine, the shoe moves onto the roller, so it is more like the Conlon than the Iron-Rite. This is what the Gladiron looked like when it came out of the box!

Frankfort Kentucky Postcard

Kudos to Gayle in Frankfort

 Thor Gladiron     Thor Gladiron

Thor Gladiron Ironer
New Old Stock-- $134 then is equivalent to about $1,000 today
Click to Enlarge


Contemporary ads seem to mirror the general cultural theme of the 1940s that a woman could win increased affection from her spouse by performing household chores well.

 Thor Gladiron      Thor Gladiron      Thor Gladiron     Thor Gladiron

Mid 1940s Ads for Thor Gladiron Ironer
Let Your Children Do the Ironing
Click to Enlarge


The Gladiron appears to have been the creation of Arthur H. Gerhardt, Arthur P. Schulz, and Hugh M. Rumbaugh, dating back to 1940. Mr. Gerhardt seems to have done the principal design work, particularly the exterior while Messrs. Schulz and Rumbaugh were involved with the mechanicals. The principal patents for the Gladiron are:

  • Re-22,616
  • Re-22,720
  • 2,280,719
  • D-123,636
  • D-139,203
  • D-143,298
  • D-143,299

If you are restoring a Gladiron, your best bet is Reissue Patent RE22720 -- it has 12 very detailed drawings of the machine's inner workings. You may obtain this by following the proceedures outlined on our Patent Drawings page. Here are some samples:

 Design Patent D-143299 Gladiron Exterior      Thor Gladiron Power transmission to the arm Patent RE2270     Thor Gladiron  Inner Gear mechanisms Patent RE2270

Thor Gladiron Ironer
Design Patent D-143299 Gladiron Exterior
Thor Gladiron Power transmission to the arm Patent RE2270
Thor Gladiron Inner Gear mechanisms Patent RE2270
Click to Enlarge

Click here if you want to learn how to get Free Patent Drawings


Thanks to Rita, one of our readers, we have a manual for the Gladiron. It is a ".pdf" that is about 6.6 MB; please contact us if you want a free copy of the Gladiron Manual.

Patent RE22,720 has 24 pages -- and that can be a hassle to download. contact us if you want a 3.8MB zip file containing images of all 24 pages. There are 12 pages of drawings and 12 pages of explanatory text.

As usual, we are always interested in stories, pictures and data which would help us understand this marque of Ironer






The Simplex Ironer

The Simplex Ironer has been around for a LONG time. Here is an ad from 1910:

 Simplex Advertisement
Targeted at the Man of the House, telling him what She wants
Click to Enlarge


Beginning in 1905, he Simplex Ironer was made by the Peter Brothers Manufacturing Company. The organization specialized in producing laundry ironers. The Company employed 200 people and produced 2,500 ironers per month. In 1920 Peter Brothers Manufacturing changed their name to American Ironing Machine Company.

 Simplex  Advertisement     Simplex  Advertisement     Simplex  Advertisement     Simplex  Advertisement

Simplex Ads targeted at "more lesiure time"

 Simplex Advertisement     Simplex Advertisement     Simplex Advertisement     Simplex  Advertisement

Simplex Ads targeted at "Family Values"

The "farm" ad was from Country Gentleman
Only a Plantation or 1,000 acre horse farm actually had electricity at the time of the ad
Click to Enlarge


From 1905 to 1929, the company engaged in massive advertising, buying full-page ads in upscale publications, such as The Literary Digest,The Saturday Evening Post and The Country Gentleman.

 Simplex Advertisement     Simplex Advertisement     Simplex Advertisement     Simplex  Advertisement

Simplex Ads targeted at "Pride of Posession"

Click to Enlarge

As the 1920s progressed, "Status" or "Pride of Possession" also entered the advertisng copy.

Thanks to our friend and reader Don H. of Palm Desert, California, we have a complete Simpex operator's manual for this very early model. Write Us and we'll be glad to send you a ".pdf" of the manual for FREE.

 Simplex Promotional Calendar

Simplex Promotional Calendar
This was a Big Purchase worthy of lots of marketing schtick
Click to Enlarge


Here are photos of a "Modern" Simplex. They were sent by our friend Sharon from West Virginia!


West Virginia LL

 Simplex Ironer     Simplex Ironer     Simplex Ironer

"Modern" Simplex Ironer Click to Enlarge

Thanks to our friend Barry A., we now have quite a bit of documentation for the late-model Simplex. It is about 4 MB, (Contact me if you want any of this material. This is what it looks like:

 The Modern Simplex Manual Cover     The Modern Simplex parts list Cover     The Modern Simplex Advertising Brocure Cover   

 The Modern Simplex Guarantee Bond

The Modern Simplex Manual, Parts List and Other Ephemera
Click to Enlarge

If you take a close look at the "Parts List" cover above, you'll note that Simplex had been taken over by McGraw-Edison, the manufacturers of the Speed Queen line of appliances. We siscuss this latter brand next.






The Speed Queen Ironer

These photos were sent to us by our friend Anna. She has a "Speed Queen" ironer that seems to have come to her new and unused! She writes:

"...HELLO HERE OF SOME PICTURES OF MY SPEED QUEEN MANGLER THAT WORKS ABSOLUTELY PERFECT AND HAS NEVER BEEN USED!!!...IT HAS AN ORIGINAL GENERAL MOTORS PACKARD MOTOR THAT RUNS SILENT AND LIKE NEW AS WELL .....THIS MANGLE IS ALL ORIGINAL!!!.....I PURCHASED THIS ITEM FOR $1.00 AT THE LOCAL GOODWILL..."

 Speed Queen Ironer      Speed Queen Ironer     Speed Queen Ironer


 Speed Queen Ironer      Speed Queen Ironer     Speed Queen Ironer

Speed Queen Ironer
Click to Enlarge

If you are seeking to restore a Speed Queen ironer )or just learn how to operate one), you would probably benefit from some of the material on the modern Simplex (above), since they were made by the same company.








The GE Ironer

General Electric made its entry into the home ironer business with a flat plate device. From a manufacturing point of view, this is a lot simpler and cheaper because it does not have the gears, pulleys and wires that run the roll mechanism. All you do is place the object on the hot plate and close the lid on top of it. This technique is limited to pieces that are small.

 Ad for the General Electric Flatplate Ironer     Ad for the General Electric Flatplate Ironer      General Electric Flatplate Ironer

General Electric Flatplate Ironer

Click to Enlarge


In the 1930s, General Electric gave up the flat-plate ironer and made a roller version that competed with the Ironrite.

 General Electric      General Electric      General Electric

General Electric Ironer
Click to Enlarge

Here is an ad for the General Electric Ironer that was displayed on NYC Subway trains in the 1930s and 1940s.

GE Ironer Subway Card Advertisement
Subway Advertising Card for the GE Ironer
This was on our Nostalgia Subway Ride, Christmas 2008
Click to Enlarge







The Universal Ironer

These photos were sent to us by our friend Lorena. She has a "Universal" ironer that seems to have survived fairly well. "Universal" was the name used for products made by Landers, Frary and Clark of Connecticut, and we have a detailed history of that company on our Coffee Page, largely because LF&C was catapulted to fame by manufacturing the first percolator.

 Universal Ironer Ad     Universal Ironer     Universal  Ironer

Universal Ironer from Landers Frary and Clark

Click to Enlarge







The Kenmore Ironer

For those of you who are too young to remember when Sears was actually more than a dump, Kenmore was Sears' "House Brand". Sears contratcetd for the production of appliances by other "name" manufacturers. generally, the Kenmore brand was slightly different and slightly "cheaper." Usually, the companies so contracted were regional firms that were glad to get national business. I "think" that the Kenmore Ironer was made by Simplex, but I could be mistaken there.

 1930s Kenmore Ironer      1930s Kenmore Ironer

Kenmore Ironer (c. 1930)
Click to Enlarge

Sears continued to sell Kenmore Ironers well into the 1950s. We were privileged to get this note from Pam, one of our readers:

"... I have a 1952 Kenmore Ironer with the manuals. My Grandfather bought it for my Grandmother in the 1950s. She used it to iron his suits because he was a door to door insurance salesman..."

Here are Pam's photos:

 1952 Kenmore Ironer


 1952 Kenmore Ironer      1952 Kenmore Ironer      1952 Kenmore Ironer

Kenmore Ironer (c. 1952)
Click to Enlarge

Pam also has promised to scan the manual and the parts list. Check back with the site to see when I have received them.

 1952 Kenmore Ironer Manual Cover     1952 Kenmore Ironer Parts List Cover

Kenmore Ironer Manual and Parts List
Click to Enlarge

Pam has also provided a little quicktime movie of the Kenmore Ironer. Click here to view it.

Counter for JUST THIS PAGE


website counter
Counter for the ENTIRE WEBSITE


Home | About Lindy | 1940s Collectibles | Upcoming Events | Vintage Clothing
The Guide - Establishments - Travel - Accessories
Music | Links | Photo Gallery | Extras | Contact