TTTMusical Instrument Patents
Hi Lindy Hoppers!!!
You Can Patent Anything!

A few weeks ago, I saw a man on the subway wearing a Tee Shirt that was emblazoned with the Patent Diagram for the Fender Telecaster Guitar I thought that was a great idea. I started doing some research into musical instruments and I found that there is a whole lot of Science that goes along with this Art. Here is a discussion of some of the principal instruments in a swing band -- their history, their Patents and photos of DC area artists using them. Feel free to use our Patent Page to download a drawing to put on a Tee Shirt. Feel free to contact me if you have any comments, corrections, and the like --- or if you have any other Patent Diagrams that you want to share.

The Fender Telecaster

Starting in the late 1920s, guitar players experimented with 'wiring up' their instruments in search of greater volume and projection. Here is an article from 1936 that provides some "Do-It-Yourself" advice about amplifying stringed instruments.


H.S. Sunshine Skyscraper Guitar Patent D-114,773

Do-It-Yourself Amplification
From Popular Mechanics July, 1936
Click to Enlarge


During this early period, electric semi-acoustics (such as the Gibson ES-150) dominated the market. Based in Fullerton, California, Leo Fender survived the Depression by repairing, then designing, amplifiers and electromagnetic pickups for musicians -- chiefly players of electric semi-acoustic guitars, Hawaiian (lap steel) guitars, and mandolins. In partnership with Clayton "Doc" Kauffman these were manufactured under the brand name "K & F." Kaufmann pulled out of the venture and Leo changed the name to Fender's Radio Service, and then Fender Guitars. Here are some early patents for a Hawaiian style guitar and a pickup for an acoustic guitar.


F H Kislingsbury Hawaiian Guitar Paatent 2888463   W.L.Fuller  Hawaiian Guitar Paatent D110178   H DeArmond Pickup Patent 2455046   H.S. Sunshine Skyscraper Guitar Patent D-114,773

Early Experiments is Steel Guitars and Acoustic Pickups
F. H. Kislingsbury Hawaiian Guitar Paatent 2,888,463
W.L.Fuller Hawaiian Guitar Paatent D-110,178
H. DeArmond Acoustic Pickup Patent 2,455,046
H.S. Sunshine Skyscraper Guitar Patent D-114,773
Click to Enlarge

Click here if you want to learn how to get Free Patent Drawings

Between 1932 and 1949, individual craftsmen and companies had experimented with solid-body guitars, but none made a significant impact on the market. With its distinctive "twang", Leo Fender's Broadcaster design put the solid-body guitar on the map; however, the Gretsch Drum Company already had that name trademarked for one of their drum sets. At first, Leo just dropped the name altogether and sold what are now known as "Nocasters" (they didn't have any model name on the headstock at all). This didn't last long and Leo started putting "Telecaster" on the headstock around 1951. Decals from 1954 on cite the following two "use" patents that describe how the mechanism works. Leo Fender also patented the exterior or "design" of the telecaster, as shown further below with a picture of an actual Telecatser.


Gretsch Broadkaster Trademark

The Gretsch Broadkaster Trademark

Leo Fender Telecaster Use Patent 2573254   Leo Fender Telecaster Use Patent 2960900
Patents that appear on the Telecaster Headstock
No Patent information on the Headstock, 1950-1953)
Leo Fender Telecaster Use Patent 2,573,254 (appears 1954-1960)
Leo Fender Telecaster Use Patent 2,960,900 (appears after 1958)
Click to Enlarge

Click here if you want to learn how to get Free Patent Drawings

Arthur Smith was one of the first musicians to use the Broadcaster to record "Guitar Boogie" in 1947. From then on, the solid body guitar took off. Early Boadcasters, Nocasters, and Telecasters are eagerly sought and command high prices.

This website has an infinite amount of detail about the Telecaster.

A useful accessory is the tremolo arm or whammy bar. This is a lever attached to the bridge and/or the tailpiece of an electric guitar to enable the player to quickly vary the tension and sometimes the length of the strings for a short period of time. In turn, this changes the pitch to create a vibrato, portamento or bend effect. Both Leo Fender and Doc Kauffman were also pioneers in this area.

Here's a picture of Bill Kirchen and his VERY famous Telecaster (equipped with original Fender pickups). You can watch him put this marvelous instrument to very good use as he imitates the styling of the noteworthy guitarists of the 20th century in his version of Hot Rod Lincoln.


Bill Kirchen and his Fender Telecaster   Original Fender Telecaster Design Patent No. D164227   Whammy Bar Patent 2741146


Left: Bill Kirchen Mid: Fender Telecaster Right: Whammy Bar
Original Fender Telecaster Design Patent No. D164,227
Whammy Bar Patent No. 2,741,146
Click to Enlarge

Click here if you want to learn how to get Free Patent Drawings

The Humbucker Pickup, designed by Seth Lover is used to eliminate low frequency noise. Magnetic "hum" is mostly created by transformers and power supplies inside various electrical equipment utilizing household AC current. As AC current is put though a coil, it induces a magnetic field around the coil that quickly becomes weaker with distance. When it reaches the guitar pickup, the strength is very slight, but once put through various pedals and amps it becomes much more evident. Using a guitar without humbuckers, a musician would hear a slight but annoying hum from the amp in silent sections of the music. Sources of magnetic hum generated in the studio and on stage include, but are not limited to, high-power amps, processors, mixers, motors, etc., as well as criss-crossing power lines.


Humbucker Pickup Patent 2896491

Seth Lover's Humbucker Pickup, Patent No. 2,896,491
Click here if you want to learn how to get Free Patent Drawings
The Les Paul Guitar

In 1950, with the introduction of the Fender Telecaster to the musical market, electric guitars became a public craze. In reaction, Gibson Guitar president Ted McCarty was determined to launch a viable competitor. The Les Paul model hollow body electric guitar was the result of a design collaboration between Gibson Guitar Corporation and pop star, electronics inventor, and accomplished jazz guitarist Les Paul. There is still debate about the extent to which Les Paul actually designed the instrument that bears his name; it is very clear that Ted McCarty's name is on the patent.

Here are pictures of Rusty Bogart and Bruce Katsu, some of our favorite local masters of the Les Paul, along with the Patent Diagram


Rusty Bogart   Les Paul Guitar Patent 2714326  
Rusty Bogart (l) and Bruce Katsu (r) Flanking the Les Paul Patent
Ted McCarty Patent 2,714,326
Click to Enlarge

Click here if you want to learn how to get Free Patent Drawings
The Gibson "Flying Vee"

Gibson first manufactured prototypes of the "Flying Vee" guitar in 1957. Production guitars were made of korina wood, a trademarked name for limba, a wood similar to but lighter in color than mahogany. The Flying V, along with the Futura (Explorer) and the Moderne, made up a line of modernist guitars designed by Gibson's then-president Ted McCarty. These designs were meant to add a more futuristic aspect to Gibson's image, but they didn't sell well. After the initial launch in 1958, the line was discontinued by 1959. Some instruments were assembled from leftover parts and shipped in 1963, with nickel- rather than gold-plated hardware.

The "Flying V" was rescued from obscurity by legendary bluesman Albert King who had an unusual playing style -- he learned from a man who was left-handed -- he played the guitar with his right hand with the strings in position for a lefty. This led to a very unusual style -- some observers thought that King's captivating licks were due to the guitar and the "Flying Vee" had a burst of enthusiasm. When Jimi Hendrix started using the instrument, Gibson was motivated to reissue the guitar.

Watch Albert King perform his signature tune, Born Under a Bad Sign, blowing everyone away even though he had a broken ring finger at the time.


Albert King   Flying Vee Guitar Patent D181867
Albert King and the Flying Vee
Ted McCarty Patent D181,867for the "Flying Vee"
Click to Enlarge

Click here if you want to learn how to get Free Patent Drawings
The Fender Precison Bass

The Fender Precision Bass (often shorted to "P Bass") was the first widely-available model electric bass guitar. Designed by Leo Fender and brought to market in 1951, it is the most significant bass design of the 20th century. Audiovox sold a solid-body, fretted, guitar-style electric bass in the late 1930s, but these were custom-made in very small quantities. As it comes from the factory, the Precision Bass is alder or ash-bodied equipped with a single split-coil humbucking pickup, a 1-piece maple neck with rosewood or maple fingerboard and 20 frets. The Precision Bass is among the best-selling electric basses of all time and is still being manufactured today.

Here is a picture of Steve Wolf of Swing Speak, our DC-Area Guru of the Precision Bass. Here is a link to the Kennedy Center where you can watch Steve and the group play.


Steve Wolf of Swing Speak   Fender precision Bass patent D169062
Steve Wolf and the Precision Bass
Leo Fender's Design Patent D169,062 for the Precision Bass
Click to Enlarge

Click here if you want to learn how to get Free Patent Drawings
Drums

Slingerland, Ludwig and Zildjian are the most famous names in Percussion instruments.

The Slingerland Drum Company was founded by H.H. Slingerland in 1912. The company started out importing ukeleles from Germany but set up its own production because it could not meet demand. Soon, they produced their own banjos and ukeleles and eventually, also guitars (including electric guitars from 1936 or earlier). Production of drums was started in 1927, in answer to the very successful entry of the Ludwig & Ludwig drum company (below) into the banjo market. The first Slingerland drum kits came out in 1928. For a long time, Slingerland drums were synonymous with such jazz drumming greats as Gene Krupa and Buddy Rich; Elton John's drummer, Nigel Olsson, also used Slingerland sets widely. The company remained in the Slingerland family until 1970. After that, Slingerland changed ownership multiple times until it was acquired by the Gibson in 1994. The Slingerland brand still exists in a variety of drumsets, including Gene Krupa and Buddy Rich signature sets.


Gene Krupa ad for Slingerland drums Popular Mechanics November 1939

Gene Krupa
Ad from Popular Mechanics November, 1939
Click to Enlarge


In 1910, the Ludwig & Ludwig Company was founded by brothers William F. and Theo Ludwig, initially manufacturing a bass drum pedal capable of playing faster beats than competing products. Production facilities were in a rented barn on the southside of Chicago. The Ludwigs next developed a hydraulic action timpani and in 1916 invented a spring mechanism --the basis for the current Balanced Action Pedal Timpani. Production then expanded into other types of drums and banjo-type instruments. During the 1925-1930 period, Ludwig made two models of ukulele-banjo, each being prized by players of the instrument (Ludwig is known by collectors as being one of the three best historical makers of ukulele-banjos, the others being Gibson, and Jack Abbot.) During the Great Depression of the 1930s, the company was forced to merge with the C.G. Conn Company. William F. Ludwig, who disliked his lack of involvement with the design and manufacture of the instruments after the merger, left the company in 1936. He opened his own company, the W.F.L. Drum Company, in 1937, initially producing the Speed King Pedal. In 1955, the Ludwig division was purchased back from Conn and renamed the Ludwig Drum Company. The Speed King is still the industry standard.

The Avedis Zildjian Company is a cymbal and gong manufacturer founded in Istanbul, Turkey by an Armenian named Avedis Zildjian during the Ottoman Empire. It is the world's largest manufacturer of cymbals. At nearly 400 years old, Zildjian is the oldest family-run business in America and one of the 300 oldest companies in the world. They also sell drum-related accessories, such as drum sticks. The first Zildjian cymbals were created in 1623 in Istanbul by Avedis Zildjian, who was looking for a way to turn base metal into gold, created an alloy combining tin, copper, and silver into a sheet of metal that could make musical sounds without shattering. Avedis was given the name of Zildjian (Zilciyân) by The Sultan, from the Turkish (zil - cymbal, dji - maker-seller, ian - a common suffix used in Armenian last names) and began an industry in 1623, the details of whose main product remained secret for generations. It became family tradition that only the company's heirs would know the manufacturing process. The Zildjian Company moved from manufacturing noisemakers to frighten the enemies of the Ottoman Empire to manufacturing its cymbals as musical instruments in the 19th century.

Here is a photo of Tommy Barrick, one of DC's hottest drummers using Slingerland Drums, the Ludwig Speed King Pedal and Zildjian cymbals as they were intended. Click here to listen to Tommy leading the way in the RKO Swing version of Sing,Sing,Sing


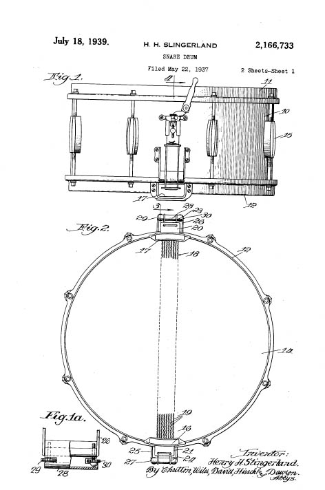
Tommy Barrick   Ziljian Cymbal Patent 2189095   Speed King Pedal Patent 2132211    Slingerland Snare Drum Patent 2166733
Tommy Barrick and the Tools of His Trade
Cymbal: Patent 2,189,095 Speed King Pedal: Patent 2,132,211 Snare Drum: Patent 2,166,733
Click to Enlarge

Click here if you want to learn how to get Free Patent Drawings
Trumpet

The trumpet has the highest register in the brass family. Trumpets are among the oldest musical instruments, dating back to at least 1500 BC. Probably, they evolved from animal hone. They are constructed of brass tubing bent twice into an oblong shape, and are played by blowing air through closed lips, producing a "buzzing" sound which starts a standing wave vibration in the air column inside the trumpet that is ultimately amplified into a clear note by the flare of the "bell" . The length of the tubing determines the pitch of the instrument; thus high pitched trumpets are small and larger versions are in low registers. The most common is a transposing instrument pitched in B-flat allowing one instrument to imitate instruments of a variety of sizes. Older trumpets (e.g. the Bugle) did not have valves; however, modern trumpets have either three piston valves or three rotary valves, each of which increases the length of tubing when engaged, thereby lowering the pitch.

We are showing Henri Selmer's 1939 patent for a variation on the transposing trumpet. We also have a picture of Tom Cunningham, leader of DC's most popular big band. Click here to listen to the Tom Cunningham Orchestra play Jimmy Lunceford's Frisco Frog

No mention of the Trumpet can ever be complete without a sample of the magnificent Louis Armstrong. Here is "Pops" playing and singing on the best version of Stardust ever recorded. As a bonus, here's I Can't Give You Anything But Love and Dream a Little Dream With Me.


Tom Cunningham   Selmer Trumpet Patent 2181346
Tom Cunningham, King of the High Registers
Henri Selmer Patent 2181346
Click to Enlarge

Click here if you want to learn how to get Free Patent Drawings
Trombone

The trombone is a lip-reed aerophone: sound is produced when the player’s vibrating lips (embouchure) cause the air column inside the instrument to vibrate. The trombone is distinguished by a telescopic slide with which the player may vary the length of the tube to change pitches while keeping embouchure constant. Lesser known valve trombones use three valves similar to those on a trumpet.

The word trombone derives from Italian tromba (trumpet) and -one (a suffix meaning "large"), so the name literally means "large trumpet". Trombones and trumpets share the important characteristic of having predominantly cylindrical bores (meaning that the tubing does not change diameter until the bell). The most frequently encountered trombones are the tenor and bass counterparts of the trumpet. They are both pitched in B-flat; this means that with the slide all the way in, the notes of the harmonic series based on B-flat can be played by modifying the embouchure alone. Fixed extension of the slide allows others series to be played as if the instrument were a bugle. Since trombonists generally read music in concert pitch, this dual capability is a big help in improvising solos, as there are two ways of getting to every pitch (lip and slide).

We have included photographs of two of DC's best trombonists, Steve Shaw (of the J Street Jumpers) and Bobby Blankenberg (of Doc Scantlin). They are shown flanking Al Johnson's 1931 Trombone Patent. Click here to listen to Steve and the J Street Jumpers play Is you Is or Is You Aint My Baby?

Jack Teagarden was probably the best all-time jazz trombonist -- watch him in this 1952 jam session with Buddy Hackett. Jack plays and sings in this very beautiful video of Stars Fell on Alabama.


Steve Shaw    Johnson Trombone Patent 1789589    Bobby Blankenberg and Wife
Steve Shaw and Bobby Blankenberg
Al Johnson Patent 1,789,589
Click to Enlarge

Click here if you want to learn how to get Free Patent Drawings
Saxophone

The saxophone is a conical-bored transposing musical instrument considered a member of the woodwind family. This means that the tubing increases in diameter with the length. This allows the tiny vibrations in the reed (sse mouthpiece below) to be amplified, with complex overtones. Keys allow the user to vary the length of the air column. (once the key is pressed, a hole in the tube is exposed, effectivly terminating the air column) Saxophones are played with a single-reed mouthpiece and are usually made of brass. [Ornette Coleman played a plastic saxophone to some critical acclaim.]

The saxophone was invented by Adolphe Sax in 1841, and patented in 1846 in two groups of seven instruments each. Each series consisted of instruments of various sizes in alternating transposition. Here is an excerpt from Adolphe Sax's request for the Saxophone patent:

"...Descriptive report deposited in support of a request for a fifteen year patent of invention. Mr. Antoine-Joseph (called Adolphe) Sax, musical instrument maker residing in Paris at rue neuve Saint-Georges No. 10 has presented his patent application at the office of Mr. Perigna, patent attorney, 10 rue neuve St. Augustin, for a new System of wind instruments called Saxophones. In general, wind instruments are either too harsh or too weak in sonority; one or the other of these faults is most especially perceptible in the basses. The Ophicleide, for example, which reinforces the trombones, produces a sound so disagreeable that it must be kept out of resonant halls because of its inability to be played softly. The bassoon, to the contrary, has such a weak sound that it can be used only for accompanying and filling parts; yet for specific forte effects in orchestration it is absolutely useless. One should note that the bassoon is the only instrument of this type which blends well with string instruments. Only brass wind instruments produce a satisfying effect in outside performance. Bands comprised of these instruments are the only kind of ensembles which can be used in these circumstances. Foroutside performance the effect of stringed instruments is null. Because of the weakness of their timbre, their use is almost impossible under such conditions. Struck by these different drawbacks, I have looked for a means of remedying these situations by creating an instrument, which by the character of its voice can be reconciled with the stringed instruments, but which possesses more force and intensity than the strings. This instrument is the Saxophone. The Saxophone is able to change the volume of its sounds better than any other instrument. I have made it of brass and in the form of a parabolic cone to produce the qualities which were just mentioned and to keep a perfect quality throughout its entire range. The Saxophone embouchure uses a mouthpiece with a single reed whose interior is very wide and which becomes narrower at the part which is fitted to the body of the instrument...."

The series pitched in B-flat and E-flat, originally designed for military bands, has proved extremely popular. A few saxophones remain from the less popular orchestral series pitched in C and F. Saxophones range from the tweeety sopranino, associated with Kenny G, and the Contra-Bass, a gigantic monster.


Adolphe Sax   French Patent No. 3226 for the Saxophone   Selmer Saxophone Patent 2,151,337
(L.) Adolphe Sax (M) French Patent #3,226 (R)The Sax Family
Clockwise from top left:
contrabass, bass, baritone, tenor, C melody, alto, F mezzo-soprano, soprano, C soprano, and sopranino
Click Here for pictures of historical saxophones
Click to Enlarge

Click here if you want to learn how to get Free Patent Drawings

While proving very popular in its intended niche of military band music, the saxophone is most commonly associated with popular music, big band music, blues, early rock'n'roll, ska and particularly jazz. There is also a substantial repertoire of concert music in the classical idiom for the members of the saxophone family.

Here is a video of Charlie Parker, the all-time master of the alto saxophone. King Curtis was a legendary tenor sax man - watch him playing Memphis Soul Stew with the Kingpins. Of the small number of solo artists who play the baritone sax, Gerry Mulligan stands out; here he is playing Moonlight in Vermont.

In Washington DC, we are forunate to have an abundance of good sax players. Recently, a "Three Tenors" concert was held, featuring DC's masters of the tenor saxophone, Don Lerman, Chris Watling and Bruce Swaim. A fourth (Charlie Hubel) was scheduled to attend but got snowed in. Here are the Three Tenors and Henri Selmer's Patent on a valve modifaction for the Tenor sax.


Don Lerman, Chris Watling Bruce Swaim   Sax Mouthpiece, Patent 1789369   Selmer Saxophone Patent 2,151,337
The Three Tenors: Don Lerman, Chris Watling and Bruce Swaim
Selmer Sax Valve PatTARGET = "NEW"ent 2,151,337 and Mouth piece Patent No. 1,789,639
Click to Enlarge

Click here if you want to learn how to get Free Patent Drawings
Accordion

"What's this?", you say, "the accordion has no place in Swing Music!" Au Contraire, there are several artists, local and international who have contributed their distinctive accordion sound to swing. At the top is Clifton Chenier, the master of zydeco. It is hard to forget the incredible Flaco Jimenez, the master of South Texas conjuto, sepecially his work with Ry Cooder on "He's Got to Go". Locally, we have Chris Watling of the Grandsons who occasionaly perks up a number with his accordion. In Pittsburgh, the Mystic Knights of the Sea join in ensemble for their Power Polka. However, Bill Haley and the Comets, the group that ignited the Rock'n'Roll craze, featured an accordion. You can watch the squeeze-box in action in this clip of "Rock Around the Clock". However, the accordion is not without its detractors. My parents used toencourage my musical studies by saying: "If Mr. Levine says that your sax playing is bad, you'll have to study accordion." Gary Larsen echoes this sentiment.


Bill haley, the Comets and the Accordion   Gary Larsen Welcome to Heaven/Hell

The Accordion in Popular Culture
Bill Haley, the Comets and the Accordion
Gary Larsen's Take on the Accordion
Click to Enlarge


The accordion is a portable box-shaped musical instrument of the hand-held bellows-driven free-reed aerophone family, sometimes referred to as a squeezebox. A person who plays the accordion is called an accordionist. It is played by compressing or expanding a bellows, while pressing buttons or keys, causing valves called pallets to open which allow air to flow across strips of brass or steel called reeds that vibrate to produce sound inside the body.


C. Farny Accordion Design Patent D111486   J. Vassos Accordion Design Patent D111555

The Accordion, Embellished in All Its Glory
C. Farny Accordion Design Patent D-111,486
J. Vassos Accordion Design Patent D-111,555
Click to Enlarge

Click here if you want to learn how to get Free Patent Drawings

The instrument is sometimes considered a "one-man-band", as it needs no accompanying instrument; the performer normally plays the melody on buttons or keys on the right-hand manual, and the accompaniment—consisting of bass and pre-set chord buttons—on the left-hand manual. It is often used in folk music in Europe, North America and South America. It is commonly associated with busking. Some popular music acts also make use of the instrument. Additionally, the accordion is sometimes used in both solo and orchestra performances of classical music. The oldest name for this group of instruments is actually "harmonika", from the Greek 'harmonikos', meaning 'harmonic, musical'. Today, native versions of the name "accordion" are more often used - it is a reference to the type of accordion patented by Cyrill Demian, which concerned "automatically coupled chords on the bass side".

Here is a great video of Flaco Jimenez, Freddy Fender and Willie Nelson performing together.

Acoustic (Grand) Piano

The piano is a musical instrument played by means of a keyboard that produces sound by striking steel strings with felt covered hammers. The hammers immediately rebound, allowing the strings to continue vibrating at their resonant frequency. These vibrations are transmitted through a bridge to a soundboard that amplifies them.

The piano is widely used in Western music for solo performance, ensemble use, chamber music, and accompaniment. It is also very popular as an aid to composing and rehearsal. Although not portable and often expensive, the piano's versatility and ubiquity have made it one of the most familiar musical instruments. It is sometimes classified as both a percussion and a stringed instrument.

The word piano is a shortened form of the word pianoforte, which is seldom used except in formal language and derived from the original Italian name for the instrument, clavicembalo [or gravicembalo] col piano e forte (literally harpsichord with soft and loud). This refers to the instrument's responsiveness to keyboard touch, which allows the pianist to produce notes at different dynamic levels by controlling the speed with which the hammers hit the strings.

From a rock and roll standpoint, the piano means Jerry Lee Lewis. In DC, we have a star named Blair Carman who is the nearest thing to a clone of Jerry lee. You can Watch Blair Carman and the Bellview Boys do the Killer's Breathless.


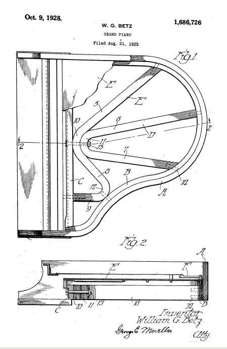
Blair Carman   Grand Piano Patent 1686726
Blair Carman
Grand Piano Frame Patent No. 1,686,726
Click to Enlarge

Click here if you want to learn how to get Free Patent Drawings
Electric and Electronic Pianos

An electric (or electro-acoustic) piano is a small with amplification devices to produce greater volume, akin to the amplified acoustic guitar. They had an advantage of being quite compact and were very attractive to the rather small houses of the period. One of the most beautiful of these is the Storytone Piano. Here is a picture of a Storytone piano at the 1939 World's Fair as well as a Storytone in the home of Paul, one of our readers. This is an extremely rare and historically important instrument. The Storytone piano was built in 1939 in a joint venture between Story and Clark and RCA - the piano has normal strings and action but no soundboard - the sound is amplified by pickups and a speaker system making it the world's first practical electric piano. The sound is very beautiful considering its design during the infancy of amplified instruments. The design complements the early TV sets that were shown and the two constitute a portrait of the Future of home entertainment. (Our vintage television page has more details) The Storytone Piano was made famous by artist Earl Hines. Note the similarity to the Zaiser design patent shown below.

Storytone Piano at the World's Fair   Paul's Storytone Piano

The Storytone Piano at the Fair and in Paul's Living Room
Click to enlarge any photo

Electric Piano Patent D146243
Will Zaiser Design Patent D146,243
Click to Enlarge

Click here if you want to learn how to get Free Patent Drawings

An electronic piano is a keyboard instrument designed to simulate the timbre of a piano (and sometimes a harpsichord or an organ) using analog circuitry. Electronic pianos work similarly to analog synthesizers in that they generate their tones through oscillators, whereas electric pianos are mechanical, their sound being electrified by a pickup.

Electronic pianos were first introduced by Wurlitzer in the late 1950s, more portable versions followed in the early 60s. Ray Charles brought it into prominence with "What I'd Say." The Fender Rhodes was created to emulate it. Wurlitzer made these into the 1980's, and many of them are still in use. There is a big restoration market for them currently. Other electronic pianos date from the 1970s and were made in Italy, although similar models were made concurrently in Japan. An exception is the range of instruments made by RMI in the USA from 1967 to approximately 1980, which became one of the more popular electronic pianos used by professional musicians. Most electronic pianos (including the RMI) are not velocity sensitive, in that they do not vary their volume based on how hard or soft the keys are played, like an organ.

Electronic pianos became less popular in the 1980s when the digital piano and polyphonic synthesizer became available and affordable enough for both professional and home use as an inexpensive, smaller and lighter alternative to an acoustic piano. The triumph of the synthesized piano first came in 1982, with the development of the Kurzweil K250; today, synthesized pianos have attained a remarkable level of realism.

John Cocuzzi is one of DC's best keyboard (and vibraphone) men. You can watch him playing St. James Infirmary at the Sacramento Jazz Jubilee.


John Cocuzzi   Electronic Piano Patent 2881651

John Cocuzzi and His Father Frank on Drums

Clifford Andersen Patent No 2,881,651
Click to Enlarge

Click here if you want to learn how to get Free Patent Drawings

Hammond Organ

The Hammond organ was invented by Laurens Hammond in 1929. It was originally sold to churches as a lower-cost alternative to the wind-driven pipe organ, but by the 1960s and 1970s, it had become standard keyboard instrument for jazz, blues, rock, and gospel music.

The original Hammond organ used additive synthesis of waveforms from harmonic series made by mechanical tonewheels which rotate in front of electromagnetic pickups. The component waveform ratios are mixed by sliding drawbars mounted above the two keyboards. Although many different models of Hammond organs were produced, the Model B-3 is most well-known. In the late 1960s and throughout the 1970s, the overdriven sound of B-3 was widely used in progressive-rock and blues-rock groups, most notably played by Al Kooper and Garth Hudson. Although the last electromechanical Hammond organ came off the assembly line in the mid-1970s, thousands are still in daily use. In the 1980s and 1990s, musicians began using electronic and digital devices to imitate the sound of the Hammond, because the vintage Hammond organ is heavy and hard to transport. By the 1990s and 2000s digital signal processing and sampling technologies allowed for better imitation of the original Hammond sound.

Here in DC, Mark Jefferson of The Fabulettes -- He owns an A-100, the home version of the B-3. He has stopped lugging it along and has moved up to a Hammond XB-2 that sits upon a Wurlitzer 200-A electronic piano. He does haul his Leslie Speaker to gigs. Watch Mark Playing for The Fabulettes.

Speaking of Hammond Organs and Leslie Speakers, here's about the best track laid down in the 1960s: Al Kooper and Mike Bloomfield doing Season of the Witch.


Mark Jefferson of The Fabulettes    Hammond Organ Patent 1702773   Leslie Speaker Patent 3058541

Mark Jefferson of the Fabulettes
Laurens Hammond's 1929 Patent 1,702,773
Don Leslie's 1962 Patent 3,058,541
Click to Enlarge

Click here if you want to learn how to get Free Patent Drawings
Wurlitzer 1015 Jukebox

When there's no live band, you can always "Throw a Nickel in the Record Machine."

Shortly after WWII (when wartime restrictions on building materials were removed), the Wurlitzer Company introduced the Model 1015 Jukebox with great success, saving the company from near-bankruptcy brought on by the Depression. The 1015 pushed Wurlitzer forward as the leader of jukebox manufacturing, with 56,000 units being sold in less than 2 years. This was the Golden Age of jukebox production. The 1015 wasn't just a huge hit in the United States, but also appeared anywhere Americans went, following GIs all over the globe.

Also called the "1015-Bubbler", this juke is arguably the most popular jukebox of all time. It was designed by Paul Fuller (who was with the Wurlitzer Company from 1935-1948), giving the 1015 an upbeat Art Deco look as contrasted with the somber "gothic" or "cathedral" look of the Depression. With its illuminated, color-changing pilasters, 8 bubble tubes, shiny chrome and domed top, it is reflective of the positive, uplifted attitude of the post-war nation. The coin-operated 1015 plays 78-RPM records and has push-button Multi-Selector technology.

The model 1015 was produced from 1946 to 1947, and was so popular that many of them survived into into the 1950s; in fact, this creation of the 1940s is an icon of the sock-hop and rock'n'roll era. By 1954 the popular 45-RPM records induced the Wurlitzer factory to make conversion kits to adapt the 1015. In 1986 Wurlitzer celebrated the 40th anniversary of the 1015 by manufacturing it once again, marketing it as the "One More Time". It had the classic design of the 1015 with all the latest technology, including the ability to play CDs.

Through the years, there have been many Wurlitzer 1015s that appeared in background shots of TV shows and films like "Cheers", "Friends", "Back to the Future" and "On the Waterfront" to name a few.

Here is Frenesi as recorded by Artie Shaw playing on an original Model 1015 Jukebox; watch Les Paul's version of Nola playing on the same machine.


Wurlitzer Model 1015    Wurlitzer Model 1015    Wurlitzer Design Patent D146175
The Model 1015
Paul Fuller Design Patent D146,175
Click to Enlarge

Click here if you want to learn how to get Free Patent Drawings

Here are some other notable Wurlitzer jukeboxes.


Wurlitzer Model 24    Wurlitzer Model 24 Design Patent D111599

The Wurlitzer Model 24
Paul Fuller Design Patent D111,599
Click to Enlarge

Click here if you want to learn how to get Free Patent Drawings

First off, the Wurlitzer Model 24 - a design that was first offered in 1937. It was the first Wurlitzer model to offer 24 selections instead of 12, an innovation that shook the industry where "12 is enough" was a maxim. This was also the first jukebox to incorporat illuminated plastics into its design. The company's transition from heavy wooden cabinets to a bright and modern deco style helped to establishe Wurlitzer's pre-eminenence in the coin-operated phonograph industry.


Wurlitzer Model 51    Wurlitzer Model 51 Design Patent D111598

The Wurlitzer Model 51
Paul Fuller Design Patent D111,598
Click to Enlarge

Click here if you want to learn how to get Free Patent Drawings

Wurlitzer manufactured small "table model" jukeboxes for establishments with limited space. Above is the Wurlitzer Model 51, the rarest of all Wurlitzer table models, because it was the only one made without illuminated plastics. It was manufactured in 1937 and reflects the early 30s pre-light-up design. It was probably intended as an "economy" model.

Counter for JUST THIS PAGE
Counter for the ENTIRE WEBSITE




Home | About Lindy | 1940s Collectibles | Upcoming Events | Vintage Clothing
The Guide - Establishments - Travel - Accessories
Music | Links | Photo Gallery | Extras | Contact