Bill Effinger Button
Bill Effinger, Model Pioneer
Hi Lindy Hoppers!!!
Founder of Berkeley Models

Welcome Search Engine Folks
Balsa Model Airplanes  facebook signup graphic
Join Us on Facebook

Tribute to Bill Effinger


Blank slug

Our treatment of model aircraft began as an account of my trials and tribulations in building a 1948 airplane model kit. Since then, we have developed a wealth of information about model airplanes during the "Air Age". On November 25, 2009 we found that there was so muck information that the page would not download in a reasonable amount of time. Thus, we divided the the smaller into four segments, corresponding to the four boxes or "buttons" below. This page is about "Berkeley Bill" Effinger. If you were looking for some other model airplane topic, click on one of the buttons below to go there.

This is Bill Effinger's page, click on a Button to go someplace else

Cleveland Kits Page Button     Model Contests Page Button

 Tribute to Bill Effinger Page Button    Building the Navion  Page Button

go to the master list of Model Airplane News Covers

Click to look at all the covers of Model Airplane News from 1929-1969.


For those of you who don't like buttons, go to the analytical index to find just what you're looking for.

This is part of a general Retro Lifestyle/Swing Dancing website. We have a Guide to 1940s Treasures and a Swing Dance Calendar for Washington DC.. Please feel free to Contact Us if you'd like to comment on the golden age of balsa wood models.

On other pages, we have chronicled the rise and fall of the A.C. Gilbert Company, best known for Erector Sets and American Flyer trains. After the death of A.C. Gilbert, the founder, the company sank in a sea of red ink astirred up by corporate manipulation. The very last gasp of the Gilbert Company was in the area of gasoline powered Model Airplanes, possibly because some bright young man at an advertising agency thought of a tie-in to the company's American Flyer trains. In fact, the 1962 catalogue begins with Airplanes, relgating Erector sets and Trains to dead last.

 A.C. Gilbert Model Airplanes     A.C. Gilbert Model Airplanes     A.C. Gilbert Model Airplanes    A.C. Gilbert Model Airplanes

 A.C. Gilbert Model Airplanes     A.C. Gilbert Model Airplanes     A.C. Gilbert Model Airplanes

 A.C. Gilbert Model Airplanes     A.C. Gilbert Model Airplanes     A.C. Gilbert Model Airplanes

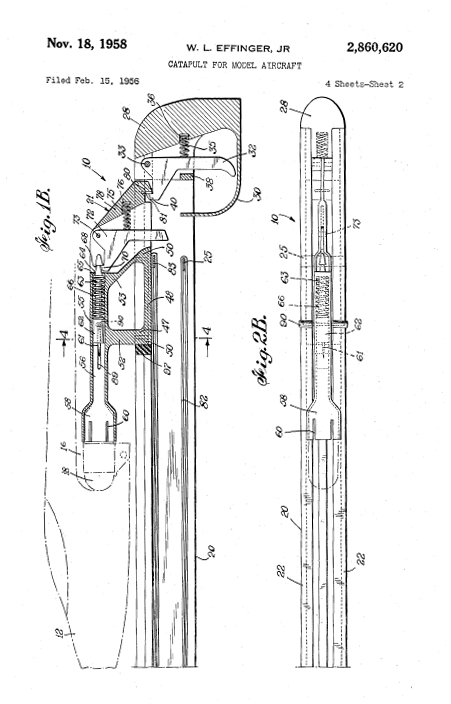
A.C. Gilbert Model Airplanes Plane-Away Catapult    Effinger Catapult Patent No. 2,860,620

A.C. Gilbert Model Airplanes
They even made the Plane-Away Catapult
Effinger Catapult Patent No. 2,860,620
Click to Enlarge

Click Here to learn how to get free patent diagrams

There was some reasonable hope that this strategy would succed, since the company had retained William L Effinger Jr., founder and President of the legendary Berkeley Models. Like A.C. Gilbert, Effinger turned his lifelong passion into a successful business. He was born May 29, 1917, in the Bronx. As a boy, he frequented the Curtiss factory in Garden City and the Army Air Corps training fields (Roosevelt, Curtiss and Mitchell.) As such, he became intimately familiar with the details of airplane construction and became well-known as a model-builder. He founded Berkeley Models (located on Berkeley Place in Brooklyn) in the middle of the Depression.

 Photo of William Effinger, Jr     Bill Berkeley alter ego of William Effinger, Jr

William Effinger, Jr and his alter ego Bill Berkeley
Click to Enlarge

The first Berkeley kit (The Buhl "Pup") was produced in 1934 and was an instant hit. In the 1950s, Berkely became famous for the "Zilch" a landmark control-line stunt/combat model.

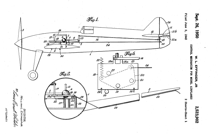
 Berkley Models Buhl Pup Model Airplanes    Berkley Models Zilch Model Airplanes    Berkeley Zilch Model  Patent No,2523902    Berkeley Zilch Model  Patent No 2523902



The Buhl "Pup" and "Zilch"
Effinger patent for the Zilch, No 2,523,902 Click to Enlarge
Click Here to learn how to get free patent diagrams

During WWII, Bill served in the South Pacific and even created a radio-controlled SBD for "hazardous missions" After World War II Berkeley produced new scale and Control Line kits. In the 1930s and 1940s Berkeley cement (lightweight high strength glue) was a popular item. Silkspan, the covering paper that is still widely used today, was introduced by Berkeley in the late 1930s.

Berkeley Sin-Jet made for jetex 1952-1954    Effinger Jet-rocket patent No.2,771,212

Experiments with Jet Power
Effinger Jet-rocket patent No.2,771,212
Click to Enlarge

Click Here to learn how to get free patent diagrams

In the late 1940s and mid 1950s, jet power was all the rage in the model world. A small British company produced the Jetex reusable "jet engine" -- it was really a small low-power solid-fuel rocket. Many modelers wanted to step up into the world of jet power and for a time, Jetex was the standard, although there were problems with reliability and standardization. It appears that Mr. Effinger both designed models to use Jetex and also invented an improvement on that system.

In the mid-1950s Bill sold the assets of Berkeley. In 1959, he returned to New York and became a project engineer for A.C. Gilbert Company. He developed the "American Flyer" line of ready-to-fly plastic models.

 A.C. Gilbert Model Airplanes     A.C. Gilbert Model Airplanes    A.C. Gilbert Model Airplanes

The Gilbert "Thunderhead" Model Airplane Engine
Click to Enlarge

The AC Gilbert American Flyer 0.11 "Thunderhead" model airplane engine was was the work of famed model designers Bob Holland and Hi Johnson. It was manufactured in the early 60's for the AC Gilbert company, This is a very good model airplane engine and is fairly easy to find as a large number of engines were left unsold in the Gilbert warehouse and passed around the chain of businesses who speculate in these items. As you can see below, Mr. Effinger held some of the key patents for the "Thunderhead."

A.C. Gilbert Model Airplanes     Effinger Patent for the Thunderhead Engine No.  3,064,309     Effinger Patent for the Thunderhead Engine No.  3,064,309

Effinger Patent for the "Thunderhead" Engine No. 3,064,309
Click to Enlarge
Click Here to learn how to get free patent diagrams

The only trouble is that if they sit long, the lubricant used in their manufacture will get hard. A considerable amount of time and energy are required to recondition a "Thunderhead". If you are buying one, make sure that the seller shows you that it is not just an inert piece of sculpture. The photo shows the original unsealed Gilbert hanging card with instructions on back, the .11 engine itself, an original Gilbert fuel tank and hose, extra glowhead, universal glowhead wrench, mufflers and screws (one short and one long as originally supplied by Gilbert to allow engine offset for control line operation), a spool of original control line thread, mounting screws, and one of the original Gilbert 7-3 pitch propellors. These propellors may have degenerated to the point that it is not a good idea to use one at 4,500 rpm, as it is likely to throw off "shrapnel".

 A.C. Gilbert Wing Thin Model Airplane

George Wanner Flexible wing kite patent No 2,537,560    Francis Rogallo felexible kite patent No. 2,546,078     Effinger Flexible Wing Model Patent No.3,153,877     Effinger Flexible Wing Model Patent No.3,153,877

The "Wing Thing" and Breakthrough Flexible Wing Patents
George Wanner flexible wing kite patent No 2,537,560
Francis Rogallo felexible kite patent No. 2,546,078
Effinger Flexible Wing Model Patent No.3,153,877
Click to Enlarge

Click Here to learn how to get free patent diagrams

While at Gilbert, Effinger collaborated with Henry Struck joined to develop the first ready-to-fly gas powered Flex-Wing airplane model. The patent rights for the Wanner Wing (also known as the NASA Rogallo Wing) were purchased by Gilbert and 200,000 Wing-Thing kits were produced using this concept. All modern parachutes and hang gliders stem from these patents. Bill Effinger shared a lot of joy and drive with A. C. Gilbert and created very high quality airplanes that are still desirable today. Unfortunately, the rest of the Gilbert company was rapidly being devoured by coroprate shenannigans. The Model Airplanes were the last high quality innovative product to emerge from the Gilbert company but it was too little too late.

Counter for the Entire Site (not just this page..)



Home | About Lindy | 1940s Collectibles | Upcoming Events | Vintage Clothing
The Guide - Establishments - Travel - Accessories
Music | Links | Photo Gallery | Extras | Contact