Model Airplane News
August, 1935


Model Airplane News Cover for August, 1935 by Jo Kotula US Army Pitcairn PA-33 Autogiro

US Army Pitcairn PA-33 Autogiro
Model Airplane News Cover Art for August, 1935
by Jo Kotula
The only autogyro to grace the cover of M.A.N.
Click to Enlarge


The Pitcairn YG-2 (PA-33) Autogyro was a tWo-place open-cockpit autogiro, a machine that uses the large unpowered rotors for lift and a motor driven propellor to provide forward motive power (thrust). It is similar to a helicopter in appearance, but the autogyro's rotor must have air flowing up and through the rotor disc in order to generate rotation. It can fly very slowly and land and take off in a very small space. Click here for the technical details of the autogyro.

 Popular Science Article will autogiro replace airplane

Popular Science weighs in...
From the March, 1931 issue
Click to Enlarge


At one time, the autogyro was thought to be the future of aviation, possibly even replacing the automobile. Trendy people were seen flying in autogyros and Harold Pitcairn even landed one on the front lawn of the White House. We found a fairly lengthy article about the Autogiro in Popular Mechanics.

 Popular Mechanics Article Missing Link in Aviation

The Missing Link in Aviation
From the September, 1938 issue of Popular Mechanics
Click here to download a complete copy of "The Missing Link in Aviation"
Click to Enlarge


They were used in the 1930s by major newspapers, and by the US Postal Service for mail service between the Camden, NJ airport and the top of the post office building in downtown Philadelphia, Pennsylvania (USA). Click here to download a complete copy of the March, 1931 article.

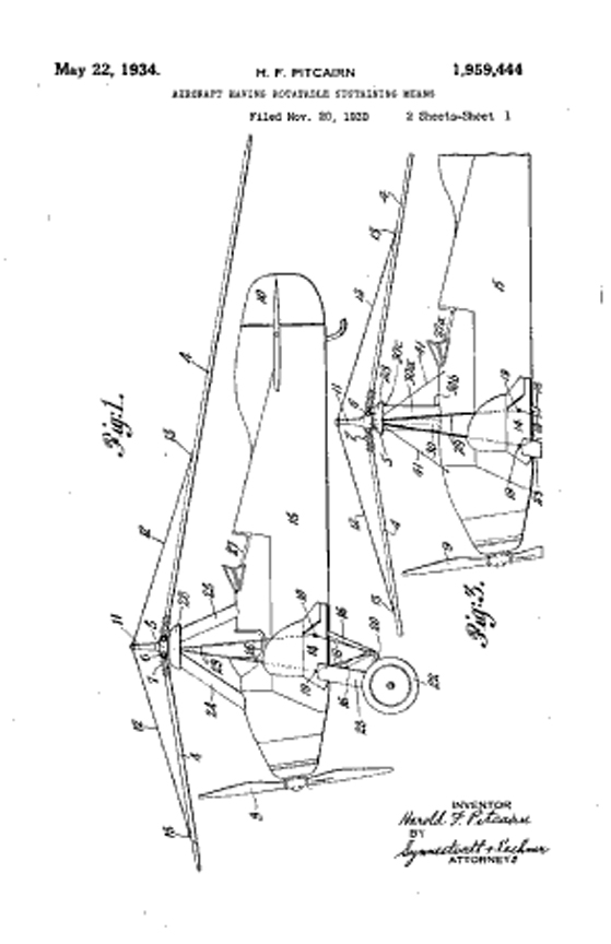
 The US Army PitcairnPA-33 Autogiro  Control Patent No. 1,959,444    The US Army PitcairnPA-33 Autogiro Autogiro  Control Patent No. 1,959,444     The US Army PitcairnPA-33 Autogiro Three view

Harold Pitcairn's Autogyro Patent
Patent No. 1,959,444, one of many
Click to Enlarge


The subject of the August, 1935 cover is the Pitcairn PA-33, a one-off design built for the U.S. Army by the Pitcairn Autogiro Company of Willow Grove, Pennsylvania. Harold Pitcairn had been involved with the autogyro from its invention by Juan de la Cierva, a spaniard. He took out numerous US patents related to solving a variety of propulsion and stability problems needed to bring the aircraft into the mainstream.

 The US Army PitcairnPA-33 Autogiro    The US Army PitcairnPA-33 Autogiro      The US Army PitcairnPA-33 Autogiro

Photos of the US Army Pitcairn PA-33 Autogiro
Click to Enlarge

The PA-33 had a fabric covered; welded steel tubing fuselage, with two seats. The rotors were fabric-covered metal framework. It had a fin, rudder and stabilizer but no elevators. The rotors could be folded to minimize storage space, possibly allowing the craft to be used from shipboard. All flight control was done by tilting the rotors. The plane was driven by a 420 hp radial engine, and had the capacity to lift 900 pounds which might be two observers, some cameras, and maybe a machine gun and some small bombs. The plane could cruise at about 140 mph and could reach 16,000 feet in altitude. At this speed, it would not be doing any dogfighting. The airrcraft was accepted for testing at Langley field. It holds the distinction as supporting the first successful bail-out from a rotary-winged aircraft. On March 30, 1936, pilot and engineer abandoned their Pitcairn PA-33 Autogiro when the rotor failed. The Autogiro crashed and burned in the Back River, but both men parachuted to safety. This ended the Army's experimentation with the autogyro. There are some photos of the PA-33, including one of the burned out wreck. There is no video of this particular autogyro, but here is some footage of an autogyro, the PA-18, that was contemporary with the PA-33:


Click Here for more information about the US Army Pitcairn PA-33 Autogiro.

go to the master list of Model Airplane News Covers

Click to go back and select another cover.




Counter for the Entire Site (not just this page..)


website counter



Home | About Lindy | Last Week's Reviews | Upcoming Events | 1940s Collecibles
The Guide - Establishments - Travel - Accessories
Music | Links | Photo Gallery | Extras | Contact