Model Airplane News
April, 1934


Model Airplane News Cover for April, 1934 by Jo Kotula Douglas DC-1 (and DC-2 and DC-3)

Douglas DC-1 (and DC-2 and DC-3)
Model Airplane News Cover Art for April, 1934
by Jo Kotula
Click to Enlarge


In the early 1930s, fears about the safety of wooden aircraft structures led many airlines and manufacturers to experiment with all-metal aircraft. The Boeing 247 (also discussed on our site) was one of the firt of these. At the time, United Airlines was part of the Boeing conglomerate. Howard Hughes' Transcontinental and Western Airways (TWA)looked to the Douglas Corporation for an effective competitor.

In 1933, the prototype DC-1 was rolled out featuring a distinctive tapered wing, retractable undercarriage, and two engines. It seated 12 passengers. TWA accepted the basic design and ordered 20, with more powerful engines and seating for 14 passengers. This version was known as the "DC-2" and further orders followed including European airlines such as KLM, LOT, Swissair, CLS and LAPE. A total of 156 DC-2s were built. Improvements in passenger capacity, speed and range were mad to the basic airframe, resulting in the famous DC-3 that had production in the thousands. In 2009, several airlines were still using DC-3s in regular passenger service.

Our review of Popular Mechanics from 1932-1939 found three wonderful articles about the "DC" series:

Popular Mechanics Article Douglas Tells the Secrets of Speed February 1935    Popular Mechanics Article Behind the Scenes in Aviation December 1938    Popular Mechanics Article Housekeeping in the Clouds November 1937

Douglas Aircraft in the Popular Press
(left) "Douglas Tells the Secrets of Speed" (February, 1935)
(middle)"Behind the Scenes in Aviation" (December, 1938)
(right) "Housekeeping in the Clouds" (November, 1937)
Click to Enlarge


For your reading pleasure, we have scanned these highly nostalgic articles and make them available for free download as ".pdf" files

  • Click here to download "Douglas Tells the Secrets of Speed"
  • Click here to download "Behind the Scenes in Aviation"
  • Click here to download "Housekeeping in the Clouds"

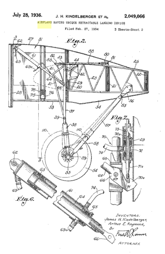
This marvelous airplane was designed by Arthur Raymond. Here are some representative patents that show the external configuration, the wing section and the innovative retracting landing gear.

Exterior of the Douglas DC-2, Design Patent D-94,427     Exterior of the Douglas DC-2, Design Patent D-94,427       Wing and Landing Gear of the Douglas DC-2, Patent No. 2,049,066     Wing and Landing Gear of the Douglas DC-2, Patent No. 2,049,066

Arthur Raymond Patents for the DC-2
Exterior, Design Patent D-94,427
Wing and Landing Gear Patent No. 2,049,066
Click to Enlarge


Here is a very nice video of a restored DC-2



Cleveland produced detailed models of BOTH the DC-2 and the DC-3. The large scale models are exceptionally detailed. A partial model of the DC-3 cockpit -- in amazing detail -- is on display at the National Air and Space Museum. This should be an inspiration to balsa modelers everywhere and is definitely worth a trip just to see it

Cleveland Model of the Douglas DC-2 Transport     Cleveland Model of the Douglas DC-2 Transport        Cleveland Model of the Douglas DC-2 Transport

Cleveland Model of the Douglas DC-2 Transport

Click to Enlarge


You can buy the plans and patterns that will enable you to make this model right now. Click Here to go to the exact location on the Cleveland Website to get them.

Cleveland Site Location of Douglas DC-2 Transport   

The Douglas DC-2 on the Cleveland Site

Click Here for more information about the Douglas DC-1, DC-2 and DC-3.
go to the master list of Model Airplane News Covers

Click to go back and select another cover.




Counter for the Entire Site (not just this page..)


website counter



Home | About Lindy | Last Week's Reviews | Upcoming Events | 1940s Collecibles
The Guide - Establishments - Travel - Accessories
Music | Links | Photo Gallery | Extras | Contact