Model Airplane News
May, 1969


Model Airplane News Cover for May, 1969 by Tom Wilbur Curtiss NC-4 Atlantic Flying Boat

Curtiss NC-4 "Atlantic Flying Boat"
Model Airplane News Cover Art for May, 1969
by Tom Wilbur, USN
Click to Enlarge


The NC-4 was a Curtiss NC flying boat, designed by Glenn Curtiss and manufactured by Curtiss Aeroplane and Motor Company. In May 1919 the NC-4 became the first aircraft to fly across the Atlantic Ocean, making the crossing as far as Lisbon in 19 days, with multiple stops along the way. The accomplishment was largely eclipsed in public memory by the first non-stop trans-Atlantic flight, lasting 15 h 57 min, made by British pilots Alcock and Whitten-Brown two weeks later.

 Curtiss NC-4 Flying Boat

 Transoceanic route taken by the NC-4

Curtiss NC-4 Flying Boat
Warships posted every 50 miles...
Click to Enlarge


The US Navy Transatlantic flying expedition began on May 8. The NC-4 was originally in the company of two other NC Flying Boats, the NC-1 and the NC-3 (NC-2 having been 'cannibalised' for spares to repair NC-1 before leaving New York). They left Naval Air Station Rockaway, New York, with intermediate stops in Cape Cod, Massachusetts, Chatham, Massachusetts and Halifax, Nova Scotia before reaching Trepassey, Newfoundland on May 15, 1919. Eight US Navy ships were stationed along the eastern seaboard to help the flying boats to navigate and to assist them if required.

On May 16 they left for the longest leg of their journey, to the Azores, with a further twenty-two US Navy warships stationed at 50 mile (80 km) intervals along the route. These 'station' ships were brightly illuminated, had their searchlights on and fired flares to help the crews to keep to the intended route. The NC-4 reached Horta in the Azores on the following afternoon, 1,200 miles and 15 hours 18 minutes later, having encountered thick fogbanks along the route; the NC-1 and the NC-3 were both forced to land at sea due to rough weather; the crew of the NC-1 was rescued by the Greek freighter Ionia, the NC-1 sinking three days later. the crew (including future Admiral Marc "Pete" MIscher) of the NC-3 managed to taxi their flying-boat to the Azores, where it was taken in tow by a US Navy warship.

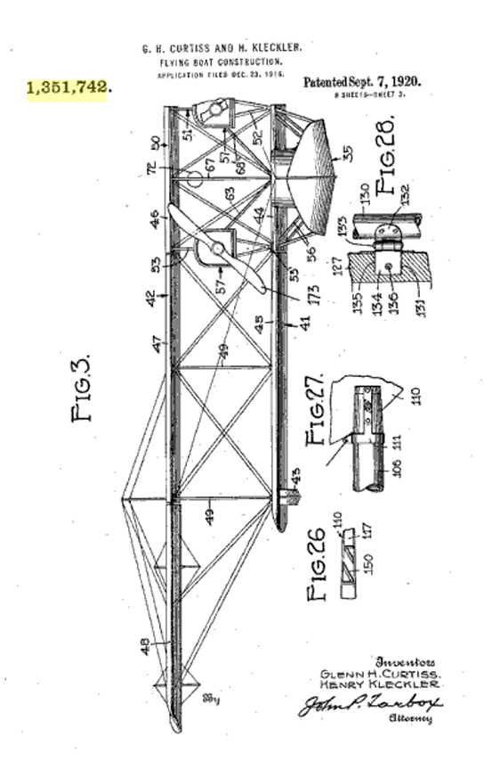
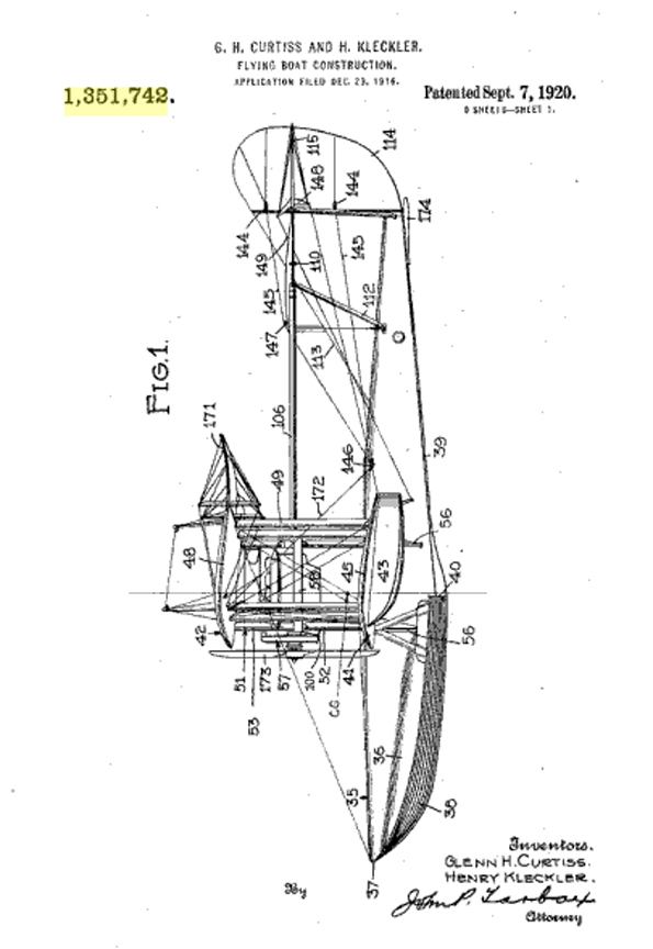
Curtiss NC-4 Flying Boat Patent No. 1,351,742      Curtiss NC-4 Flying Boat Patent No. 1,351,742

Curtiss NC-4 Technical Details
Patent No. 1,351,742
Click to Enlarge


Click Here for more information about the Curtiss NC-4 Flying Boat.

go to the master list of Model Airplane News Covers

Click to go back and select another cover.




Counter for the Entire Site (not just this page..)


website counter



Home | About Lindy | Last Week's Reviews | Upcoming Events | 1940s Collecibles
The Guide - Establishments - Travel - Accessories
Music | Links | Photo Gallery | Extras | Contact