Model Airplane News
April, 1954


Model Airplane News Cover for April, 1954 by Jo Kotula Douglas F4D Skyray

Douglas F4D "Skyray"
Model Airplane News Cover Art for April, 1954
by Jo Kotula
Click to Enlarge


The Douglas F4D Skyray was a carrier-based fighter/interceptor. Although it was in service for a relatively short time and never entered combat, it was notable for being the first carrier-launched aircraft to hold the world's absolute speed record and was the first Navy and Marine Corps fighter capable of exceeding Mach 1 in level flight.

 The Douglas F4D Skyray    The Douglas F4D Skyray      The Douglas F4D Skyray

Douglas F4D "Skyray"
Click to Enlarge

The Skyray was designed to meet a Navy requirement issued in 1947 for a fighter aircraft capable of intercepting and destroying an enemy aircraft at an altitude of 50,000 ft within five minutes of the alarm being sounded.

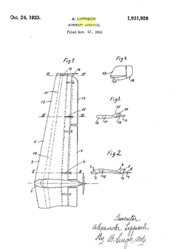
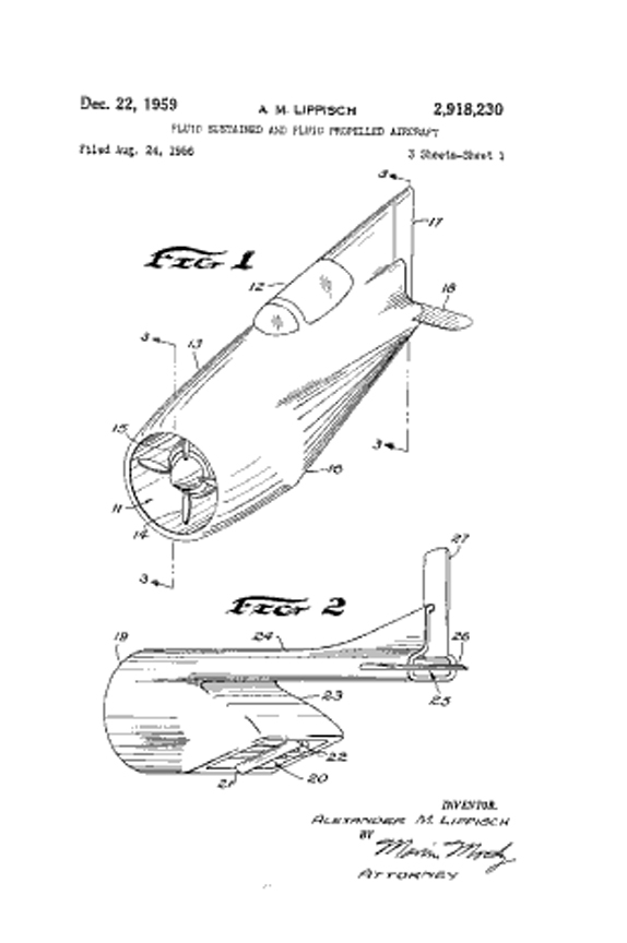
 Alexander Lippisch Aircraft Design Patent No D-170,090     Alexander Lippisch Airfoil Patent No 1,931,928     Alexander Lippisch Anodyne Patent No 2,918,230      Alexander Lippisch P-13b the coal fired airplane

Works of Alexander Lippisch
Aircraft Design Patent No D-170,090
Airfoil Patent No 1,931,928
Anodyne Patent No 2,918,230
P-13b: the coal fired airplane
Click to Enlarge


The Navy also wanted an aircraft which followed the research of the aerodynamicist Alexander Lippisch, one of the German scientists who was "taken" to the to the U.S. after World War II. While employed by the Reich, Lippisch once designed a coal-fired airplane.. After he became a good law-abiding American citizen he patented a wide array of interesting aerodynamic devices. He is widely acclaimed as the developer of the delta wing concept. Herr Lippisch went to the great bier stube in the sky in 1973 after a lifetime of service to the volk and then just us plain folks.

The Skyray was designed exclusively for the high-altitude interception role and was unsuited to the multi-mission capabilities soon in demand, so it had a short life in Navy and Marine Corps service, the last aircraft being withdrawn from service in 1964. Four aircraft were used by NASA until 1969. Under the 1962 United States Tri-Service aircraft designation system, the F4D-1 was redesignated the F-6A. The F4D (old designation) should not be confused with the F-4D (new designation) - the latter being the "D" variant of the McDonnell F-4 Phantom II.

The Douglas F4D "Skyray" is in this compilation video:



In addition to the cover of Model Airplane News, this airplane was also featured in the WINGS "Friend or Foe" trading card series of the early 1950s

 Card 046 of the Wings Friend or Foe series The Douglas F4D Skyray

Trading card representation of the Douglas F4D "Skyray"
Click Here to see all 200 cards in the series
Click to Enlarge


Jo Kotula revisited this airplane in the "Box Art" for the Aurora kit for the Douglas F4D "Skyray".

Aurora plastic model kit for the Douglas F4D Skyray box art by Jo Kotula

Aurora Plastic Model of the Douglas F4D "Skyray".
Artwork by Jo Kotula
Click to Enlarge


Click Here for more information about the Douglas F4D "Skyray".

go to the master list of Model Airplane News Covers

Click to go back and select another cover.




Counter for the Entire Site (not just this page..)


website counter



Home | About Lindy | Last Week's Reviews | Upcoming Events | 1940s Collecibles
The Guide - Establishments - Travel - Accessories
Music | Links | Photo Gallery | Extras | Contact