Model Airplane News
December, 1952


Model Airplane News Cover for December, 1952

Model Airplane News Cover for December, 1952
Click to Enlarge

This month's cover shows a young man with a very nice model of the ERCO Model 415 "Ercoupe" (no details provided in the magazine.)

The ERCO Ercoupe is a low wing monoplane first manufactured by the Engineering and Research Corporation (ERCO) shortly before World War II, production continued after WWII by several other manufacturers until 1967. It was designed to be the safest fixed-wing aircraft that aerospace engineering could provide at the time, and the type still enjoys a very faithful following today.

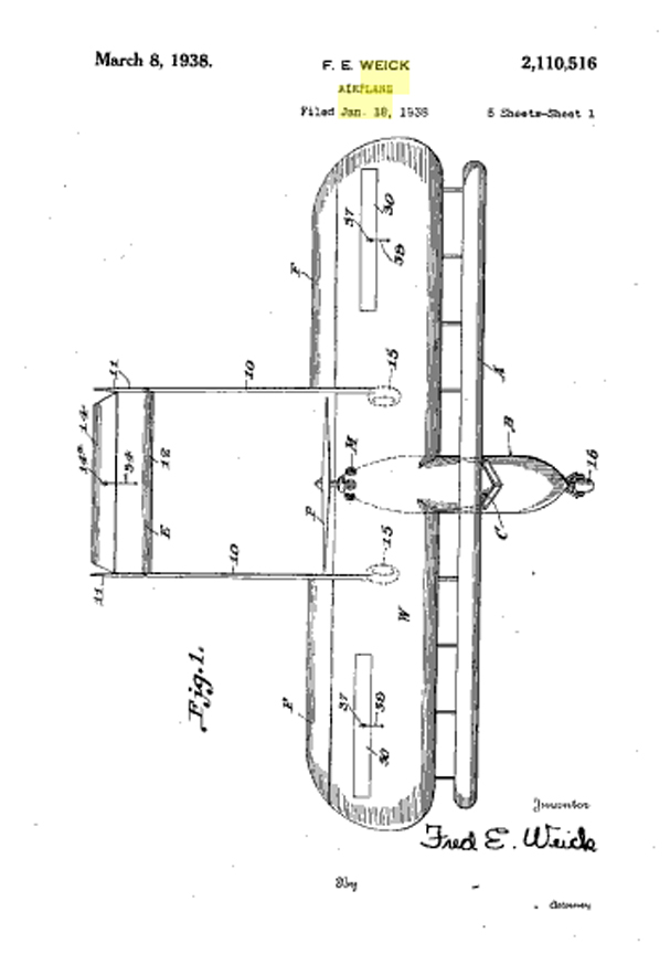
  Fred Wieck Design for an Ultra-Safe Airplane Patent No 2,110,516     Fred Wieck Design for an Ultra-Safe Airplane Patent No 2,110,516     Fred Wieck

Fred Wieck's Design for an Ultra-Safe Airplane
Patent Number 2,110,516
Click to Enlarge


In late 1931, aeronautical engineer Fred Weick was the assistant chief of the aeronautics division of the National Advisory Committee for Aeronautics (NACA). A group of co-workers and he designed and assembled an experimental aircraft in 1934 with a group of his colleagues. Responding to a Bureau of Air Commerce sponsored design competition to build an easy-to-fly, safe aircraft, Weick and his friends worked on the project in their spare time and paid for it themselves. The test aircraft built by Weick, known as the W-1, featured tricycle landing gear, a high parasol wing, and a pusher propeller configuration. The single engine was used for economy of operation and the tricycle gear was intended to prevent “nose over” landing accidents where the aircraft would flip over on its nose.

 Erco Ercoupe

 Erco Ercoupe     Erco Ercoupe Tri-view     Erco Ercoupe advertisement

ERCO Model 415 "Ercoupe"
Click to Enlarge

The Ercoupe contained many innovative design features that produced an aircraft that was safe, easy to fly, and certified by the Civil Aeronautics Administration (CAA.) The first experimental model of the Ercoupe was test flown at College Park airport in 1937. The Ercoupe had no dangerous stall characteristics. A placard, which was the first for any aircraft, was allowed to be placed proudly on the instrument panel reading: "This aircraft characteristically incapable of spinning." Targeted at the non-professional pilot, it was inexpensive to operate and maintain. The Ercoupe was able to use small airfields. Nose-wheel steering made taxiing almost like driving an automobile.

Here is a video that shows more details about the Ercoupe.



Click here for more information about the Ercoupe.

go to the master list of Model Airplane News Covers

Click to go back and select another cover.




Counter for the Entire Site (not just this page..)


website counter



Home | About Lindy | Last Week's Reviews | Upcoming Events | 1940s Collecibles
The Guide - Establishments - Travel - Accessories
Music | Links | Photo Gallery | Extras | Contact