Model Airplane News
January, 1951


Model Airplane News Cover for January, 1951 by Jo Kotula Fletcher FL-23

Fletcher FL-23
Model Airplane News Cover Art for January, 1951
by Jo Kotula
Click to Enlarge


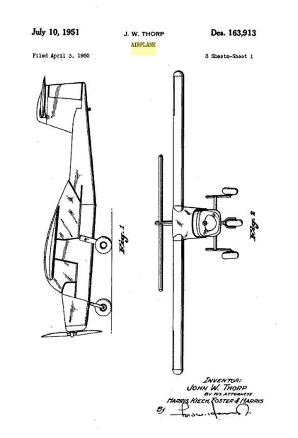
The Fletcher FL-23 was an American two-seat liaison or observation aircraft designed and built by the California-based Fletcher Aviation Corporation. The airplane was designed by John Thorp, whose Sky Skooter was featured on the August, 1947 issue of M.A.N. It was entered into a competition and lost against the Cessna 305A as a liaison or observation aircraft for the United States Army The FL-23 prototype was designed and built as a private venture, it was a high-wing cantilever monoplane with an all-moving tailplane mounted at the top of the fin. It had a fixed tricycle landing gear and powered a 225-hp (168 kW) Continental E225 piston engine. It had room for a pilot and observer in tandem; the observer had an unusual acrylic plastic enclosure to give an all-round visibility.

 The Fletcher FL-23

Fletcher FL-23

 The Fletcher FL-23 Thorp Design Patent D-163,913    The Fletcher FL-23 Thorp Design Patent D-163,913     Cessna L-19 O-1 Bird Dog

Thorp/Fletcher Design and the Winner
Design Patent D-163,913
Click to Enlarge


The US Army issued the specification for a two-seat liaison and observation monoplane and the prototype was entered into the competition. During trials the aircraft was badly damaged in a flying accident when it lost its tail, and was withdrawn from the competition. The competition was won by the Cessna 305A which became the L-19 (O-1) Bird Dog.

Click Here for more information about the Fletcher FL-23.

go to the master list of Model Airplane News Covers

Click to go back and select another cover.




Counter for the Entire Site (not just this page..)


website counter



Home | About Lindy | Last Week's Reviews | Upcoming Events | 1940s Collecibles
The Guide - Establishments - Travel - Accessories
Music | Links | Photo Gallery | Extras | Contact