Model Airplane News
March, 1949


Model Airplane News Cover for March, 1949

Model Airplane News Cover for March, 1949
The "Infant Torpedo Engine"
Click to Enlarge


In doing this page, I wondered why M.A.N. departed from the long tradition of cover paintings by Jo Kotula -- every kid in the country wanted to see his favorite plane roaring out of the clouds and waited for his copy of M.A.N. to come (folded neatly in half) in the mail. You may have noticed that beginning in September, 1948 Kotula's work was replaced by photographs for a few issues. As a kid, I took everything in Model Airplane News as the Gospel. So did every other person that I knew who was into model airplanes. This was before I had heard the term "product placement". It just happens that the photographs on the cover were about people who had things to sell. The March, 1949 cover was fairly seminal in that it featured a young boy fiddling around with a real gas engine! Hitherto, gas engines were strictly in the province of Adults. All of a sudden, M.A.N. shows a boy fueling up his gas-powered Stinson "Reliant", ready to hook it up to a dry cell and fly -- implying that it is just fine for the boy to operate the thing without Dad or the Scoutmaster around. (On the other hand, I can't figure out why he is fueling the thing inside...)

March 1949 Model Airplane News Plans for The Shrimp designed for the K-B Infant Torpedo Engine    March 1949 Model Airplane News Plans for The Shrimp designed for the K-B Infant Torpedo Engine    March 1949 Model Airplane News Plans for The Shrimp designed for the K-B Infant Torpedo Engine

Model Airplane News Plans for The Shrimp
designed for the K&B Infant Torpedo Engine
Click to Enlarge


It turns out that the cover is an illustration of a model completed from plans contained within the very same issue of M.A.N. -- noteworthy because of the small size. In fact, the plane called "The Shrimp" was designed specifically to use a new small displacement engine called the "K&B Infant Torpedo", as shown below:

 K&B Infant Torpedo Model Airplane Engine    K&B Infant Torpedo Model Airplane Engine      Kenneth Howie Glow Plug Model Airplane Engine Patent No 2,138,301

The Famous K&B "Infant Torpedo" Engine
Kenneth Howie Patent No. 2,138,301
For scale, the propellor is about 5 inches in diameter
Click to Enlarge


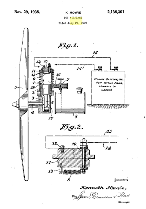
The earliest glow plug engine patent that I have been able to find is No. 2,138,301 by Kenneth Howie in about 1937. There are probably earlier patents, but this will suffice to explain the principle of the engine and the improvements made by K&B.

For an airplane to fly, lift must be greater than the weight of the structure. At speeds appropriate to models, lift is proportional to wing area. Most model engines of the 1930s were fairly large (and heavy) and hence models had to be large as well, with wingspans of three-to-five feet or more. Here is a video of some of these models:



A large model is expensive, hard to transport, and requires a large area for flying. Mr. Howie's idea was based on keeping the engine,per se the same size and eliminating the weight of the ignition system (spark plug, battery,timer, etc) and using a two cycle system. (Click here to download a ".pdf" of Mr. Howie's patent for more details on the workings of the engine.) The main difference is in the use of a glow plug, a coil of wire that is initially heated by an external source (a battery) but which remains hot due to combustion in the cylinder. The battery may be detached and the engine will keep running as long as there is fuel. Mr. Howie presents data to indicate that this system would reduce weight by 67%.

Indeed, Mr. Howie was correct and starting in the mid 1930s, the two-cycle glow plug engine became the standard for model aviation. These engines were still fairly big (0.35 cu. in displacement and larger) because production technology of the time could not mass-produce tiny engines. The only small displacement engine on the market was the Atwood "Torpedo" at 0.049 cu. in. This engine suffered from power problems due to fuel leakage in the cylinder sleeve -- a problem that could only be solved by better production techniques. World War II put an end to model engine production and the small displacement engine went on hiatus for the duration.

This brings us to K&B, or Lud Kading and John Brodbeck who were temoprarily out-of-work machinists with an interest in model airplanes. On the positive side, their immediate prior experience had been in making extremely precise parts for the Manhattan Project. Brodbeck had, in fact, souped up "Torpedo" engines before the war and had s solution to the production problem. He and Kading bought the Torpedo name and set up shop in a garage, producing the "Infant Torpedo" of 0.020 cu. in. displacement. This engine was so small that 4 3/4 inch propellors were not available and K&B had to manufacture their own.

Ad for the K-B Infant Torpedo in Model Airplane News    Ad for the K-B Infant Torpedo in Model Airplane News

Early Ads for the K&B Infant Torpedo
They eventually caught up with the orders...
Click to Enlarge


Within a month, they had nearly 300,000 orders for engines. This made it possible to use gas power on small airplanes -- just the thing to fit in a car or haul on the subway. The small engine was not a "finger buster" and could be trusted to younger kids, all of which contributed to the postwar boom in model aviation. Click here for the full K&B story.

K&B engines are still manufactured in the USA by the Model Engine Company of America. The "standard" small engine is now 0.049 cubic inches. K&B engines are extremely collectable and fetch high prices.

**************

ADDITIONAL NOTE

At the bottom of the cover, the reader is informed that this issue contains a "Scale Controliner Miss Los Angeles." This has nothing to do with weighing beauty queens - it is a reference to Larry Brown's Model B-2 racer that we have discussed in some detail in our treatment of the March, 1935 issue of Model Airplane News. To whet your interest, here are some photos:

The Brown B-2 Miss Los Angeles      The Brown B-2 Miss Los Angeles

Brown B-2 "Miss Los Angeles"
Click to Enlarge

go to the master list of Model Airplane News Covers

Click to go back and select another cover.




Counter for the Entire Site (not just this page..)


website counter



Home | About Lindy | Last Week's Reviews | Upcoming Events | 1940s Collecibles
The Guide - Establishments - Travel - Accessories
Music | Links | Photo Gallery | Extras | Contact