Model Airplane News
August,1938


Model Airplane News Cover for August,1938 by Jo Kotula Seversky Transoceanic Clipper

Seversky Transoceanic Clipper
Model Airplane News Cover Art for August,1938
by Jo Kotula
Click to Enlarge


Jo Kotula was famous for selecting airplanes that were photogenic for the cover of Model Airplane News. On many occasions, they proved to be fabulous flops. This is the only instance that I can find where Kotula illustrated something that didn't exist, a fantastic transatlantic clipper design.

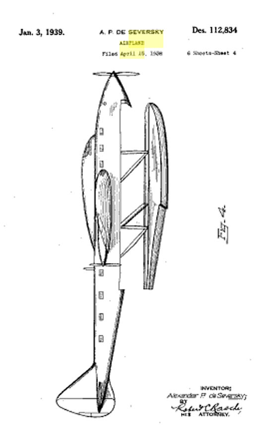
Flamboyant designer Alexander De Seversky proposed a fantastic trans-oceanic super clipper in response to Pan American Airways invitation for bids for a Transatlantic aircraft capable of a 5000 mi range, payload of 25,000 lbs, and 200 mph cruise speed. At this time, Pan Am was about to take delivery on the Boeing 314 boats which were just being built. The seversky proposal was a gigantic 8 engine monstrosity. As shown in the patent diagrams and cover of Model Airplane News, it looked like a gigantic P-38 with a wingspan of 250 feet. The two booms have installed at their forward end two 2000 hp Allison engines geared to drive a single prop, one on each boom. These booms would also accommodate a number of passengers. The booms end in twin fins and rudders and are connected by a stabilizer-elevator.

 The Seversky Transoceanic Clipper Design Patent D-112,834     The Seversky Transoceanic Clipper Design Patent D-112,834     The Seversky Transoceanic Clipper Design Patent D-112,834

 The Seversky Transoceanic Clipper Design Patent D-112,834     The Seversky Transoceanic Clipper Design Patent D-112,834     The Seversky Transoceanic Clipper Design Patent D-112,834

Seversky Transoceanic Clipper Design Patent D-112,834
Click here to download this design patent in its entirety
Click to Enlarge


The center nacelle would contain the flight deck and crew quarters. The rear of the nacelle would mount two more Allisons again geared to drive a single pusher prop. The wing section between the booms would contain more passenger accommodations and staterooms. The outboard wing sections would carry more passengers and also mount two more 2000 hp Allisons each driving a pusher prop, for a total of eight engines. Mounted on the bottom of the twin booms are two immense floats, which are retractable into the bottom of the booms operated by a hydraulic system. The floats also provide space for cargo.

Projected Performance Figures:

  • Top speed: 300 mph
  • Cruise: 200 mph
  • Range: 5000 mi.
  • Payload: 43,000 lb.
  • Fuel Cap: 17,000 gal.
  • Passengers: 200
  • Crew: 16

Apparently, Seversky was quite serious about this thing, claiming that 174 engineers were assigned to do a design study. The only contemporary record of the proposed clipper is a photograph showing Seversky with a scale model of the aircraft. That, and the patent diagrams -- he put at least enough people on the job to get a design patent. While researching this, we found an article that appeared in the Pittsburgh Post Gazette on July 25, 1942 in which Col. de Seversky discusses his views on air power.

 Article on Air Power by Col. De Seversky     The Seversky Transoceanic Clipper

Article on Air Power by Col. De Seversky
Pittsburgh Post-Gazette July 25, 1942
Click to Enlarge


Walt Disney took him seriously enough to produce an animated feature called Victory Through Air Power, which you may watch by clicking the link. Col. De Seversky appears in the film.

go to the master list of Model Airplane News Covers

Click to go back and select another cover.




Counter for the Entire Site (not just this page..)


website counter



Home | About Lindy | Last Week's Reviews | Upcoming Events | 1940s Collecibles
The Guide - Establishments - Travel - Accessories
Music | Links | Photo Gallery | Extras | Contact